6 H.P.
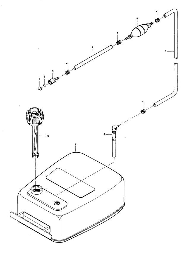
топливный бак и топливопровод
топливный бак и топливопровод
| № | Артикул | Наименование | Деталей в узле | Комментарий | Цена | |
| 1 | SEAL, FUEL LINE COUPLER | 1 | 210 руб. | |||
| 2 | SEAL, FUEL LINE COUPLER | 1 | снято с производства | |||
| 3 | FUEL LINE COUPLER | 1 | 6490 руб. | |||
| 4 | FERRULE | 4 | 820 руб. | |||
| 5 | FUEL LINE SHORT W/FERRULES | 1 | цена по запросу | |||
| 6 | PRIME BULB | 1 | снято с производства | |||
| 7 | FUEL LINE, LONG W/CLAMP AND FERRULE | 1 | снято с производства | |||
| 8 | FUEL TANK ADAPTER | 1 | снято с производства | |||
| 9 | FUEL TANK (ACCESSORY ITEM) | 1 | цена по запросу | |||
| 10 | GAUGE CAP | 1 | снято с производства | |||
| - | FUEL LINE COMPLETE (NOT SHOWN) | 1 | цена по запросу | |||
| - | DECAL (NOT SHOWN) | 1 | снято с производства | |||
| 1 | Art.: SEAL, FUEL LINE COUPLER Деталей в узле: 1 2 | Art.: F213735 SEAL, FUEL LINE COUPLER Деталей в узле: 1 снято с производства 3 | Art.: FUEL LINE COUPLER Деталей в узле: 1 4 | FERRULE Деталей в узле: 4 5 | FUEL LINE SHORT W/FERRULES Деталей в узле: 1 цена по запросу 6 | PRIME BULB Деталей в узле: 1 снято с производства 7 | Art.: 32-817738A1 FUEL LINE, LONG W/CLAMP AND FERRULE Деталей в узле: 1 снято с производства 8 | Art.: F487755 FUEL TANK ADAPTER Деталей в узле: 1 |
