Товаров в корзине: 0
на сумму: 0 руб.

ЗАО "Моторсервис" авторизированный дилер "Mercury" и "Mercruiser"

ВНИМАНИЕ:
9 марта (понедельник) - выходной день

75 AND 90 H.P.

 | 
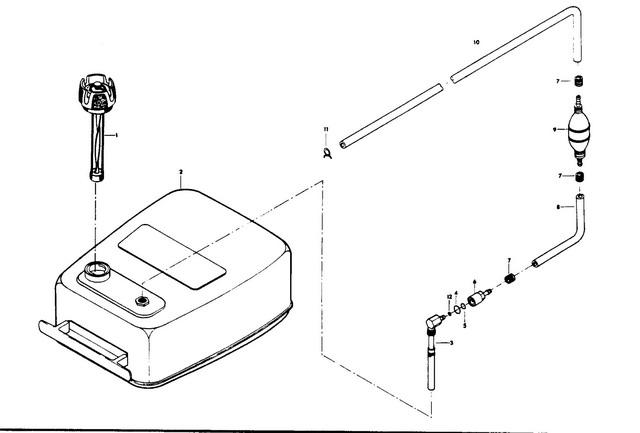
топливный бак и топливопровод

топливный бак и топливопровод

АртикулНаименованиеДеталей в узлеКомментарийЦена
1GAUGE CAP1снято с производства
2
F71H08
FUEL TANK (ACCESSORY ITEM)1цена по запросу
3
F485755
FUEL TANK ADAPTER1цена по запросу
4
F213342
SEAL, FUEL LINE COUPLER (LARGE)1210 руб.
5SEAL, FUEL LINE COUPLER (SMALL)1снято с производства
6
F197787-2
FUEL LINE COUPLER1цена по запросу
7
F298788
54-415827
FERRULE3820 руб.
8
FA84754-1
32-81924867
FUEL LINE SHORT W/FERRULES1цена по запросу
9
89396A38
89396Q38
PRIME BULB1снято с производства
10FUEL LINE LONG W/CLAMP AND FERRULE1снято с производства
11
F97772
FUEL LINE CLAMP1цена по запросу
12
F17932
SEAL, FUEL TANK ADAPTER1снято с производства
-
FS409752
32-822379A12
FUEL LINE COMPLETE (NOT SHOWN)1цена по запросу
1
Art.: F409251-1
GAUGE CAP
Деталей в узле: 1
снято с производства
2
Art.: F71H08 F71H08
FUEL TANK (ACCESSORY ITEM)
Деталей в узле: 1
цена по запросу
3
Art.: F485755 F485755
FUEL TANK ADAPTER
Деталей в узле: 1
цена по запросу
4
Art.: F213342 F17816
SEAL, FUEL LINE COUPLER (LARGE)
Деталей в узле: 1
210 руб. 
5
Art.: F213735
SEAL, FUEL LINE COUPLER (SMALL)
Деталей в узле: 1
снято с производства
6
Art.: F197787-2 F197787-2
FUEL LINE COUPLER
Деталей в узле: 1
цена по запросу
7
Art.: F298788 54-415827 54-41582Q7
FERRULE
Деталей в узле: 3
820 руб. 
8
Art.: FA84754-1 32-81924867 32-99127109
FUEL LINE SHORT W/FERRULES
Деталей в узле: 1
цена по запросу
9
Art.: 89396A38 89396Q38 -89396Q01
PRIME BULB
Деталей в узле: 1
снято с производства
10
FUEL LINE LONG W/CLAMP AND FERRULE
Деталей в узле: 1
снято с производства
11
Art.: F97772 F97772
FUEL LINE CLAMP
Деталей в узле: 1
цена по запросу
12
Art.: F17932 F17817
SEAL, FUEL TANK ADAPTER
Деталей в узле: 1
снято с производства
-
Art.: FS409752 32-822379A12 32-858623A12
FUEL LINE COMPLETE (NOT SHOWN)
Деталей в узле: 1
цена по запросу

Яндекс.Метрика