FORCE 1987 125 H.P.
STARTER
STARTER
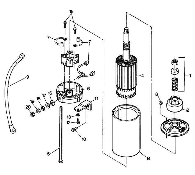
| № | Артикул | Наименование | Деталей в узле | Комментарий | Цена | |
| 1 | комплект приводной шестерни | 1 | 7790 руб. | |||
| 2 | DRIVE ASSEMBLY PINION | 1 | цена по запросу | |||
| 3 | CAP STARTER DRIVE | 1 | снято с производства | |||
| 4 | сердечник | 1 | снято с производства | |||
| 5 | THRU BOLT PACKAGE | 1 | снято с производства | |||
| 6 | COMMUTATOR | 1 | снято с производства | |||
| 7 | комплект контактной щетки | 1 | снято с производства | |||
| 8 | LOCK NUT | 2 | цена по запросу | |||
| 9 | провод | 1 | снято с производства | |||
| 10 | HEX CAP SCREW, 1/4 - 20 X 5/8 | 1 | снято с производства | |||
| 11 | STARTER BRACKET LOWER | 1 | снято с производства | |||
| 12 | HEX HD. CAP SCREW, 1/4 - 20 X 5/8 | 1 | цена по запросу | |||
| 13 | SPRING LOCKWASHER | 1 | цена по запросу | |||
| 14 | STARTER COMPLETE. | 1 | INCLUDES ALL ITEMS MARKED WITH AN ASTERISK (*). | цена по запросу | ||
| 15 | SCREW, BRUSH HOLDER | 1 | снято с производства | |||
| 16 | INSULATOR WASHER | 1 | снято с производства | |||
| 17 | PLAIN WASHER | 1 | цена по запросу | |||
| 18 | стопорная шайба | 1 | цена по запросу | |||
| 19 | гайка | 1 | цена по запросу | |||
| 20 | гайка | 1 | снято с производства | |||
| 1 | Art.: комплект приводной шестерни Деталей в узле: 1 2 | DRIVE ASSEMBLY PINION Деталей в узле: 1 цена по запросу 3 | Art.: CAP STARTER DRIVE Деталей в узле: 1 снято с производства 4 | Art.: F15177 сердечник Деталей в узле: 1 снято с производства 5 | Art.: F15178 THRU BOLT PACKAGE Деталей в узле: 1 снято с производства 6 | Art.: F15179 COMMUTATOR Деталей в узле: 1 снято с производства 7 | комплект контактной щетки Деталей в узле: 1 снято с производства 8 | Art.: LOCK NUT Деталей в узле: 2 цена по запросу 9 | Art.: F85908-1 провод Деталей в узле: 1 снято с производства 10 | Art.: F1922 HEX CAP SCREW, 1/4 - 20 X 5/8 Деталей в узле: 1 снято с производства 11 | Art.: F616675 STARTER BRACKET LOWER Деталей в узле: 1 снято с производства 12 | Art.: HEX HD. CAP SCREW, 1/4 - 20 X 5/8 Деталей в узле: 1 цена по запросу 13 | Art.: SPRING LOCKWASHER Деталей в узле: 1 |
