40/50/60 (4 CYLINDER) CARB 4-STROKE
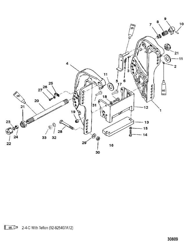
кронштейн крепления к транцу
кронштейн крепления к транцу
| № | Артикул | Наименование | Деталей в узле | Комментарий | Цена | |
| 1 | кронштейн крепления к транцу в сборе | 1 | (PORT) | 88430 руб. | ||
| 2 | пресс-масленка | 1 | цена по запросу | |||
| 3 | Канавчатый штифт | 1 | 560 руб. | |||
| 4 | кронштейн крепления к транцу | 1 | (STARBOARD) | 81480 руб. | ||
| 5 | рычаг фиксатора наклона в сборе | 1 | 26520 руб. | |||
| 6 | Пружина | 1 | 930 руб. | |||
| 7 | нейлоновая втулка | 1 | 340 руб. | |||
| 8 | Пружина | 1 | 600 руб. | |||
| 9 | кнопка | 1 | 1880 руб. | |||
| 10 | Канавчатый штифт | 1 | 530 руб. | |||
| 11 | шайба | 2 | 630 руб. | |||
| 12 | Анкерный кронштейн | 1 | снято с производства | |||
| 13 | комплект анода | 1 | 2890 руб. | |||
| 14 | Винт (M6 x 25) | 2 | цена по запросу | |||
| 15 | шайба (0.281 x 0.500 x 0.060) нержавеющая сталь | 2 | цена по запросу | |||
| 16 | Винт (M8 x 30) | 5 | (30 MM) | 300 руб. | ||
| 17 | Винт (M8 x 35) | 1 | (35 MM) | 490 руб. | ||
| 18 | стопорная шайба (М8) | 4 | 410 руб. | |||
| 19 | Гайка (М8), нержавеющая сталь | 2 | 290 руб. | |||
| 20 | труба механизма наклона | 1 | цена по запросу | |||
| 21 | Гайка (0.875-14) | 2 | 530 руб. | |||
| 22 | Уплотнительный комплект | 1 | (NON-HANDLE) | 1070 руб. | ||
| 23 | уплотнительное кольцо (0.583 x 0.103) | 1 | (NON-HANDLE) | 210 руб. | ||
| 24 | проставка | 1 | (NON-HANDLE) | 210 руб. | ||
| 25 | зажим | 2 | 500 руб. | |||
| 26 | С-образная шайба | 1 | 130 руб. | |||
| 27 | Винт (#10-16 x 0.600) | 1 | 270 руб. | |||
| 28 | винт (0.500-20 x 4.00) | 4 | 2920 руб. | |||
| 29 | Шайба (1.5 x 3.05 x 0.13), нержавеющая сталь | 4 | цена по запросу | |||
| 30 | Гайка (0.500-20) | 4 | 760 руб. | |||
| 31 | винт (M10 x 40) нержавеющая сталь | 2 | 1650 руб. | |||
| 32 | шайба | 2 | 310 руб. | |||
| 33 | Гайка (М10) | 2 | 280 руб. | |||
| 1 | Art.: кронштейн крепления к транцу в сборе ((PORT))Деталей в узле: 1 2 | Art.: 22-98727 пресс-масленка Деталей в узле: 1 цена по запросу
3 | Art.: 17-99604 Канавчатый штифт Деталей в узле: 1 4 | Art.: кронштейн крепления к транцу ((STARBOARD))Деталей в узле: 1 5 | Art.: рычаг фиксатора наклона в сборе Деталей в узле: 1 6 | Art.: 24-99622 Пружина Деталей в узле: 1 7 | Art.: 23-65830 нейлоновая втулка Деталей в узле: 1 8 | Art.: 24-812708 Пружина Деталей в узле: 1 9 | Art.: кнопка Деталей в узле: 1 10 | Art.: 17-99615 Канавчатый штифт Деталей в узле: 1 11 | Art.: 12-19619 шайба Деталей в узле: 2 12 | Art.: 18486F5 Анкерный кронштейн Деталей в узле: 1 снято с производства 13 | Art.: 818298Q1 комплект анода Деталей в узле: 1 14 | Art.: 10-4000330 Винт (M6 x 25) Деталей в узле: 2 цена по запросу
15 | Art.: 12-29245 шайба (0.281 x 0.500 x 0.060) нержавеющая сталь Деталей в узле: 2 цена по запросу
16 | Art.: 10-4000354 Винт (M8 x 30) ((30 MM))Деталей в узле: 5 17 | Art.: 10-4000355 Винт (M8 x 35) ((35 MM))Деталей в узле: 1 18 | Art.: 13-400257 стопорная шайба (М8) Деталей в узле: 4 19 | Art.: 11-401388 Гайка (М8), нержавеющая сталь Деталей в узле: 2 20 | труба механизма наклона Деталей в узле: 1 цена по запросу 21 | Art.: 11-858869 Гайка (0.875-14) Деталей в узле: 2 22 | Art.: 19624A1 Уплотнительный комплект ((NON-HANDLE))Деталей в узле: 1 23 | Art.: 25-29619 уплотнительное кольцо (0.583 x 0.103) ((NON-HANDLE))Деталей в узле: 1 24 | Art.: 23-78861 проставка ((NON-HANDLE))Деталей в узле: 1 25 | Art.: 54-22740 зажим Деталей в узле: 2 26 | Art.: С-образная шайба Деталей в узле: 1 27 | Art.: 10-878609 Винт (#10-16 x 0.600) Деталей в узле: 1 28 | Art.: 10-814259 винт (0.500-20 x 4.00) Деталей в узле: 4 29 | Art.: 12-28421 Шайба (1.5 x 3.05 x 0.13), нержавеющая сталь Деталей в узле: 4 цена по запросу
30 | Art.: 11-82671117 Гайка (0.500-20) Деталей в узле: 4 31 | Art.: 10-4009040 винт (M10 x 40) нержавеющая сталь Деталей в узле: 2 32 | Art.: 12-4002319 шайба Деталей в узле: 2 33 | Art.: 11-40140 Гайка (М10) Деталей в узле: 2 | ||||||||||||||||||||||||||||||||||
