20 HP
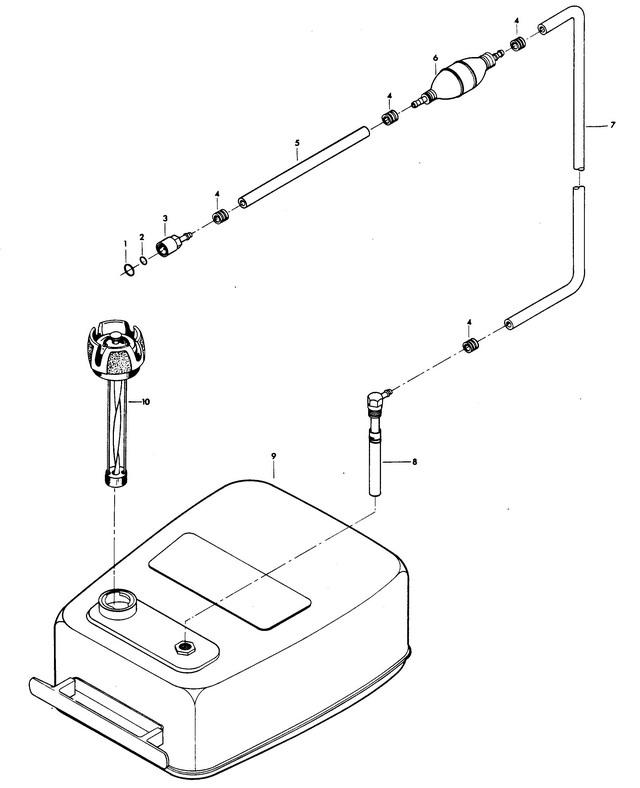
топливный бак и топливопровод
топливный бак и топливопровод
| № | Артикул | Наименование | Деталей в узле | Комментарий | Цена | |
| 1 | SEAL, FUEL LINE COUPLER | 1 | 210 руб. | |||
| 2 | SEAL, FUEL LINE COUPLER | 1 | снято с производства | |||
| 3 | FUEL LINE COUPLER | 1 | 6490 руб. | |||
| 4 | FERRULE | 4 | 820 руб. | |||
| 5 | FUEL LINE SHORT | 1 | W/ILLUS. 4 | цена по запросу | ||
| 6 | PRIME BULB | 1 | снято с производства | |||
| 7 | FUEL LINE, LONG W/CLAMPS | 1 | ILLUS. 4 ORIGINAL FORCE P/N A 197752-1 | снято с производства | ||
| 8 | FUEL TANK ADAPTER | 1 | снято с производства | |||
| 9 | FUEL TANK (ACCESSORY ITEM) | 1 | цена по запросу | |||
| 10 | GAUGE CAP | 1 | снято с производства | |||
| - | FUEL LINE COMPLETE - (NOT SHOWN) | 1 | INCLUDES ITEMS MARKED WITH AN ASTERISK (*) | цена по запросу | ||
| - | DECAL, TOTE TANK - CANADA (NOT SHOWN) | 1 | снято с производства | |||
| 1 | Art.: SEAL, FUEL LINE COUPLER Деталей в узле: 1 2 | Art.: F213735 SEAL, FUEL LINE COUPLER Деталей в узле: 1 снято с производства 3 | Art.: FUEL LINE COUPLER Деталей в узле: 1 4 | FERRULE Деталей в узле: 4 5 | FUEL LINE SHORT (W/ILLUS. 4)Деталей в узле: 1 цена по запросу 6 | PRIME BULB Деталей в узле: 1 снято с производства 7 | Art.: 32-817738A1 FUEL LINE, LONG W/CLAMPS (ILLUS. 4 ORIGINAL FORCE P/N A 197752-1)Деталей в узле: 1 снято с производства 8 | Art.: F487755 FUEL TANK ADAPTER Деталей в узле: 1 снято с производства 9 | Art.: FUEL TANK (ACCESSORY ITEM) Деталей в узле: 1 |
