45 H.P
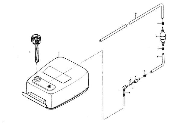
топливный бак и топливопровод
топливный бак и топливопровод
| № | Артикул | Наименование | Деталей в узле | Комментарий | Цена | |
| 1 | GAUGE CAP | 1 | снято с производства | |||
| 2 | FUEL TANK (ACCESSORY ITEM) | 1 | цена по запросу | |||
| 3 | FUEL TANK ADAPTER | 1 | снято с производства | |||
| 4 | SEAL, FUEL LINE COUPLER (LARGE) | 1 | 200 руб. | |||
| 5 | SEAL, FUEL LINE COUPLER (SMALL) | 1 | снято с производства | |||
| 6 | FUEL LINE COUPLER | 1 | 6170 руб. | |||
| 7 | FERRULE | 3 | 780 руб. | |||
| 8 | FUEL LINE SHORT W/FERRULES | 1 | цена по запросу | |||
| 9 | PRIME BULB | 1 | снято с производства | |||
| 10 | FUEL LINE, LONG W/CLAMP AND FERRULE | 1 | снято с производства | |||
| 11 | SEAL, FUEL TANK ADAPTER | 1 | снято с производства | |||
| - | FUEL LINE - COMPLETE | 1 | INCLUDES ITEMS MARKED WITH AN ASTERISK (*) | цена по запросу | ||
| - | DECAL, TOTE TANK - CANADA (NOT SHOWN) | 1 | снято с производства | |||
| 1 | Art.: F409251-1 GAUGE CAP Деталей в узле: 1 снято с производства 2 | Art.: FUEL TANK (ACCESSORY ITEM) Деталей в узле: 1 цена по запросу 3 | Art.: F485755-1 FUEL TANK ADAPTER Деталей в узле: 1 снято с производства 4 | Art.: SEAL, FUEL LINE COUPLER (LARGE) Деталей в узле: 1 5 | Art.: F213735 SEAL, FUEL LINE COUPLER (SMALL) Деталей в узле: 1 снято с производства 6 | Art.: FUEL LINE COUPLER Деталей в узле: 1 7 | FERRULE Деталей в узле: 3 8 | FUEL LINE SHORT W/FERRULES Деталей в узле: 1 цена по запросу 9 | PRIME BULB Деталей в узле: 1 снято с производства 10 | Art.: 32-817738A1 FUEL LINE, LONG W/CLAMP AND FERRULE Деталей в узле: 1 |
