FORCE 1986 125 H.P.
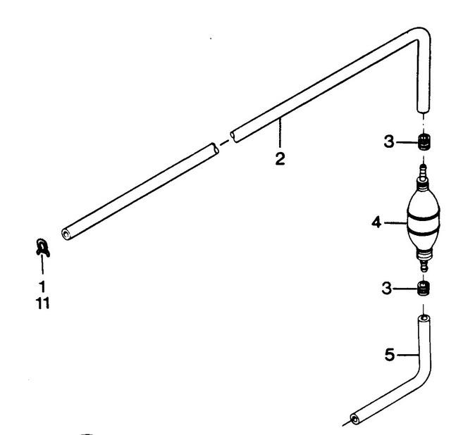
Топливопровод
Топливопровод
| № | Артикул | Наименование | Деталей в узле | Комментарий | Цена | |
| 1 | FUEL LINE CLAMP | 1 | цена по запросу | |||
| 2 | Топливопровод | 1 | W/ILLUS. 7 (QTY. 1) AND 11 10 FT. (CUT AS REQUIRED) ORIGINAL FORCE P/N A 197752-1 | снято с производства | ||
| 3 | FERRULE | 2 | 820 руб. | |||
| 4 | PRIME BULB | 1 | снято с производства | |||
| 5 | FUEL LINE SHORT W/FERRULES | 1 | цена по запросу | |||
| - | FUEL LINE COMPLETE | 1 | INCLUDES ALL ITEMS MARKED WITH AN ASTERISK (*) 10 FOOT LONG | цена по запросу | ||
| 1 | Art.: FUEL LINE CLAMP Деталей в узле: 1 цена по запросу 2 | Art.: 32-817738A1 Топливопровод (W/ILLUS. 7 (QTY. 1) AND 11 10 FT. (CUT AS REQUIRED) ORIGINAL FORCE P/N A 197752-1)Деталей в узле: 1 снято с производства 3 | FERRULE Деталей в узле: 2 4 | PRIME BULB Деталей в узле: 1 снято с производства 5 | FUEL LINE SHORT W/FERRULES Деталей в узле: 1 цена по запросу - | FUEL LINE COMPLETE (INCLUDES ALL ITEMS MARKED WITH AN ASTERISK (*) 10 FOOT LONG)Деталей в узле: 1 цена по запросу | |||||||
