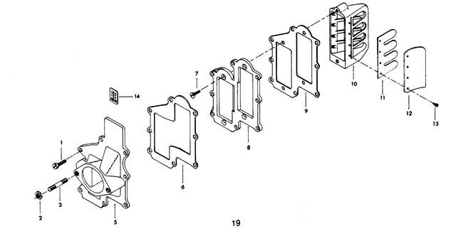
45 H.P
REED PLATE
REED PLATE
| № | Артикул | Наименование | Деталей в узле | Комментарий | Цена | |
| 1 | HEX HD SCREW, 1/4 - 20 X 7/8 | 8 | снято с производства | |||
| 2 | HEX NUT, 5/16 - 18 | 2 | цена по запросу | |||
| 3 | CARBURETOR STUD | 2 | снято с производства | |||
| 5 | CARBURETOR ADAPTER FLANGE W/STUDS | 1 | снято с производства | |||
| 6 | CARBURETOR ADAPTER GASKET | 1 | 240 руб. | |||
| 7 | FLAT HD SCREW, 10 - 24 X 1/2 | 4 | цена по запросу | |||
| 8 | DEFLECTOR PLATE | 1 | снято с производства | |||
| 9 | DEFLECTOR PLATE GASKET | 1 | 560 руб. | |||
| 10 | REED PLATE W/REEDS, STOPS AND SCREWS | 2 | снято с производства | |||
| 11 | REED | 4 | 5320 руб. | |||
| 12 | REED STOP | 4 | цена по запросу | |||
| 13 | ROUND HD SCREW W/LOCKWASHER, 6 - 32 X 1/4 | 16 | цена по запросу | |||
| 14 | DECAL, TIMING | 1 | W/LITERATURE ORIGINAL FORCE P/N A 433387-1 | снято с производства | ||
| 1 | Art.: HEX HD SCREW, 1/4 - 20 X 7/8 Деталей в узле: 8 снято с производства 2 | Art.: HEX NUT, 5/16 - 18 Деталей в узле: 2 цена по запросу 3 | Art.: CARBURETOR STUD Деталей в узле: 2 снято с производства 5 | Art.: FA433167 CARBURETOR ADAPTER FLANGE W/STUDS Деталей в узле: 1 снято с производства 6 | Art.: F433168 CARBURETOR ADAPTER GASKET Деталей в узле: 1 7 | Art.: FLAT HD SCREW, 10 - 24 X 1/2 Деталей в узле: 4 цена по запросу 8 | Art.: DEFLECTOR PLATE Деталей в узле: 1 снято с производства 9 | Art.: F433406 DEFLECTOR PLATE GASKET Деталей в узле: 1 10 | Art.: REED PLATE W/REEDS, STOPS AND SCREWS Деталей в узле: 2 снято с производства 11 | Art.: REED Деталей в узле: 4 12 | Art.: REED STOP Деталей в узле: 4 цена по запросу 13 | ROUND HD SCREW W/LOCKWASHER, 6 - 32 X 1/4 Деталей в узле: 16 цена по запросу
14 | Art.: 37-817792A1 DECAL, TIMING (W/LITERATURE ORIGINAL FORCE P/N A 433387-1)Деталей в узле: 1 снято с производства | ||||||||||||||
