75/80/90/100/115 EFI 4-STROKE
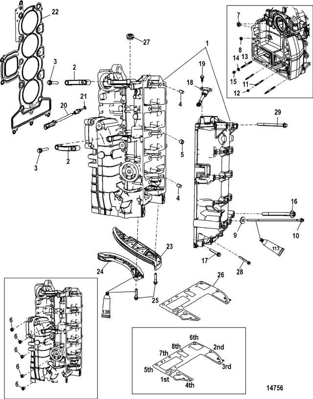
Блок цилиндров
Блок цилиндров
| № | Артикул | Наименование | Деталей в узле | Комментарий | Цена | |
| 1 | Блок цилиндров в сборе | 1 | 369570 руб. | |||
| 2 | кронштейн | 2 | SN# 1B759587 & Below | 11510 руб. | ||
| 3 | SCREW, (M8 x 40), NOTE:No Longer included with Longblock | 4 | SN# 1B759587 & Below | 510 руб. | ||
| 4 | посадочный штифт без отверстия (0.375 x 0.625) | 2 | 270 руб. | |||
| 5 | амортизатор | 10 | 450 руб. | |||
| 6 | пробка (12 мм) | 5 | 610 руб. | |||
| 7 | пробка (24 мм) | 2 | 1860 руб. | |||
| 8 | пробка (14 мм) | 1 | 740 руб. | |||
| 9 | шайба | 10 | 180 руб. | |||
| 10 | Винт (М10 х 342) | 10 | 4940 руб. | |||
| 11 | Шпилька (М8 х 55) | 2 | 2440 руб. | |||
| 12 | Гайка (М8) | 2 | 640 руб. | |||
| 13 | Шпилька (М10 х 1.5) | 6 | 1630 руб. | |||
| 14 | Шайба (0.406 x 0.750 x 0.105), нержавеющая сталь | 6 | цена по запросу | |||
| 15 | гайка | 6 | 600 руб. | |||
| 16 | Винт (М10 х 120) | 2 | цена по запросу | |||
| 17 | Винт (М8 х 50) | 2 | цена по запросу | |||
| 18 | датчик | 1 | 14880 руб. | |||
| 19 | Винт (М5 х 13), нержавеющая сталь | 2 | 210 руб. | |||
| 20 | датчик в сборе | 1 | 5060 руб. | |||
| 21 | уплотнительное кольцо (1.78 x 0.08 мм) | 1 | 1130 руб. | |||
| 22 | Прокладка головки | 1 | SN# 1B494359 & Below | 34780 руб. | ||
| 22 | Прокладка | 1 | SN# 1B494360 & Up | 34780 руб. | ||
| 23 | Неподвижная направляющая | 1 | 6370 руб. | |||
| 24 | Подвижная направляющая | 1 | 8120 руб. | |||
| 25 | винт | 2 | 320 руб. | |||
| 26 | Прокладка между блоком и переходником | 1 | SN# 1B500083 & Below | 7280 руб. | ||
| 26 | Прокладка между блоком и переходником | 1 | SN# 1B500084 & Up | 7280 руб. | ||
| 27 | пробка (18 мм) | 1 | 3410 руб. | |||
| 28 | Винт (М8 х 70) | 2 | 540 руб. | |||
| 29 | Винт (М8 х 90) | 8 | 470 руб. | |||
| - | силовой агрегат без навесного оборудования, коллекторов и маховика (75/80/90/100) | 1 | цена по запросу | |||
| - | набор прокладок силового агрегата | 1 | 51390 руб. | |||
| - | силовой агрегат без навесного оборудования, коллекторов и маховика (115) | 1 | 1461210 руб. | |||
| 1 | Art.: 800-880504A12 Блок цилиндров в сборе Деталей в узле: 1 2 | Art.: 8M0007889 кронштейн (SN# 1B759587 & Below)Деталей в узле: 2 3 | Art.: SCREW, (M8 x 40), NOTE:No Longer included with Longblock (SN# 1B759587 & Below)Деталей в узле: 4 4 | Art.: 17-43044 посадочный штифт без отверстия (0.375 x 0.625) Деталей в узле: 2 5 | Art.: 23-893392001 амортизатор Деталей в узле: 10 6 | Art.: пробка (12 мм) Деталей в узле: 5 7 | Art.: 19-896951 пробка (24 мм) Деталей в узле: 2 8 | Art.: пробка (14 мм) Деталей в узле: 1 9 | Art.: 12-892573001 шайба Деталей в узле: 10 10 | Винт (М10 х 342) Деталей в узле: 10 11 | Art.: Шпилька (М8 х 55) Деталей в узле: 2 12 | Art.: 11-826365 Гайка (М8) Деталей в узле: 2 13 | Art.: Шпилька (М10 х 1.5) Деталей в узле: 6 14 | Art.: 12-856774 Шайба (0.406 x 0.750 x 0.105), нержавеющая сталь Деталей в узле: 6 цена по запросу
15 | Art.: 11-884412 гайка Деталей в узле: 6 16 | Art.: 10-892086120 Винт (М10 х 120) Деталей в узле: 2 цена по запросу
17 | Art.: 10-895810050 Винт (М8 х 50) Деталей в узле: 2 цена по запросу
18 | датчик Деталей в узле: 1 19 | Art.: 10-40011106 Винт (М5 х 13), нержавеющая сталь Деталей в узле: 2 20 | Art.: датчик в сборе Деталей в узле: 1 21 | Art.: 25-896699 уплотнительное кольцо (1.78 x 0.08 мм) Деталей в узле: 1 22 | Art.: Прокладка головки (SN# 1B494359 & Below)Деталей в узле: 1 22 | Art.: 27-8M0024565 Прокладка (SN# 1B494360 & Up)Деталей в узле: 1 23 | Art.: 880559 Неподвижная направляющая Деталей в узле: 1 24 | Art.: 880557 Подвижная направляющая Деталей в узле: 1 25 | Art.: 10-892456045 винт Деталей в узле: 2 26 | Art.: Прокладка между блоком и переходником (SN# 1B500083 & Below)Деталей в узле: 1 26 | Art.: 27-8M0024563 Прокладка между блоком и переходником (SN# 1B500084 & Up)Деталей в узле: 1 27 | Art.: 19-891953 пробка (18 мм) Деталей в узле: 1 28 | Art.: 10-895810070 Винт (М8 х 70) Деталей в узле: 2 29 | Art.: 10-895810090 Винт (М8 х 90) Деталей в узле: 8 - | Art.: 61-897148A09 силовой агрегат без навесного оборудования, коллекторов и маховика (75/80/90/100) Деталей в узле: 1 цена по запросу
- | Art.: 27-897534A07 набор прокладок силового агрегата Деталей в узле: 1 - | Art.: 61-897148A08 силовой агрегат без навесного оборудования, коллекторов и маховика (115) Деталей в узле: 1 | |||||||||||||||||||||||||||||||||||
