35 HP
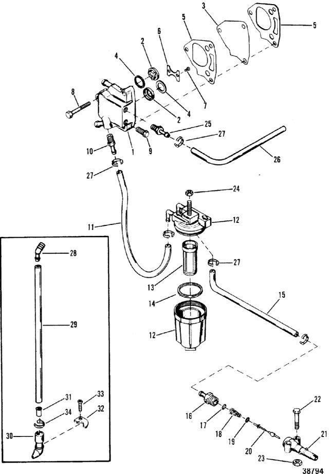
Топливный насос и топливопровод
Топливный насос и топливопровод
| № | Артикул | Наименование | Деталей в узле | Комментарий | Цена | |
| 1 | Топливный насос в сборе | 1 | снято с производства | |||
| 2 | обратный клапан в сборе | 1 | цена по запросу | |||
| 3 | комплект диафрагмы | 1 | 880 руб. | |||
| 4 | NSS | Не продается по отдельности, прокладка | 2 | |||
| 5 | NSS | Не продается по отдельности, прокладка | 2 | |||
| 6 | фиксатор обратного клапана | 1 | снято с производства | |||
| 7 | SCREW, (#6-32 x .380), RETAINRER TO HOUSING | 2 | 210 руб. | |||
| 8 | винт крепления топливного насоса (1 5/8") | 3 | цена по запросу | |||
| 9 | PLUG, Pipe (.125-27), FUEL PUMP | 1 | 710 руб. | |||
| 10 | впускной фиттинг насоса | 1 | 1280 руб. | |||
| 11 | LINE, (57.00 Inches Bulk), FUEL FILTER TO PUMP (9") | 1 | цена по запросу | |||
| 12 | Топливный фильтр в сборе | 1 | цена по запросу | |||
| 13 | Фильтр в сборе | 1 | 1750 руб. | |||
| 14 | Уплотнение топливного фильтра | 1 | 300 руб. | |||
| 15 | LINE, (57.00 Inches Bulk), ADAPTOR TO FUEL FILTER (11") | 1 | цена по запросу | |||
| 16 | FITTING, Barb (.250-18), FUEL LINE TO ADAPTOR | 1 | 1840 руб. | |||
| 17 | шайба переходника | 1 | 210 руб. | |||
| 18 | SPRING, ADAPTOR STEM | 1 | 460 руб. | |||
| 19 | O-RING, ADAPTOR STEM | 1 | цена по запросу | |||
| 20 | STEM, CHECK UNIT ADAPTOR | 1 | цена по запросу | |||
| 21 | ADAPTOR, CHECK UNIT (FUEL PUMP) | 1 | 8980 руб. | |||
| 22 | SCREW, (.250-28 x 1.250), ADAPTOR TO BOTTOM COWL | 2 | 280 руб. | |||
| 23 | Гайка винта переходника | 2 | 510 руб. | |||
| 24 | NUT, (M6) Stainless Steel, FUEL FILTER | 1 | 230 руб. | |||
| 25 | выпускной фиттинг насоса | 1 | 1280 руб. | |||
| 26 | LINE, (57.00 Inches Bulk), PUMP TO CARBURETOR (12-3/4") | 1 | цена по запросу | |||
| 27 | зажим присоединения топливопровода | 8 | снято с производства | |||
| 28 | ELBOW, TELL TALE HOSE TO BLOCK | 1 | цена по запросу | |||
| 29 | HOSE, TELL TALE (6") | 1 | цена по запросу | |||
| 30 | NOZZLE, TELL TALE HOSE TO COWL | 1 | 900 руб. | |||
| 31 | SLEEVE, NOZZLE | 1 | 800 руб. | |||
| 32 | зажим распылителя | 1 | снято с производства | |||
| 33 | SCREW, (#10-16 x .625) Stainless Steel, CLAMP TO BOTTOM COWL | 1 | 200 руб. | |||
| 34 | TIE STRAP, (4.00 Inches), NOZZLE | 1 | 30 руб. | |||
| - | Набор прокладок | 1 | 8760 руб. | |||
| 1 | Art.: 76575A9 Топливный насос в сборе Деталей в узле: 1 снято с производства 2 | Art.: обратный клапан в сборе Деталей в узле: 1 цена по запросу
3 | Art.: комплект диафрагмы Деталей в узле: 1 4 | Art.: -NSS Не продается по отдельности, прокладка Деталей в узле: 2 5 | Art.: -NSS Не продается по отдельности, прокладка Деталей в узле: 2 6 | Art.: 23004 фиксатор обратного клапана Деталей в узле: 1 снято с производства 7 | Art.: 10-43725 SCREW, (#6-32 x .380), RETAINRER TO HOUSING Деталей в узле: 2 8 | Art.: винт крепления топливного насоса (1 5/8") Деталей в узле: 3 цена по запросу 9 | PLUG, Pipe (.125-27), FUEL PUMP Деталей в узле: 1 10 | Art.: 22-64705 впускной фиттинг насоса Деталей в узле: 1 11 | LINE, (57.00 Inches Bulk), FUEL FILTER TO PUMP (9") Деталей в узле: 1 цена по запросу 12 | Топливный фильтр в сборе Деталей в узле: 1 цена по запросу 13 | Фильтр в сборе Деталей в узле: 1 14 | Art.: Уплотнение топливного фильтра Деталей в узле: 1 15 | LINE, (57.00 Inches Bulk), ADAPTOR TO FUEL FILTER (11") Деталей в узле: 1 цена по запросу 16 | Art.: 22-63187 FITTING, Barb (.250-18), FUEL LINE TO ADAPTOR Деталей в узле: 1 17 | Art.: 30188 шайба переходника Деталей в узле: 1 18 | Art.: SPRING, ADAPTOR STEM Деталей в узле: 1 19 | Art.: O-RING, ADAPTOR STEM Деталей в узле: 1 цена по запросу 20 | Art.: 23069 STEM, CHECK UNIT ADAPTOR Деталей в узле: 1 цена по запросу
21 | Art.: 22833 ADAPTOR, CHECK UNIT (FUEL PUMP) Деталей в узле: 1 22 | Art.: 10-56500 SCREW, (.250-28 x 1.250), ADAPTOR TO BOTTOM COWL Деталей в узле: 2 23 | Art.: 11-36069 Гайка винта переходника Деталей в узле: 2 24 | Art.: 11-400212 NUT, (M6) Stainless Steel, FUEL FILTER Деталей в узле: 1 25 | Art.: 22-64705 выпускной фиттинг насоса Деталей в узле: 1 26 | LINE, (57.00 Inches Bulk), PUMP TO CARBURETOR (12-3/4") Деталей в узле: 1 цена по запросу 27 | Art.: 54-68424 зажим присоединения топливопровода Деталей в узле: 8 снято с производства 28 | ELBOW, TELL TALE HOSE TO BLOCK Деталей в узле: 1 цена по запросу
29 | HOSE, TELL TALE (6") Деталей в узле: 1 цена по запросу 30 | Art.: 69791 NOZZLE, TELL TALE HOSE TO COWL Деталей в узле: 1 31 | Art.: 23-90882 SLEEVE, NOZZLE Деталей в узле: 1 32 | Art.: 66849 зажим распылителя Деталей в узле: 1 снято с производства 33 | Art.: 10-48409 SCREW, (#10-16 x .625) Stainless Steel, CLAMP TO BOTTOM COWL Деталей в узле: 1 34 | Art.: 56762 TIE STRAP, (4.00 Inches), NOZZLE Деталей в узле: 1 - | Art.: 27-78028A78 Набор прокладок Деталей в узле: 1 | ||||||||||||||||||||||||||||||||||||
