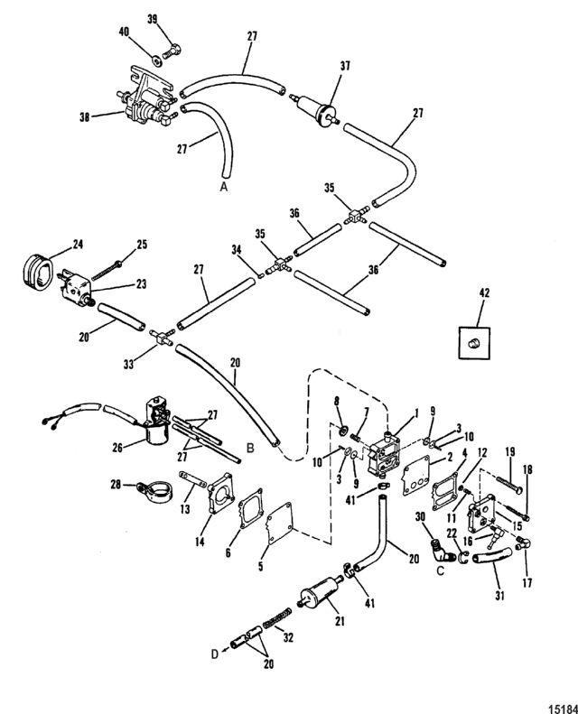
100 / 115 HP (4 CYLINDER)
Fuel Pump(Use With 90 Degree Check Valve Reference #16)
Fuel Pump(Use With 90 Degree Check Valve Reference #16)
| № | Артикул | Наименование | Деталей в узле | Комментарий | Цена | |
| 1 | Топливный насос в сборе | 1 | цена по запросу | |||
| 2 | комплект диафрагмы | 1 | 2190 руб. | |||
| 3 | NSS | не продается по отдельности, обратный клапан | 2 | |||
| 4 | NSS | NOT SOLD SEPARATE, Gasket, Boost | 1 | |||
| 5 | NSS | не продается по отдельности, диафрагма | 1 | |||
| 6 | NSS | NOT SOLD SEPARATE, Gasket, Pulse | 1 | |||
| 7 | NSS | Не продается по отдельности, пружина | 1 | |||
| 8 | NSS | Не продается по отдельности, крышка | 1 | |||
| 9 | NSS | не продается по отдельности, обратный клапан | 2 | |||
| 10 | NSS | не продается по отдельности, фиксатор | 2 | |||
| 11 | NSS | Не продается по отдельности, пружина | 1 | |||
| 12 | NSS | Не продается по отдельности, крышка | 1 | |||
| 13 | Прокладка | 1 | цена по запросу | |||
| 14 | основание | 1 | снято с производства | |||
| 15 | Пластина | 1 | снято с производства | |||
| 16 | обратный клапан | 1 | 7970 руб. | |||
| 17 | фиттинг | 1 | снято с производства | |||
| 18 | винт | 2 | 260 руб. | |||
| 19 | Винт (М6 х 50) | 2 | снято с производства | |||
| 20 | труба | 4 | (D = To Carburetor) | цена по запросу | ||
| 21 | Топливный фильтр | 1 | 1060 руб. | |||
| 22 | ленточный хомут (5 1/2") | AR | цена по запросу | |||
| 22 | ленточный хомут (8") | AR | 30 руб. | |||
| 23 | CONNECTOR ASSEMBLY, Fuel - Plastic | 1 | 2810 руб. | |||
| 24 | резиновая втулка | 1 | 790 руб. | |||
| 25 | винт (M6 x 35), нержавеющая сталь | 1 | 260 руб. | |||
| 26 | VALVE, Enrichner | 1 | 20170 руб. | |||
| 27 | труба (длина 38") | 6 | (A = To Lower Tee) (B = To Upper Tee) | цена по запросу | ||
| 28 | зажим | 1 | снято с производства | |||
| 30 | фиттинг | 1 | (C = To Crankcase) | снято с производства | ||
| 31 | LINE, (57.00 Inches Bulk) | 1 | цена по запросу | |||
| 32 | SPRING, Old Design | 1 | снято с производства | |||
| 33 | Т-образный соединитель | 1 | 3960 руб. | |||
| 34 | FLOW RESTRICTOR | 1 | цена по запросу | |||
| 35 | Т-образный соединитель | 2 | цена по запросу | |||
| 36 | труба (длина 20") | 3 | 5780 руб. | |||
| 37 | Топливный фильтр | 1 | цена по запросу | |||
| 38 | PUMP ASSEMBLY, Accelerator, Repair Kit, 1395-811287 | 1 | цена по запросу | |||
| 39 | Винт (M6 x 16) | 2 | 400 руб. | |||
| 40 | Шайба (0.255 x 0.620 x 0.030), нержавеющая сталь | 2 | 230 руб. | |||
| 41 | CLAMP, (15.7), Old Design, New Design Use Reference Number 22 | 4 | цена по запросу | |||
| 42 | PLUG, Pipe (.0625-27), Non Oil Injection | 1 | 3650 руб. | |||
| - | комплект диафрагмы | 1 | 2190 руб. | |||
| - | Набор прокладок | 1 | 39710 руб. | |||
| 1 | Топливный насос в сборе Деталей в узле: 1 цена по запросу 2 | Art.: комплект диафрагмы Деталей в узле: 1 3 | Art.: -NSS не продается по отдельности, обратный клапан Деталей в узле: 2 4 | Art.: -NSS NOT SOLD SEPARATE, Gasket, Boost Деталей в узле: 1 5 | Art.: -NSS не продается по отдельности, диафрагма Деталей в узле: 1 6 | Art.: -NSS NOT SOLD SEPARATE, Gasket, Pulse Деталей в узле: 1 7 | Art.: -NSS Не продается по отдельности, пружина Деталей в узле: 1 8 | Art.: -NSS Не продается по отдельности, крышка Деталей в узле: 1 9 | Art.: -NSS не продается по отдельности, обратный клапан Деталей в узле: 2 10 | Art.: -NSS не продается по отдельности, фиксатор Деталей в узле: 2 11 | Art.: -NSS Не продается по отдельности, пружина Деталей в узле: 1 12 | Art.: -NSS Не продается по отдельности, крышка Деталей в узле: 1 13 | Art.: 27-987691 Прокладка Деталей в узле: 1 цена по запросу
14 | Art.: 98768 основание Деталей в узле: 1 снято с производства 15 | Art.: 98775A1 Пластина Деталей в узле: 1 снято с производства 16 | Art.: обратный клапан Деталей в узле: 1 17 | Art.: 22-19688 фиттинг Деталей в узле: 1 снято с производства 18 | Art.: винт Деталей в узле: 2 19 | Art.: 10-40057134 Винт (М6 х 50) Деталей в узле: 2 снято с производства 20 | труба ((D = To Carburetor))Деталей в узле: 4 цена по запросу 21 | Топливный фильтр Деталей в узле: 1 22 | Art.: 69355 ленточный хомут (5 1/2") Деталей в узле: AR цена по запросу
22 | Art.: ленточный хомут (8") Деталей в узле: AR 23 | Art.: CONNECTOR ASSEMBLY, Fuel - Plastic Деталей в узле: 1 24 | Art.: 25-145091 резиновая втулка Деталей в узле: 1 25 | Art.: 10-4010635 винт (M6 x 35), нержавеющая сталь Деталей в узле: 1 26 | Art.: VALVE, Enrichner Деталей в узле: 1 27 | Art.: 32-1430165 труба (длина 38") ((A = To Lower Tee) (B = To Upper Tee))Деталей в узле: 6 цена по запросу
28 | Art.: 54-F1887 зажим Деталей в узле: 1 снято с производства 30 | Art.: 22-19688 фиттинг ((C = To Crankcase))Деталей в узле: 1 снято с производства 31 | LINE, (57.00 Inches Bulk) Деталей в узле: 1 цена по запросу 32 | Art.: 24-68434 SPRING, Old Design Деталей в узле: 1 снято с производства 33 | Art.: 22-17607 Т-образный соединитель Деталей в узле: 1 34 | Art.: 19-17608 FLOW RESTRICTOR Деталей в узле: 1 цена по запросу
35 | Art.: Т-образный соединитель Деталей в узле: 2 цена по запросу
36 | Art.: труба (длина 20") Деталей в узле: 3 37 | Art.: Топливный фильтр Деталей в узле: 1 цена по запросу 38 | Art.: PUMP ASSEMBLY, Accelerator, Repair Kit, 1395-811287 Деталей в узле: 1 цена по запросу
39 | Art.: 10-4009416 Винт (M6 x 16) Деталей в узле: 2 40 | Art.: 12-69056 Шайба (0.255 x 0.620 x 0.030), нержавеющая сталь Деталей в узле: 2 41 | Art.: 54-13791 CLAMP, (15.7), Old Design, New Design Use Reference Number 22 Деталей в узле: 4 цена по запросу
42 | Art.: 22-56800 PLUG, Pipe (.0625-27), Non Oil Injection Деталей в узле: 1 - | Art.: комплект диафрагмы Деталей в узле: 1 - | Art.: Набор прокладок Деталей в узле: 1 | |||||||||||||||||||||||||||||||||||||||||||||
