200/225/250/275/300 4-STROKE VERADO (6 CYLINDER)
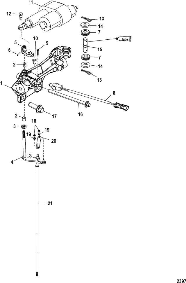
Верхние компоненты механизма переключения передач
Верхние компоненты механизма переключения передач
| № | Артикул | Наименование | Деталей в узле | Комментарий | Цена | |
| 1 | NSS | Не продается по отдельности, кронштейн | 1 | |||
| 2 | вкладыш | 2 | 640 руб. | |||
| 3 | проставка | 1 | 160 руб. | |||
| 4 | вал механизма переключения передач | 1 | снято с производства | |||
| 5 | Коленчатый рычаг | 1 | 5940 руб. | |||
| 6 | стержень (0.125 x 0.75") | 1 | 550 руб. | |||
| 7 | резиновая втулка | 2 | 440 руб. | |||
| 8 | переключатель | 1 | 7190 руб. | |||
| 9 | Винт (М3 х 20) | 2 | 170 руб. | |||
| 10 | вкладыш | 1 | 380 руб. | |||
| 11 | привод механизма переключения передач | 1 | 291390 руб. | |||
| 12 | винт | 1 | 1540 руб. | |||
| 13 | шплинт | 2 | 220 руб. | |||
| 14 | шайба | 2 | 590 руб. | |||
| 15 | палец шарнира | 1 | 2330 руб. | |||
| 16 | винта (M10 x 155) | 2 | цена по запросу | |||
| 17 | винт (М14) | 4 | цена по запросу | |||
| 18 | Гайка (М6), нержавеющая сталь | 2 | 120 руб. | |||
| 19 | вкладыш | 2 | 350 руб. | |||
| 20 | приводная штанга вала механизма переключения передач | 1 | 720 руб. | |||
| 21 | вал механизма переключения передач (Long) | 1 | (Long) | 30640 руб. | ||
| 21 | вал механизма переключения передач (XX-Long) | 1 | SN# 1B733307 & Up | цена по запросу | ||
| 21 | SHIFT SHAFT, (XX-Long) | 1 | (XX-Long) SN# 1B733306 & Below | цена по запросу | ||
| 21 | вал механизма переключения передач (X-Long) | 1 | (X-Long) SN# 1B716260 & Up | цена по запросу | ||
| 21 | SHIFT SHAFT, (X-Long) | 1 | (X-Long) SN# 1B716259 & Below | цена по запросу | ||
| - | Кронштейн переднего крепления в сборе | 1 | снято с производства | |||
| 1 | Art.: -NSS Не продается по отдельности, кронштейн Деталей в узле: 1 2 | Art.: 23-892417 вкладыш Деталей в узле: 2 3 | Art.: проставка Деталей в узле: 1 4 | Art.: 885506001 вал механизма переключения передач Деталей в узле: 1 снято с производства 5 | Art.: 889727001 Коленчатый рычаг Деталей в узле: 1 6 | Art.: 17-25319 стержень (0.125 x 0.75") Деталей в узле: 1 7 | Art.: 25-833155 резиновая втулка Деталей в узле: 2 8 | Art.: переключатель Деталей в узле: 1 9 | Art.: 10-88075020 Винт (М3 х 20) Деталей в узле: 2 10 | Art.: 23-85999 вкладыш Деталей в узле: 1 11 | Art.: привод механизма переключения передач Деталей в узле: 1 12 | Art.: 10-8855091 винт Деталей в узле: 1 13 | Art.: 18-885512 шплинт Деталей в узле: 2 14 | Art.: 12-885511003 шайба Деталей в узле: 2 15 | Art.: 17-895770 палец шарнира Деталей в узле: 1 16 | Art.: 10-895811155 винта (M10 x 155) Деталей в узле: 2 цена по запросу
17 | Art.: 10-88510940 винт (М14) Деталей в узле: 4 цена по запросу
18 | Art.: 11-8M0045046 Гайка (М6), нержавеющая сталь Деталей в узле: 2 19 | Art.: 23-97896 вкладыш Деталей в узле: 2 20 | Art.: 885505 приводная штанга вала механизма переключения передач Деталей в узле: 1 21 | вал механизма переключения передач (Long) ((Long))Деталей в узле: 1 21 | Art.: вал механизма переключения передач (XX-Long) (SN# 1B733307 & Up)Деталей в узле: 1 цена по запросу
21 | SHIFT SHAFT, (XX-Long) ((XX-Long) SN# 1B733306 & Below)Деталей в узле: 1 цена по запросу
21 | Art.: вал механизма переключения передач (X-Long) ((X-Long) SN# 1B716260 & Up)Деталей в узле: 1 цена по запросу
21 | SHIFT SHAFT, (X-Long) ((X-Long) SN# 1B716259 & Below)Деталей в узле: 1 цена по запросу
- | Art.: Кронштейн переднего крепления в сборе Деталей в узле: 1 снято с производства | |||||||||||||||||||||||||||
