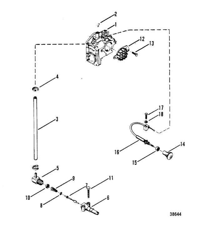
7.5 /9.8 H.P.
карбюратор и воздушная заслонка в сборе
карбюратор и воздушная заслонка в сборе
| № | Артикул | Наименование | Деталей в узле | Комментарий | Цена | |
| 1 | Карбюратор в сборе | 1 | (TILLOTSON) MERC 7.5 | цена по запросу | ||
| 1 | Карбюратор в сборе | 1 | (WALBRO) MERC 7.5 | снято с производства | ||
| 1 | Карбюратор в сборе | 1 | (TILLOTSON) MERC 9.8 | цена по запросу | ||
| 1 | Карбюратор в сборе | 1 | (WALBRO) MERC 9.8 | снято с производства | ||
| 2 | NUT, (.250-28), CARBURETOR ATTACHING | 2 | 180 руб. | |||
| 3 | LINE, (57.00 Inches Bulk), ADAPTOR TO CARBURETOR | 1 | цена по запросу | |||
| 4 | зажим присоединения топливопровода | 2 | снято с производства | |||
| 5 | Фиттинг от топливопровода к переходнику | 1 | 7390 руб. | |||
| 6 | ADAPTOR, CHECK UNIT (FUEL LINE) | 1 | 9110 руб. | |||
| 7 | STEM, CHECK UNIT ADAPTOR | 1 | цена по запросу | |||
| 8 | O-RING, ADAPTOR STEM | 1 | цена по запросу | |||
| 9 | SPRING, ADAPTOR STEM | 1 | 470 руб. | |||
| 10 | шайба переходника | 1 | 210 руб. | |||
| 11 | SCREW, (.250-28 x 1.250), ADAPTOR TO BOTTOM COWL | 1 | снято с производства | |||
| 12 | экран карбюратора | 1 | (Use where applicable) | снято с производства | ||
| 13 | SCREW, (#10-32 x .500) Stainless Steel, SCREEN TO CARBURETOR | 2 | (Use where applicable) | 120 руб. | ||
| 14 | головка воздушной заслонки | 1 | снято с производства | |||
| 15 | гайка крепления кабеля воздушной заслонки к нижней части колпака | 1 | снято с производства | |||
| 16 | кабель воздушной заслонки | 1 | цена по запросу | |||
| 17 | SCREW, (#10-32 x .875), CHOKE CABLE TO CARBURETOR | 1 | 130 руб. | |||
| 18 | шайба винта кабеля воздушной заслонки | 1 | снято с производства | |||
| - | Набор прокладок | снято с производства | ||||
| 1 | Карбюратор в сборе ((TILLOTSON) MERC 7.5)Деталей в узле: 1 цена по запросу 1 | Art.: Карбюратор в сборе ((WALBRO) MERC 7.5)Деталей в узле: 1 снято с производства 1 | Карбюратор в сборе ((TILLOTSON) MERC 9.8)Деталей в узле: 1 цена по запросу 1 | Art.: Карбюратор в сборе ((WALBRO) MERC 9.8)Деталей в узле: 1 снято с производства 2 | Art.: 11-24652 NUT, (.250-28), CARBURETOR ATTACHING Деталей в узле: 2 3 | LINE, (57.00 Inches Bulk), ADAPTOR TO CARBURETOR Деталей в узле: 1 цена по запросу 4 | Art.: 54-68424 зажим присоединения топливопровода Деталей в узле: 2 снято с производства 5 | Art.: 22-63981 Фиттинг от топливопровода к переходнику Деталей в узле: 1 6 | Art.: 22833 ADAPTOR, CHECK UNIT (FUEL LINE) Деталей в узле: 1 7 | Art.: 23069 STEM, CHECK UNIT ADAPTOR Деталей в узле: 1 цена по запросу
8 | Art.: O-RING, ADAPTOR STEM Деталей в узле: 1 цена по запросу 9 | Art.: SPRING, ADAPTOR STEM Деталей в узле: 1 10 | Art.: 30188 шайба переходника Деталей в узле: 1 11 | Art.: 10-37923 SCREW, (.250-28 x 1.250), ADAPTOR TO BOTTOM COWL Деталей в узле: 1 снято с производства 12 | Art.: 65552 экран карбюратора ((Use where applicable))Деталей в узле: 1 снято с производства 13 | Art.: 10-69022 SCREW, (#10-32 x .500) Stainless Steel, SCREEN TO CARBURETOR ((Use where applicable))Деталей в узле: 2 14 | Art.: 86381 головка воздушной заслонки Деталей в узле: 1 снято с производства 15 | Art.: 11-73710 гайка крепления кабеля воздушной заслонки к нижней части колпака Деталей в узле: 1 снято с производства 16 | Art.: 72465 кабель воздушной заслонки Деталей в узле: 1 цена по запросу
17 | Art.: 10-45862 SCREW, (#10-32 x .875), CHOKE CABLE TO CARBURETOR Деталей в узле: 1 18 | Art.: 12-34680 шайба винта кабеля воздушной заслонки Деталей в узле: 1 снято с производства - | Art.: 27-89014A80 Набор прокладок Деталей в узле: снято с производства | |||||||||||||||||||||||
