6 H.P.
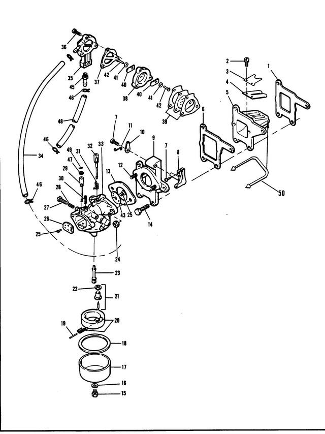
Топливная система
Топливная система
| № | Артикул | Наименование | Деталей в узле | Комментарий | Цена | |
| 1 | GASKET, REED PLATE | 1 | снято с производства | |||
| 2 | RD HD SCREW & SPRING LOCKWASHER ASSEMBLY, 6 - 32 X 5/16 | 4 | цена по запросу | |||
| 3 | REED STOP | 2 | снято с производства | |||
| 4 | REED | 2 | цена по запросу | |||
| 5 | PLATE REED W/SEAL | 1 | снято с производства | |||
| 6 | GASKET MANIFOLD | 1 | снято с производства | |||
| 7 | HEX HD SCREW, 8 - 32 X 1/2 | 2 | снято с производства | |||
| 8 | FOLLOWER THROTTLE CAM | 1 | снято с производства | |||
| 9 | MANIFOLD W/STUDS | 1 | снято с производства | |||
| 10 | LEVER THROTTLE | 1 | цена по запросу | |||
| 11 | LINK THROTTLE | 1 | снято с производства | |||
| 12 | STUD CARBURETOR | 2 | снято с производства | |||
| 13 | GASKET CARBURETOR | 1 | 470 руб. | |||
| 14 | HEX HD SCREW, 1/4 - 20 X 1 | 4 | 230 руб. | |||
| 15 | JET ASSEMBLY (.039) STANDARD | 1 | (FOR OTHER THAN STANDARD, SEE BELOW) | цена по запросу | ||
| 16 | GASKET FUEL BOWL RETAINER | 1 | 380 руб. | |||
| 17 | камера топливной смеси | 1 | цена по запросу | |||
| 18 | GASKET BODY TO BOWL | 1 | цена по запросу | |||
| 19 | SHAFT - FLOAT | 1 | 500 руб. | |||
| 20 | поплавок | 1 | цена по запросу | |||
| 21 | KIT - VALVE, SEAT, SPRING & GASKET | 1 | снято с производства | |||
| 22 | GASKET VALVE SEAT | 1 | цена по запросу | |||
| 23 | распылитель | 1 | снято с производства | |||
| 24 | NUT, 1/4 - 20 | 2 | цена по запросу | |||
| 25 | SCREW ASSEMBLY - CHOKE VALVE | 2 | снято с производства | |||
| 26 | CHOKE VALVE ASSEMBLY | 1 | снято с производства | |||
| 27 | NEEDLE - IDLE | 1 | цена по запросу | |||
| 28 | SPRING IDLE NEEDLE | 1 | снято с производства | |||
| 29 | вал воздушной заслонки в сборе | 1 | снято с производства | |||
| 30 | SPRING CHOKE STOP | 1 | снято с производства | |||
| 31 | SPRING THROTTLE RETURN | 1 | снято с производства | |||
| 32 | SHAFT ASSEMBLY - THROTTLE | 1 | снято с производства | |||
| 33 | Карбюратор | 1 | снято с производства | |||
| 34 | Шланг | 1 | цена по запросу | |||
| 35 | COVER FUEL PUMP | 1 | цена по запросу | |||
| 36 | FILL HD SCREW, 10 - 24 X 1 1/16 | 3 | снято с производства | |||
| 37 | GASKET FUEL PUMP | 1 | 320 руб. | |||
| 38 | PLATE FUEL PUMP REED W/REEDS & SCREWS | 1 | цена по запросу | |||
| 39 | DIAPHRAGM, FUEL PUMP W/GASKETS | 1 | 1500 руб. | |||
| 40 | REED FUEL PUMP | 2 | цена по запросу | |||
| 41 | PLAIN WASHER | 2 | цена по запросу | |||
| 42 | 2 | PAN HD SCREW, #4 - 40 X 3/16 | снято с производства | |||
| 43 | VALVE THROTTLE | 1 | снято с производства | |||
| 44 | винт дроссельной заслонки | 1 | цена по запросу | |||
| 45 | FILTER FUEL PUMP | 1 | 1540 руб. | |||
| 46 | CLAMP HOSE | 4 | снято с производства | |||
| 47 | шайба | 1 | цена по запросу | |||
| 48 | Шланг | 1 | цена по запросу | |||
| 49 | шплинт | 1 | 100 руб. | |||
| 50 | SEAL, REED PLATE | 1 | снято с производства | |||
| - | Ремкомплект | 1 | (INCL ITEMS PRECEDED WITH **) | снято с производства | ||
| - | Набор прокладок | 1 | (INCL ITEMS PRECEDED WITH *) | снято с производства | ||
| 1 | Art.: F525159 GASKET, REED PLATE Деталей в узле: 1 снято с производства 2 | Art.: RD HD SCREW & SPRING LOCKWASHER ASSEMBLY, 6 - 32 X 5/16 Деталей в узле: 4 цена по запросу
3 | Art.: F525161 REED STOP Деталей в узле: 2 снято с производства 4 | Art.: REED Деталей в узле: 2 цена по запросу 5 | Art.: F2A525158 PLATE REED W/SEAL Деталей в узле: 1 снято с производства 6 | Art.: F525168 GASKET MANIFOLD Деталей в узле: 1 снято с производства 7 | Art.: F1772 HEX HD SCREW, 8 - 32 X 1/2 Деталей в узле: 2 снято с производства 8 | Art.: F525316-1 FOLLOWER THROTTLE CAM Деталей в узле: 1 снято с производства 9 | Art.: FA525167 MANIFOLD W/STUDS Деталей в узле: 1 снято с производства 10 | Art.: LEVER THROTTLE Деталей в узле: 1 цена по запросу 11 | Art.: F525193 LINK THROTTLE Деталей в узле: 1 снято с производства 12 | Art.: STUD CARBURETOR Деталей в узле: 2 снято с производства 13 | Art.: F18906 GASKET CARBURETOR Деталей в узле: 1 14 | HEX HD SCREW, 1/4 - 20 X 1 Деталей в узле: 4 15 | Art.: JET ASSEMBLY (.039) STANDARD ((FOR OTHER THAN STANDARD, SEE BELOW))Деталей в узле: 1 цена по запросу 16 | Art.: F10090 GASKET FUEL BOWL RETAINER Деталей в узле: 1 17 | Art.: камера топливной смеси Деталей в узле: 1 цена по запросу 18 | Art.: F10068 GASKET BODY TO BOWL Деталей в узле: 1 цена по запросу
19 | Art.: F10064 SHAFT - FLOAT Деталей в узле: 1 20 | Art.: поплавок Деталей в узле: 1 цена по запросу 21 | Art.: F10092 KIT - VALVE, SEAT, SPRING & GASKET Деталей в узле: 1 снято с производства 22 | Art.: GASKET VALVE SEAT Деталей в узле: 1 цена по запросу 23 | Art.: F10082 распылитель Деталей в узле: 1 снято с производства 24 | Art.: NUT, 1/4 - 20 Деталей в узле: 2 цена по запросу 25 | Art.: F10070 SCREW ASSEMBLY - CHOKE VALVE Деталей в узле: 2 снято с производства 26 | Art.: F10062 CHOKE VALVE ASSEMBLY Деталей в узле: 1 снято с производства 27 | Art.: F10077 NEEDLE - IDLE Деталей в узле: 1 цена по запросу
28 | Art.: F10073 SPRING IDLE NEEDLE Деталей в узле: 1 снято с производства 29 | Art.: F10061 вал воздушной заслонки в сборе Деталей в узле: 1 снято с производства 30 | Art.: F10072 SPRING CHOKE STOP Деталей в узле: 1 снято с производства 31 | Art.: F10085 SPRING THROTTLE RETURN Деталей в узле: 1 снято с производства 32 | Art.: F10081 SHAFT ASSEMBLY - THROTTLE Деталей в узле: 1 снято с производства 33 | Art.: Карбюратор Деталей в узле: 1 снято с производства 34 | Art.: Шланг Деталей в узле: 1 цена по запросу 35 | COVER FUEL PUMP Деталей в узле: 1 цена по запросу 36 | Art.: F1069 FILL HD SCREW, 10 - 24 X 1 1/16 Деталей в узле: 3 снято с производства 37 | Art.: F24748-2 GASKET FUEL PUMP Деталей в узле: 1 38 | Art.: PLATE FUEL PUMP REED W/REEDS & SCREWS Деталей в узле: 1 цена по запросу
39 | Art.: 27-818043A1 DIAPHRAGM, FUEL PUMP W/GASKETS Деталей в узле: 1 40 | Art.: REED FUEL PUMP Деталей в узле: 2 цена по запросу 41 | Art.: PLAIN WASHER Деталей в узле: 2 цена по запросу 42 | Art.: F1286 2 (PAN HD SCREW, #4 - 40 X 3/16)Деталей в узле: снято с производства 43 | Art.: F10091 VALVE THROTTLE Деталей в узле: 1 снято с производства 44 | Art.: винт дроссельной заслонки Деталей в узле: 1 |
