40/40 LIGHTNING XR/50
электрические компоненты
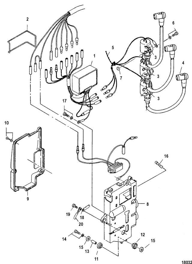
электрические компоненты
| № | Артикул | Наименование | Деталей в узле | Комментарий | Цена | |
| 1 | Модуль зажигания | 1 | 55530 руб. | |||
| 2 | уплотнительное кольцо | 1 | цена по запросу | |||
| 3 | катушка зажигания | 3 | 13210 руб. | |||
| 4 | наконечник с сопротивлением | 3 | 5130 руб. | |||
| 5 | ленточный хомут (8") | 1 | 30 руб. | |||
| 6 | Болт (M6 x 20) | 3 | 260 руб. | |||
| 7 | Прокладка | 3 | 320 руб. | |||
| 8 | BRACKET, Electrical | 1 | 11070 руб. | |||
| 9 | крышка | 1 | 2520 руб. | |||
| 10 | винт | 5 | 170 руб. | |||
| 11 | Резиновое крепление | 3 | 200 руб. | |||
| 12 | резиновая втулка | 3 | 190 руб. | |||
| 13 | проставка | 3 | цена по запросу | |||
| 14 | болт | 3 | 280 руб. | |||
| 15 | шайба | 6 | 200 руб. | |||
| 16 | плавкий предохранитель | 1 | 250 руб. | |||
| 17 | болт | 1 | 190 руб. | |||
| 18 | зажим (двигатели с электрическим запуском) | 1 | цена по запросу | |||
| 19 | болт (двигатели с электрическим запуском) | 1 | 210 руб. | |||
| 20 | провод массы | 1 | цена по запросу | |||
| - | набор прокладок силового агрегата | 1 | цена по запросу | |||
| 1 | Art.: Модуль зажигания Деталей в узле: 1 2 | Art.: 25-8518152 уплотнительное кольцо Деталей в узле: 1 цена по запросу
3 | Art.: катушка зажигания Деталей в узле: 3 4 | Art.: 85-855543 наконечник с сопротивлением Деталей в узле: 3 5 | Art.: 54-816311T ленточный хомут (8") Деталей в узле: 1 6 | Art.: 10-167051 Болт (M6 x 20) Деталей в узле: 3 7 | Art.: 27-851834 Прокладка Деталей в узле: 3 8 | Art.: 8537391 BRACKET, Electrical Деталей в узле: 1 9 | Art.: 851835 крышка Деталей в узле: 1 10 | Art.: 10-8555442 винт Деталей в узле: 5 11 | Art.: 23-8537437 Резиновое крепление Деталей в узле: 3 12 | Art.: 25-8518153 резиновая втулка Деталей в узле: 3 13 | Art.: 23-8537154 проставка Деталей в узле: 3 цена по запросу
14 | Art.: 10-162232 болт Деталей в узле: 3 15 | Art.: 12-161404 шайба Деталей в узле: 6 16 | Art.: 88-8538141 плавкий предохранитель Деталей в узле: 1 17 | Art.: 10-953965 болт Деталей в узле: 1 18 | Art.: 54-95306 зажим (двигатели с электрическим запуском) Деталей в узле: 1 цена по запросу
19 | Art.: 10-95396 болт (двигатели с электрическим запуском) Деталей в узле: 1 20 | Art.: провод массы Деталей в узле: 1 цена по запросу - | набор прокладок силового агрегата Деталей в узле: 1 цена по запросу | ||||||||||||||||||||||
