40/50/60 EFI (4 CYLINDER) 4-STROKE
Extension Kit-5 Inch, Driveshaft Housing 12092A18
Extension Kit-5 Inch, Driveshaft Housing 12092A18
| № | Артикул | Наименование | Деталей в узле | Комментарий | Цена | |
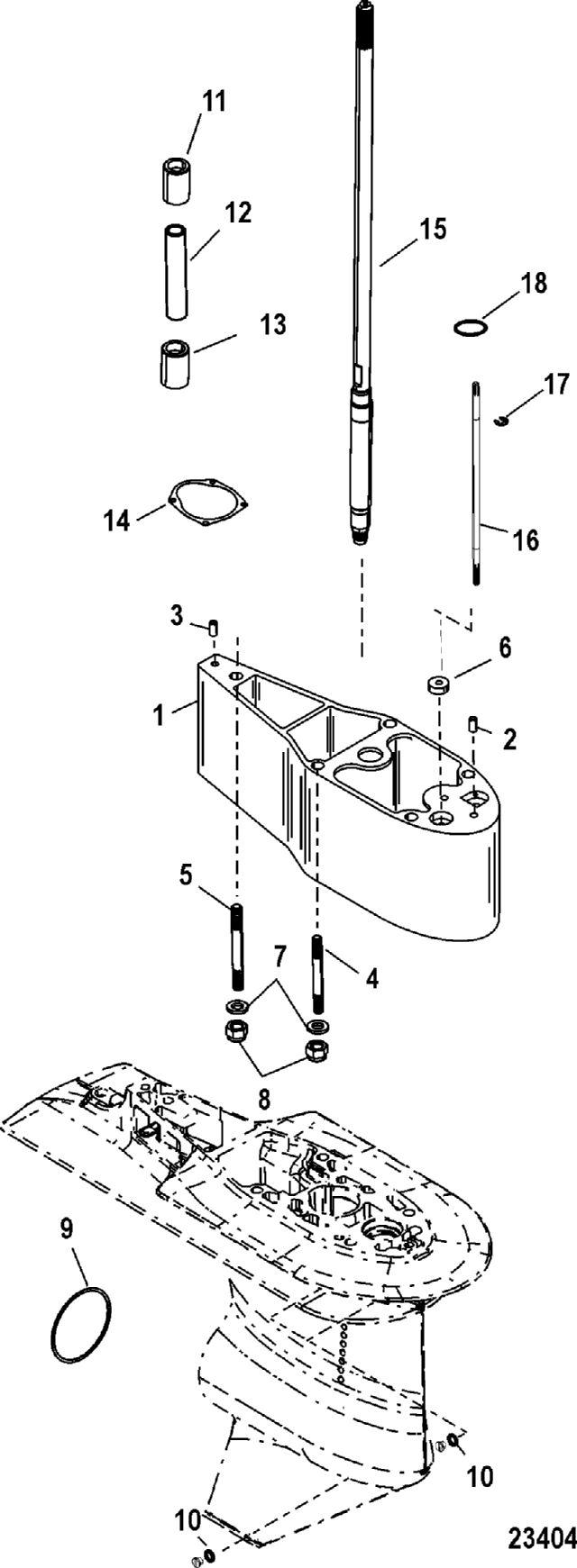
| 1 | комплект проставок | 1 | 79560 руб. | |||
| 2 | посадочный штифт с отверстием (0.375 x 0.625) | 1 | 310 руб. | |||
| 3 | посадочный штифт без отверстия (0.375 x 0.625) | 1 | 270 руб. | |||
| 4 | Шпилька (M10 x 190) | 4 | 2400 руб. | |||
| 5 | Шпилька (M10 x 227) | 1 | 11500 руб. | |||
| 6 | проставка | 1 | 1070 руб. | |||
| 7 | Шайба (0.406 x 0.750 x 0.105), нержавеющая сталь | 5 | цена по запросу | |||
| 8 | Гайка (М10) | 5 | 280 руб. | |||
| 9 | уплотнительное кольцо (3.609 x 0.139) | 1 | 750 руб. | |||
| 10 | Уплотнение | 3 | 660 руб. | |||
| 11 | Уплотнение | 1 | цена по запросу | |||
| 12 | Водяная труба | 1 | 4790 руб. | |||
| 13 | Уплотнение | 1 | 1220 руб. | |||
| 14 | GASKET, Aluminum Cover | 1 | 490 руб. | |||
| 15 | Вертикальный вал в сборе | 1 | 137620 руб. | |||
| 16 | Вал механизма переключения передач в сборе | 1 | 15330 руб. | |||
| 17 | Е-обазная стопорная шайба | 1 | 180 руб. | |||
| 18 | уплотнительное кольцо (1.424 x 0.103) | 1 | 300 руб. | |||
| - | EXTENSION KIT, Driveshaft - 5 Inch | 1 | 183110 руб. | |||
| 1 | Art.: 12092A3 комплект проставок Деталей в узле: 1 2 | Art.: посадочный штифт с отверстием (0.375 x 0.625) Деталей в узле: 1 3 | Art.: 17-43044 посадочный штифт без отверстия (0.375 x 0.625) Деталей в узле: 1 4 | Art.: 16-903503 Шпилька (M10 x 190) Деталей в узле: 4 5 | Art.: 16-903502 Шпилька (M10 x 227) Деталей в узле: 1 6 | Art.: 23-11289 проставка Деталей в узле: 1 7 | Art.: 12-856774 Шайба (0.406 x 0.750 x 0.105), нержавеющая сталь Деталей в узле: 5 цена по запросу
8 | Art.: 11-40140 Гайка (М10) Деталей в узле: 5 9 | уплотнительное кольцо (3.609 x 0.139) Деталей в узле: 1 10 | Art.: Уплотнение Деталей в узле: 3 11 | Art.: 43023 Уплотнение Деталей в узле: 1 цена по запросу
12 | Art.: Водяная труба Деталей в узле: 1 13 | Art.: 430232 Уплотнение Деталей в узле: 1 14 | Art.: 27-430341 GASKET, Aluminum Cover Деталей в узле: 1 15 | Art.: 45-875222A1 Вертикальный вал в сборе Деталей в узле: 1 16 | Art.: 853908A1 Вал механизма переключения передач в сборе Деталей в узле: 1 17 | Art.: 53-29641 Е-обазная стопорная шайба Деталей в узле: 1 18 | Art.: уплотнительное кольцо (1.424 x 0.103) Деталей в узле: 1 - | Art.: 12092A18 EXTENSION KIT, Driveshaft - 5 Inch Деталей в узле: 1 | ||||||||||||||||||||
