3.6 H.P.
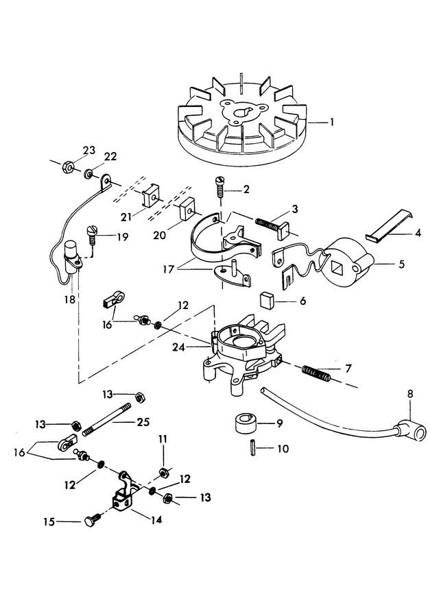
MAGNETO
MAGNETO
| № | Артикул | Наименование | Деталей в узле | Комментарий | Цена | |
| 1 | маховик | 1 | снято с производства | |||
| 2 | FIXED CONTACT CLAMP SCREW | 1 | снято с производства | |||
| 3 | CONNECTION STUD | 1 | снято с производства | |||
| 4 | COIL WEDGE SPRING | 1 | снято с производства | |||
| 5 | катушка зажигания | 1 | снято с производства | |||
| 6 | CAM WIPER FELT | 1 | снято с производства | |||
| 7 | FRICTION SCREW GROUP | 1 | снято с производства | |||
| 8 | LEAD WIRE GROUP | 1 | снято с производства | |||
| 9 | BREAKER CAM | 1 | снято с производства | |||
| 10 | SHAFT KEY | 1 | снято с производства | |||
| 11 | NUT, S.S., 1/4 - 20 | 1 | снято с производства | |||
| 12 | INTERNAL TOOTH LOCKWASHER | 3 | цена по запросу | |||
| 13 | NUT, 10 - 32 | 3 | цена по запросу | |||
| 14 | дроссельный кулачок | 1 | снято с производства | |||
| 15 | HEX CAP SCREW, 1/4 - 20 X 1/2 | 1 | цена по запросу | |||
| 16 | BALL - END CONNECTOR | 2 | 2350 руб. | |||
| 17 | BREAKER CONTACT SET | 1 | снято с производства | |||
| 18 | конденсатор | 1 | ||||
| 19 | CONDENSER CLAMP SCREW | 1 | снято с производства | |||
| 20 | CONNECTION STUD INSULATOR (INSIDE) | 1 | снято с производства | |||
| 21 | CONNECTION STUD INSULATOR (OUTSIDE) | 1 | снято с производства | |||
| 22 | стопорная шайба | 1 | цена по запросу | |||
| 23 | CONNECTION STUD NUT | 1 | снято с производства | |||
| 24 | STATOR PLATE W/COIL, POINTS, CONDENSER AND LEAD WIRE | 1 | W/SPARKIE | |||
| 25 | приводная штанга дросселя | 1 | снято с производства | |||
| - | SPARKIE KIT (NOT SHOWN) | 1 | цена по запросу | |||
| - | GROMMET, SPARK PLUG WIRE (NOT SHOWN) | 1 | снято с производства | |||
| 1 | Art.: F390097 маховик Деталей в узле: 1 снято с производства 2 | Art.: F12090 FIXED CONTACT CLAMP SCREW Деталей в узле: 1 снято с производства 3 | Art.: CONNECTION STUD Деталей в узле: 1 снято с производства 4 | Art.: F12130 COIL WEDGE SPRING Деталей в узле: 1 снято с производства 5 | Art.: F12211 катушка зажигания Деталей в узле: 1 снято с производства 6 | Art.: F12227 CAM WIPER FELT Деталей в узле: 1 снято с производства 7 | Art.: F12202 FRICTION SCREW GROUP Деталей в узле: 1 снято с производства 8 | Art.: LEAD WIRE GROUP Деталей в узле: 1 снято с производства 9 | Art.: F12149 BREAKER CAM Деталей в узле: 1 снято с производства 10 | Art.: F390498 SHAFT KEY Деталей в узле: 1 снято с производства 11 | Art.: F1608 NUT, S.S., 1/4 - 20 Деталей в узле: 1 снято с производства 12 | Art.: F8058 INTERNAL TOOTH LOCKWASHER Деталей в узле: 3 цена по запросу
13 | Art.: NUT, 10 - 32 Деталей в узле: 3 цена по запросу 14 | Art.: F390192 дроссельный кулачок Деталей в узле: 1 снято с производства 15 | Art.: HEX CAP SCREW, 1/4 - 20 X 1/2 Деталей в узле: 1 цена по запросу 16 | Art.: BALL - END CONNECTOR Деталей в узле: 2 17 | Art.: F12131 BREAKER CONTACT SET Деталей в узле: 1 снято с производства 18 | Art.: -12178 конденсатор Деталей в узле: 1 19 | Art.: CONDENSER CLAMP SCREW Деталей в узле: 1 снято с производства 20 | Art.: CONNECTION STUD INSULATOR (INSIDE) Деталей в узле: 1 снято с производства 21 | Art.: CONNECTION STUD INSULATOR (OUTSIDE) Деталей в узле: 1 |
