40/50/60 EFI (4 CYLINDER) 4-STROKE
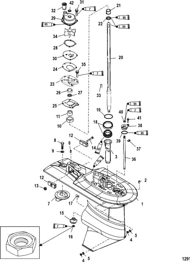
Gear Housing(Driveshaft-2.33:1)(Serial #1C033810 and Below)
Gear Housing(Driveshaft-2.33:1)(Serial #1C033810 and Below)
| № | Артикул | Наименование | Деталей в узле | Комментарий | Цена | |
| 1 | Корпус редуктора в сборе | 1 | 169680 руб. | |||
| 2 | PIN, Dowel - With Hole (.375 x .625) (Front) | 1 | 310 руб. | |||
| 3 | Масляная трубка | 1 | 3460 руб. | |||
| 4 | комплект сливного винтов (0.375-16 x 0.250) | 3 | 760 руб. | |||
| 5 | Уплотнение | 3 | 660 руб. | |||
| 6 | PIN, Dowel - Without Hole (.375 x .625) (Rear) | 1 | 270 руб. | |||
| 7 | триммер | 1 | цена по запросу | |||
| 8 | винт (0.437-14 x 1.250), нержавеющая сталь | 1 | 750 руб. | |||
| 9 | WASHER, (.453 x .812 x .105) Black Oxide | 1 | 230 руб. | |||
| 10 | опора в сборе | 1 | 10680 руб. | |||
| 11 | NSS | Не продается по отдельности, игольчатый подшипник | 1 | |||
| 12 | анод | 2 | 1570 руб. | |||
| 13 | Гайка (М6), нержавеющая сталь | 1 | 350 руб. | |||
| 14 | Винт (M6 x 40) | 1 | 390 руб. | |||
| 15 | NSS | NOT SOLD SEPARATE, Pinion Gear (12 Teeth)(Part of 43-882813A3 | 1 | |||
| 16 | гайка (0.625-18) | 1 | 800 руб. | |||
| 17 | Кулачок вала механизма переключения передач | 1 | 5510 руб. | |||
| 18 | конический роликовый подшипник в сборе | 1 | 14040 руб. | |||
| 19 | набор регулировочных прокладок | AR | снято с производства | |||
| 20 | Вертикальный вал в сборе | 1 | 142330 руб. | |||
| 21 | втулка / комплект колец | 1 | 3310 руб. | |||
| 22 | NSS | Не продается по отдельности, уплотнительное кольцо | 1 | |||
| 23 | крышка водяного насоса в сборе | 1 | снято с производства | |||
| 24 | Прокладка | 1 | 1230 руб. | |||
| 25 | Прокладка | 1 | 1480 руб. | |||
| 26 | Нижний сальник | 1 | 1950 руб. | |||
| 27 | верхний сальник | 1 | 2520 руб. | |||
| 28 | Прокладка | 1 | 510 руб. | |||
| 29 | комплект корпуса, верхняя часть водяного насоса | 1 | 11890 руб. | |||
| 30 | Пластина основания | 1 | 1520 руб. | |||
| 31 | Винт (М6 х 30) | 4 | 270 руб. | |||
| 32 | Уплотнение водяной трубы | 1 | цена по запросу | |||
| 33 | шпонка | 1 | цена по запросу | |||
| 34 | Крыльчатка | 1 | 4410 руб. | |||
| 35 | Винт (M6 x 25) | 6 | 240 руб. | |||
| 36 | Вал механизма переключения передач в сборе | 1 | 12870 руб. | |||
| 37 | Е-обазная стопорная шайба | 1 | 180 руб. | |||
| 38 | вкладыш в сборе | 1 | 6180 руб. | |||
| 39 | уплотнительное кольцо (1.424 x 0.103) | 1 | 300 руб. | |||
| 40 | Сальник | 1 | 1910 руб. | |||
| 41 | Винт (M6 x 25) | 2 | 240 руб. | |||
| 42 | FACE SEAL | 1 | снято с производства | |||
| - | Ремкомплект водяной помпы | 1 | снято с производства | |||
| - | Набор уплотнений корпуса редуктора | 1 | 15930 руб. | |||
| - | GEAR HOUSING ASSEMBLY, Complete (4.25 Inch/107.95 mm Torpedo Diameter) | 1 | 478200 руб. | |||
| - | Ремокомплект водяного насоса, крыльчатка | 1 | 8910 руб. | |||
| 1 | Art.: 1667-9011G59 Корпус редуктора в сборе Деталей в узле: 1 2 | Art.: PIN, Dowel - With Hole (.375 x .625) (Front) Деталей в узле: 1 3 | Art.: 43046 Масляная трубка Деталей в узле: 1 4 | Art.: комплект сливного винтов (0.375-16 x 0.250) Деталей в узле: 3 5 | Art.: Уплотнение Деталей в узле: 3 6 | Art.: 17-43044 PIN, Dowel - Without Hole (.375 x .625) (Rear) Деталей в узле: 1 7 | Art.: триммер Деталей в узле: 1 цена по запросу
8 | Art.: 10-825427 винт (0.437-14 x 1.250), нержавеющая сталь Деталей в узле: 1 9 | Art.: 12-451761 WASHER, (.453 x .812 x .105) Black Oxide Деталей в узле: 1 10 | Art.: 43040T1 опора в сборе Деталей в узле: 1 11 | Art.: -NSS Не продается по отдельности, игольчатый подшипник Деталей в узле: 1 12 | Art.: 826134Q анод Деталей в узле: 2 13 | Art.: 11-401386 Гайка (М6), нержавеющая сталь Деталей в узле: 1 14 | Art.: 10-4000333 Винт (M6 x 40) Деталей в узле: 1 15 | Art.: -NSS NOT SOLD SEPARATE, Pinion Gear (12 Teeth)(Part of 43-882813A3 Деталей в узле: 1 16 | Art.: 11-35921 гайка (0.625-18) Деталей в узле: 1 17 | Art.: 850307 Кулачок вала механизма переключения передач Деталей в узле: 1 18 | Art.: 31-883047A1 конический роликовый подшипник в сборе Деталей в узле: 1 19 | Art.: 15-44492A1 набор регулировочных прокладок Деталей в узле: AR снято с производства 20 | Art.: 45-859105A1 Вертикальный вал в сборе Деталей в узле: 1 21 | Art.: 42461A1 втулка / комплект колец Деталей в узле: 1 22 | Art.: -NSS Не продается по отдельности, уплотнительное кольцо Деталей в узле: 1 23 | Art.: 43055A4 крышка водяного насоса в сборе Деталей в узле: 1 снято с производства 24 | Art.: 27-430331 Прокладка Деталей в узле: 1 25 | Art.: Прокладка Деталей в узле: 1 26 | Art.: 26-43036 Нижний сальник Деталей в узле: 1 27 | Art.: 26-43035 верхний сальник Деталей в узле: 1 28 | Art.: 27-8172771 Прокладка Деталей в узле: 1 29 | Art.: 817275A2 комплект корпуса, верхняя часть водяного насоса Деталей в узле: 1 30 | Art.: Пластина основания Деталей в узле: 1 31 | Art.: 10-82684430 Винт (М6 х 30) Деталей в узле: 4 32 | Art.: Уплотнение водяной трубы Деталей в узле: 1 цена по запросу
33 | Art.: шпонка Деталей в узле: 1 цена по запросу
34 | Art.: Крыльчатка Деталей в узле: 1 35 | Art.: 10-82684425 Винт (M6 x 25) Деталей в узле: 6 36 | Art.: 853906A1 Вал механизма переключения передач в сборе Деталей в узле: 1 37 | Art.: 53-29641 Е-обазная стопорная шайба Деталей в узле: 1 38 | Art.: 23-43052A4 вкладыш в сборе Деталей в узле: 1 39 | Art.: уплотнительное кольцо (1.424 x 0.103) Деталей в узле: 1 40 | Art.: Сальник Деталей в узле: 1 41 | Art.: 10-82684425 Винт (M6 x 25) Деталей в узле: 2 42 | Art.: FACE SEAL Деталей в узле: 1 снято с производства - | Art.: 46-43024A09 Ремкомплект водяной помпы Деталей в узле: 1 снято с производства - | Art.: 26-43035A05 Набор уплотнений корпуса редуктора Деталей в узле: 1 - | Art.: 1667-9011G90 GEAR HOUSING ASSEMBLY, Complete (4.25 Inch/107.95 mm Torpedo Diameter) Деталей в узле: 1 - | Art.: Ремокомплект водяного насоса, крыльчатка Деталей в узле: 1 | |||||||||||||||||||||||||||||||||||||||||||||||
