55/60/45 JET/60 BIGFOOT (2-STROKE)
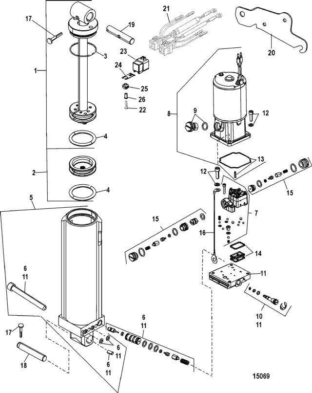
компоненты механизма гидроподъема Power Trim
компоненты механизма гидроподъема Power Trim
| № | Артикул | Наименование | Деталей в узле | Комментарий | Цена | |
| 1 | поршень-аммортизатор в сборе | 1 | 90220 руб. | |||
| 2 | Запоминающий поршень в сборе | 1 | цена по запросу | |||
| 3 | комплект ремонтных уплотнительных колец | 1 | 2950 руб. | |||
| 4 | NSS | не продается по отдельности, уплотнительное кольцо | 2 | |||
| 5 | Цилиндр в сборе | 1 | не посталяется заказывайте 8M0055016 | |||
| 6 | Комплект клапанов ограничивающих подъем | 1 | снято с производства | |||
| 7 | Насос в сборе | 1 | снято с производства | |||
| 8 | Комплект мотора | 1 | 97400 руб. | |||
| 9 | пробка | 1 | 5890 руб. | |||
| 10 | Ручной клапан блокировки гидросистемы | 1 | 7680 руб. | |||
| 11 | Комплект трубопровода | 1 | снято с производства | |||
| 12 | Комплект винтов мотора | 1 | 3360 руб. | |||
| 13 | Комплект уплотнений | 1 | 5660 руб. | |||
| 14 | Комплект фильтра | 1 | 3820 руб. | |||
| 15 | комплект тарельчатых клапанов | 1 | 18320 руб. | |||
| 16 | Кабель в сборе | 1 | 870 руб. | |||
| 17 | Штифт 3-кулачковый | 2 | 600 руб. | |||
| 18 | стержень | 1 | 3210 руб. | |||
| 19 | стержень | 1 | 4140 руб. | |||
| 20 | кронштейн | 1 | снято с производства | |||
| 21 | жгут проводов | 1 | 11830 руб. | |||
| 22 | Винт (M6 x 25) | 2 | 340 руб. | |||
| 23 | реле в сборе | 2 | цена по запросу | |||
| 24 | кронштейн | 2 | 510 руб. | |||
| 25 | резиновая втулка | 2 | 350 руб. | |||
| 26 | вкладыш | 2 | цена по запросу | |||
| - | O-RING KIT (COMPLETE TRIM) | 1 | снято с производства | |||
| - | Насос в сборе | 1 | снято с производства | |||
| 1 | поршень-аммортизатор в сборе Деталей в узле: 1 2 | Art.: 810776A1 Запоминающий поршень в сборе Деталей в узле: 1 цена по запросу
3 | комплект ремонтных уплотнительных колец Деталей в узле: 1 4 | Art.: -NSS не продается по отдельности, уплотнительное кольцо Деталей в узле: 2 5 | Art.: Цилиндр в сборе Деталей в узле: 1 не посталяется заказывайте 8M0055016 6 | Art.: Комплект клапанов ограничивающих подъем Деталей в узле: 1 снято с производства 7 | Art.: Насос в сборе Деталей в узле: 1 снято с производства 8 | Art.: Комплект мотора Деталей в узле: 1 9 | Art.: 22-8134351 пробка Деталей в узле: 1 10 | Art.: Ручной клапан блокировки гидросистемы Деталей в узле: 1 11 | Art.: Комплект трубопровода Деталей в узле: 1 снято с производства 12 | Art.: 10-809876A1 Комплект винтов мотора Деталей в узле: 1 13 | Art.: 809877A1 Комплект уплотнений Деталей в узле: 1 14 | Art.: Комплект фильтра Деталей в узле: 1 15 | Art.: комплект тарельчатых клапанов Деталей в узле: 1 16 | Art.: 88238A18 Кабель в сборе Деталей в узле: 1 17 | Art.: 17-821539 Штифт 3-кулачковый Деталей в узле: 2 18 | Art.: 17-19607 стержень Деталей в узле: 1 19 | Art.: стержень Деталей в узле: 1 20 | Art.: 831276T кронштейн Деталей в узле: 1 снято с производства 21 | Art.: 84-826802A12 жгут проводов Деталей в узле: 1 22 | Art.: 10-82129125 Винт (M6 x 25) Деталей в узле: 2 23 | Art.: реле в сборе Деталей в узле: 2 цена по запросу
24 | Art.: 828102 кронштейн Деталей в узле: 2 25 | Art.: 25-818967 резиновая втулка Деталей в узле: 2 26 | Art.: 23-818968 вкладыш Деталей в узле: 2 цена по запросу
- | Art.: O-RING KIT (COMPLETE TRIM) Деталей в узле: 1 снято с производства - | Art.: Насос в сборе Деталей в узле: 1 снято с производства | |||||||||||||||||||||||||||||
