40/40 LIGHTNING XR/50
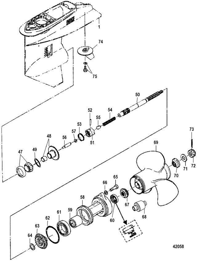
корпус редуктора, вал гребного винта (сер.№ 0N116271 и выше)
корпус редуктора, вал гребного винта (сер.№ 0N116271 и выше)
| № | Артикул | Наименование | Деталей в узле | Комментарий | Цена | |
| 1 | Корпус редуктора в сборе | 1 | (Short and Long) | цена по запросу | ||
| 1 | Корпус редуктора в сборе | 1 | (X-Long) | цена по запросу | ||
| 47 | Игольчатый подшипник | 1 | 7290 руб. | |||
| 48 | Шестерня переднего хода | 1 | 15300 руб. | |||
| 49 | регулировочная прокладка | AR | (.1) | 330 руб. | ||
| 49 | регулировочная прокладка | AR | (.15) | 290 руб. | ||
| 49 | регулировочная прокладка | AR | (.3) | 290 руб. | ||
| 50 | вал гребного винта | 1 | 33180 руб. | |||
| 51 | муфта сцепления | 1 | 11150 руб. | |||
| 52 | стержень муфты сцепления | 1 | 390 руб. | |||
| 53 | Пружина | 1 | 230 руб. | |||
| 54 | Пружина | 1 | 270 руб. | |||
| 55 | держатель пружины | 1 | 1190 руб. | |||
| 56 | стальной шарик | 1 | 230 руб. | |||
| 57 | толкатель кулачка | 1 | 1310 руб. | |||
| 58 | подшипник опоры в сборе | 1 | цена по запросу | |||
| 59 | Игольчатый подшипник | 1 | 4250 руб. | |||
| 60 | Сальник | 1 | 1650 руб. | |||
| 61 | Шариковый подшипник | 1 | 2850 руб. | |||
| 62 | уплотнительное кольцо | 1 | 320 руб. | |||
| 63 | Шестерня заднего хода | 1 | 14820 руб. | |||
| 64 | шайба | 1 | 570 руб. | |||
| 65 | болт | 2 | 3860 руб. | |||
| 66 | Шайба, нержавеющая сталь | 2 | цена по запросу | |||
| 67 | упорная втулка | 1 | 8010 руб. | |||
| 68 | HUB | 1 | 16150 руб. | |||
| 69 | гребной винт (12) | OPT | снято с производства | |||
| 69 | гребной винт (12.5) | 1 | снято с производства | |||
| 69 | гребной винт (14.5) | OPT | снято с производства | |||
| 69 | гребной винт (11) | OPT | снято с производства | |||
| 69 | гребной винт (10) | OPT | снято с производства | |||
| 69 | гребной винт (13.5) | 1 | снято с производства | |||
| 70 | THRUST HUB (Rear) | 1 | 2470 руб. | |||
| 71 | шайба | 1 | 380 руб. | |||
| 72 | Гайка гребного винта | 1 | 2470 руб. | |||
| 73 | шплинт | 1 | 140 руб. | |||
| 74 | триммер | 1 | 1550 руб. | |||
| 75 | Болт (M6 x 20) | 1 | 260 руб. | |||
| - | RUBBER HUB | 1 | цена по запросу | |||
| - | редуктор в сборе | 1 | (Short) | цена по запросу | ||
| - | редуктор в сборе | 1 | (Long) | снято с производства | ||
| - | редуктор в сборе | 1 | (X-Long) | цена по запросу | ||
| - | Нижний набор прокладок | 1 | цена по запросу | |||
| 1 | Art.: Корпус редуктора в сборе ((Short and Long))Деталей в узле: 1 цена по запросу
| ||||||||||||||||||||||||||||||||||||||||||||||||||||||||||||||||||||||||||||||||||
| 1 | Art.: 1668-825132A19 Корпус редуктора в сборе ((X-Long))Деталей в узле: 1 цена по запросу
| ||||||||||||||||||||||||||||||||||||||||||||||||||||||||||||||||||||||||||||||||||
| 47 | Art.: 31-8130488 Игольчатый подшипник Деталей в узле: 1 48 | Art.: 43-8129442 Шестерня переднего хода Деталей в узле: 1 49 | Art.: 15-851860001 регулировочная прокладка ((.1))Деталей в узле: AR 49 | Art.: 15-851860015 регулировочная прокладка ((.15))Деталей в узле: AR 49 | Art.: 15-851860003 регулировочная прокладка ((.3))Деталей в узле: AR 50 | Art.: 44-195132 вал гребного винта Деталей в узле: 1 51 | Art.: 52-812946003 муфта сцепления Деталей в узле: 1 52 | Art.: 17-161502 стержень муфты сцепления Деталей в узле: 1 53 | Art.: 24-8126456 Пружина Деталей в узле: 1 54 | Art.: 24-176673 Пружина Деталей в узле: 1 55 | Art.: 8537641 держатель пружины Деталей в узле: 1 56 | Art.: 30-161322 стальной шарик Деталей в узле: 1 57 | Art.: 161521 толкатель кулачка Деталей в узле: 1 58 | Art.: подшипник опоры в сборе Деталей в узле: 1 цена по запросу
59 | Art.: 31-8130487 Игольчатый подшипник Деталей в узле: 1 60 | Art.: 26-161302 Сальник Деталей в узле: 1 61 | Art.: 30-161323 Шариковый подшипник Деталей в узле: 1 62 | Art.: 25-161312 уплотнительное кольцо Деталей в узле: 1 63 | Art.: 43-8129453 Шестерня заднего хода Деталей в узле: 1 64 | Art.: 12-161408 шайба Деталей в узле: 1 65 | болт Деталей в узле: 2 66 | Art.: Шайба, нержавеющая сталь Деталей в узле: 2 цена по запросу
67 | Art.: 161453 упорная втулка Деталей в узле: 1 68 | Art.: 48-879150151 HUB Деталей в узле: 1 69 | Art.: 48-802621T08 гребной винт (12) Деталей в узле: OPT снято с производства 69 | Art.: 48-802621005 гребной винт (12.5) Деталей в узле: 1 снято с производства 69 | Art.: 48-802621003 гребной винт (14.5) Деталей в узле: OPT снято с производства 69 | Art.: 48-802628002 гребной винт (11) Деталей в узле: OPT снято с производства 69 | Art.: 48-802628003 гребной винт (10) Деталей в узле: OPT снято с производства 69 | Art.: 48-802621004 гребной винт (13.5) Деталей в узле: 1 снято с производства 70 | Art.: 851861 THRUST HUB (Rear) Деталей в узле: 1 71 | Art.: 12-161409 шайба Деталей в узле: 1 72 | Art.: 11-161472 Гайка гребного винта Деталей в узле: 1 73 | Art.: 18-8150265 шплинт Деталей в узле: 1 74 | Art.: 853762 триммер Деталей в узле: 1 75 | Art.: 10-167051 Болт (M6 x 20) Деталей в узле: 1 - | Art.: RUBBER HUB Деталей в узле: 1 цена по запросу
- | Art.: 1668-8M0046098 редуктор в сборе ((Short))Деталей в узле: 1 цена по запросу
- | Art.: 1668-825132T39 редуктор в сборе ((Long))Деталей в узле: 1 снято с производства - | Art.: 1668-8M0046099 редуктор в сборе ((X-Long))Деталей в узле: 1 цена по запросу
- | Art.: Нижний набор прокладок Деталей в узле: 1 цена по запросу
| ||||||||||||||||||||||||||||||||||||||||||
