40/50/60 EFI (4 CYLINDER) 4-STROKE
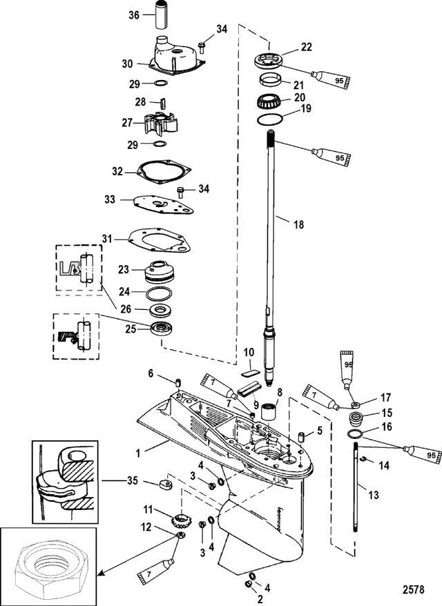
корпус редуктора, вертикальный вал - передаточное отношение 1.83:1
корпус редуктора, вертикальный вал - передаточное отношение 1.83:1
| № | Артикул | Наименование | Деталей в узле | Комментарий | Цена | |
| 1 | Корпус редуктора в сборе | 1 | 159550 руб. | |||
| 2 | комплект сливного винтов (0.375-16 x 0.250) | 1 | 770 руб. | |||
| 3 | комплект сливного винтов (0.375-16 x 0.250) | 2 | 770 руб. | |||
| 4 | Уплотнение | 3 | 670 руб. | |||
| 5 | посадочный штифт с отверстием (0.375 x 0.625) | 1 | 300 руб. | |||
| 6 | посадочный штифт без отверстия (0.375 x 0.625) | 1 | 270 руб. | |||
| 7 | заглушка трубки (0.0625-27) | 1 | 1760 руб. | |||
| 8 | роликовый подшипник | 1 | 3780 руб. | |||
| 9 | Сальник с пластиной в сборе | 1 | 660 руб. | |||
| 10 | NSS | Не продается по отдельности, пластина фильтра | 1 | |||
| 11 | ведущая шестерня (12 зубьев) | 1 | 37820 руб. | |||
| 12 | гайка (0.437-20) | 1 | 660 руб. | |||
| 13 | Вал механизма переключения передач в сборе | 1 | 12340 руб. | |||
| 14 | Е-обазная стопорная шайба | 1 | 180 руб. | |||
| 15 | вкладыш в сборе | 1 | 6360 руб. | |||
| 16 | уплотнительное кольцо (0.987 x 0.103) | 1 | 360 руб. | |||
| 17 | Сальник | 1 | 1940 руб. | |||
| 18 | Вертикальный вал (Long) | 1 | 63270 руб. | |||
| 19 | набор регулировочных прокладок | AR | снято с производства | |||
| 20 | роликовый подшипник в сборе | 1 | 6860 руб. | |||
| 21 | NSS | ке продается по отдельности, крышка | 1 | |||
| 22 | гайка | 1 | 5490 руб. | |||
| 23 | основание водяного насоса в сборе | 1 | 11380 руб. | |||
| 24 | уплотнительное кольцо (1.859 x 0.139) | 1 | 420 руб. | |||
| 25 | Сальник | 1 | 2490 руб. | |||
| 26 | Сальник | 1 | 3000 руб. | |||
| 27 | Крыльчатка | 1 | 6920 руб. | |||
| 28 | шпонка | 1 | 490 руб. | |||
| 29 | шайба | 2 | 220 руб. | |||
| 30 | Водяной насос в сборе | 1 | 29180 руб. | |||
| 31 | Нижняя прокладка | 1 | 750 руб. | |||
| 32 | прокладка водяного насоса верхняя | 1 | 570 руб. | |||
| 33 | Пластина основания | 1 | 1830 руб. | |||
| 34 | Винт (M6 x 16) | 6 | 170 руб. | |||
| 35 | Кулачок вала механизма переключения передач | 1 | 5340 руб. | |||
| 36 | муфта | 1 | 1870 руб. | |||
| - | Набор уплотнений корпуса редуктора | 1 | 9740 руб. | |||
| - | GEAR HOUSING ASSEMBLY, Complete (3.44 Inch/87.37 mm Torpedo Diameter) | 1 | 473850 руб. | |||
| - | Ремкомплект водяной помпы | 1 | 29180 руб. | |||
| 1 | Art.: 1671-9760T42 Корпус редуктора в сборе Деталей в узле: 1 2 | Art.: комплект сливного винтов (0.375-16 x 0.250) Деталей в узле: 1 3 | Art.: комплект сливного винтов (0.375-16 x 0.250) Деталей в узле: 2 4 | Art.: Уплотнение Деталей в узле: 3 5 | Art.: посадочный штифт с отверстием (0.375 x 0.625) Деталей в узле: 1 6 | Art.: 17-43044 посадочный штифт без отверстия (0.375 x 0.625) Деталей в узле: 1 7 | Art.: 22-878089 заглушка трубки (0.0625-27) Деталей в узле: 1 8 | Art.: 31-812768 роликовый подшипник Деталей в узле: 1 9 | Art.: 818226A1 Сальник с пластиной в сборе Деталей в узле: 1 10 | Art.: -NSS Не продается по отдельности, пластина фильтра Деталей в узле: 1 11 | Art.: 43-859103T ведущая шестерня (12 зубьев) Деталей в узле: 1 12 | Art.: 11-55910 гайка (0.437-20) Деталей в узле: 1 13 | Art.: 859607A1 Вал механизма переключения передач в сборе Деталей в узле: 1 14 | Art.: 53-29641 Е-обазная стопорная шайба Деталей в узле: 1 15 | Art.: 23-813696A2 вкладыш в сборе Деталей в узле: 1 16 | Art.: 25-45258 уплотнительное кольцо (0.987 x 0.103) Деталей в узле: 1 17 | Art.: Сальник Деталей в узле: 1 18 | Art.: 45-859102 Вертикальный вал (Long) Деталей в узле: 1 19 | Art.: 15-812770A1 набор регулировочных прокладок Деталей в узле: AR снято с производства 20 | Art.: роликовый подшипник в сборе Деталей в узле: 1 21 | Art.: -NSS ке продается по отдельности, крышка Деталей в узле: 1 22 | Art.: 11-8128201 гайка Деталей в узле: 1 23 | Art.: 46-812966A7 основание водяного насоса в сборе Деталей в узле: 1 24 | Art.: уплотнительное кольцо (1.859 x 0.139) Деталей в узле: 1 25 | Art.: 26-814669 Сальник Деталей в узле: 1 26 | Art.: 26-814670 Сальник Деталей в узле: 1 27 | Art.: 47-19453T Крыльчатка Деталей в узле: 1 28 | Art.: шпонка Деталей в узле: 1 29 | шайба Деталей в узле: 2 30 | Art.: Водяной насос в сборе Деталей в узле: 1 31 | Нижняя прокладка Деталей в узле: 1 32 | Art.: 27-822189 прокладка водяного насоса верхняя Деталей в узле: 1 33 | Art.: 19700A2 Пластина основания Деталей в узле: 1 34 | Art.: 10-8248324 Винт (M6 x 16) Деталей в узле: 6 35 | Art.: 760394 Кулачок вала механизма переключения передач Деталей в узле: 1 36 | муфта Деталей в узле: 1 - | Art.: 26-814669A2 Набор уплотнений корпуса редуктора Деталей в узле: 1 - | Art.: 1671-9760T41 GEAR HOUSING ASSEMBLY, Complete (3.44 Inch/87.37 mm Torpedo Diameter) Деталей в узле: 1 - | Art.: 46-812966A12 Ремкомплект водяной помпы Деталей в узле: 1 | ||||||||||||||||||||||||||||||||||||||||
