20/25/JET 20 SEAPRO/MARATHON 15XD SUPER 15/JET 20) (2-STROKE)
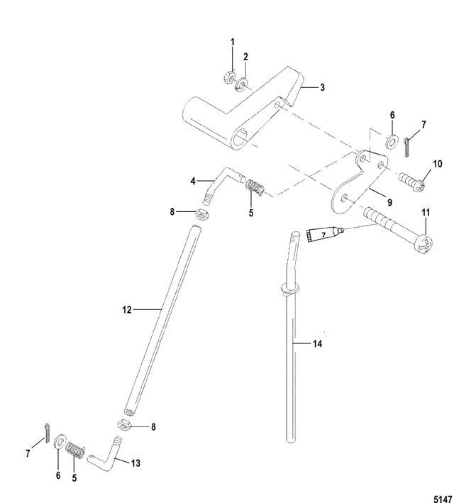
Jet Linkage
Jet Linkage
| № | Артикул | Наименование | Деталей в узле | Комментарий | Цена | |
| 1 | гайка | 1 | 1490 руб. | |||
| 2 | Стопорная шайба (#10), нержавеющая сталь | 1 | 120 руб. | |||
| 3 | рукоятка передач | 1 | снято с производства | |||
| 4 | наконечник тяги | 1 | 3110 руб. | |||
| 5 | Пружина | 2 | снято с производства | |||
| 6 | шайба (.265 x .500 x .060) нержавеющая сталь | 2 | 130 руб. | |||
| 7 | шплинт | 2 | 470 руб. | |||
| 8 | гайка (0.250-28), нержавеющая сталь | 2 | 270 руб. | |||
| 9 | рычаг механизма переключения передач | 1 | 3560 руб. | |||
| 10 | винт (#10-32 x 0.750) | 1 | 1790 руб. | |||
| 11 | винт (#10-32 x 2.50) | 1 | 2650 руб. | |||
| 12 | тяга управления | 1 | 7360 руб. | |||
| 13 | наконечник тяги | 1 | 2540 руб. | |||
| 14 | TILT LATCH ROD | 1 | снято с производства | |||
| 1 | Art.: 11-87599 гайка Деталей в узле: 1 2 | Art.: 13-26996 Стопорная шайба (#10), нержавеющая сталь Деталей в узле: 1 3 | Art.: 8239522 рукоятка передач Деталей в узле: 1 снято с производства 4 | Art.: 828251 наконечник тяги Деталей в узле: 1 5 | Art.: 24-828252 Пружина Деталей в узле: 2 |
