8/9.9 (209CC) 4-STROKE
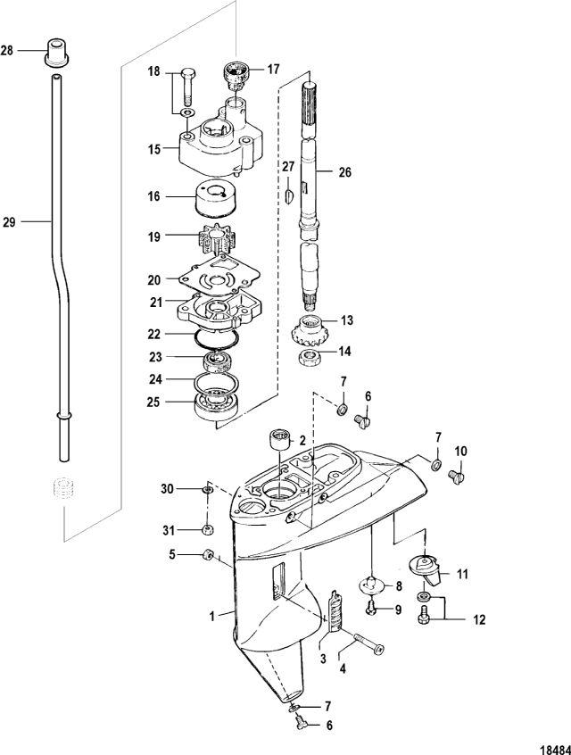
корпус редуктора, вертикальный вал (BigFoot)
корпус редуктора, вертикальный вал (BigFoot)
| № | Артикул | Наименование | Деталей в узле | Комментарий | Цена | |
| 1 | Корпус редуктора в сборе | 1 | 56760 руб. | |||
| 2 | Игольчатый подшипник | 1 | 5070 руб. | |||
| 3 | водяная сетка | 2 | 150 руб. | |||
| 4 | винт | 1 | 180 руб. | |||
| 5 | гайка | 1 | снято с производства | |||
| 6 | пробка | 2 | цена по запросу | |||
| 7 | Прокладка | 3 | 590 руб. | |||
| 8 | водяная сетка | 1 | 690 руб. | |||
| 9 | винт | 1 | 180 руб. | |||
| 10 | пробка | 1 | цена по запросу | |||
| 11 | триммер | 1 | 2350 руб. | |||
| 12 | Болт (M6 x 20) | 1 | 260 руб. | |||
| 13 | ведущая шестерня | 1 | 15460 руб. | |||
| 14 | гайка | 1 | 1510 руб. | |||
| 15 | Верхняя часть корпуса водяного насоса в сборе | 1 | 9320 руб. | |||
| 16 | вставка водяного насоса | 1 | 1270 руб. | |||
| 17 | Уплотнение | 1 | 310 руб. | |||
| 18 | болт | 3 | 530 руб. | |||
| 19 | Крыльчатка | 1 | 1690 руб. | |||
| 20 | Направляющая пластина | 1 | 990 руб. | |||
| 21 | основание водяного насоса в сборе | 1 | 5200 руб. | |||
| 22 | уплотнительное кольцо | 1 | 330 руб. | |||
| 23 | Сальник | 1 | 750 руб. | |||
| 24 | регулировочная прокладка (0.1) | AR | 450 руб. | |||
| 24 | регулировочная прокладка (0.15) | AR | 460 руб. | |||
| 24 | регулировочная прокладка (0.3) | AR | 460 руб. | |||
| 24 | регулировочная прокладка (0.5) | AR | 430 руб. | |||
| 25 | BEARING, Ball, Component of X-Long Extension Housing Kit | 1 | 5140 руб. | |||
| 26 | Вертикальный вал | 1 | Long | 42850 руб. | ||
| 26 | DRIVESHAFT, Component of X-Long Extension Housing Kit | 1 | X-Long | 47990 руб. | ||
| 27 | шпонка | 1 | цена по запросу | |||
| 28 | резиновая втулка | 1 | 260 руб. | |||
| 29 | Водяная труба | 1 | Long | 5660 руб. | ||
| 29 | TUBE, Water, Component of X-Long Extension Housing Kit | 1 | X-Long | 6720 руб. | ||
| 30 | шайба | 4 | цена по запросу | |||
| 31 | Гайка (М6), нержавеющая сталь | 4 | 230 руб. | |||
| - | редуктор в сборе | 1 | Long SN# USA-0R198975/BEL-0P513351 & Below | цена по запросу | ||
| - | Ремкомплект водяной крыльчатки | 1 | Quicksilver Brand | 3250 руб. | ||
| - | Ремкомплект водяной крыльчатки | 1 | Mercury Brand | 3250 руб. | ||
| - | водяной насос | 1 | цена по запросу | |||
| - | Нижний набор прокладок | 1 | цена по запросу | |||
| - | редуктор в сборе | 1 | X-Long SN# USA-0R198975/BEL-0P513351 & Below | цена по запросу | ||
| - | редуктор в сборе | 1 | X-Long SN# USA-0R198976/BEL-0P513352 & Up | 213740 руб. | ||
| - | редуктор в сборе | 1 | Long SN# USA-0R198976/BEL-0P513352 & Up | 237170 руб. | ||
| 1 | Art.: Корпус редуктора в сборе Деталей в узле: 1 2 | Art.: 31-160521 Игольчатый подшипник Деталей в узле: 1 3 | Art.: водяная сетка Деталей в узле: 2 4 | Art.: 10-17635 винт Деталей в узле: 1 5 | Art.: 11-85372216 гайка Деталей в узле: 1 снято с производства 6 | Art.: 22-953683 пробка Деталей в узле: 2 цена по запросу
7 | Art.: Прокладка Деталей в узле: 3 8 | Art.: 16133 водяная сетка Деталей в узле: 1 9 | Art.: 10-16134 винт Деталей в узле: 1 10 | Art.: 22-953683 пробка Деталей в узле: 1 цена по запросу
11 | Art.: 853762T01 триммер Деталей в узле: 1 12 | Art.: 10-167051 Болт (M6 x 20) Деталей в узле: 1 13 | Art.: 43-803740T02 ведущая шестерня Деталей в узле: 1 14 | Art.: 11-85372211 гайка Деталей в узле: 1 15 | Art.: 46-803750A05 Верхняя часть корпуса водяного насоса в сборе Деталей в узле: 1 16 | Art.: 803751 вставка водяного насоса Деталей в узле: 1 17 | Art.: 26-8036674 Уплотнение Деталей в узле: 1 18 | Art.: 10-823042046 болт Деталей в узле: 3 19 | Art.: Крыльчатка Деталей в узле: 1 20 | Art.: 803753 Направляющая пластина Деталей в узле: 1 21 | Art.: 46-803750A04 основание водяного насоса в сборе Деталей в узле: 1 22 | Art.: 25-8537096 уплотнительное кольцо Деталей в узле: 1 23 | Art.: 26-803752 Сальник Деталей в узле: 1 24 | Art.: 15-813276001 регулировочная прокладка (0.1) Деталей в узле: AR 24 | Art.: 15-813276015 регулировочная прокладка (0.15) Деталей в узле: AR 24 | Art.: 15-813276003 регулировочная прокладка (0.3) Деталей в узле: AR 24 | Art.: 15-813276005 регулировочная прокладка (0.5) Деталей в узле: AR 25 | Art.: BEARING, Ball, Component of X-Long Extension Housing Kit Деталей в узле: 1 26 | Art.: 45-803738T09 Вертикальный вал (Long)Деталей в узле: 1 26 | Art.: 45-803738T10 DRIVESHAFT, Component of X-Long Extension Housing Kit (X-Long)Деталей в узле: 1 27 | Art.: 28-803749 шпонка Деталей в узле: 1 цена по запросу
28 | Art.: 25-804899002 резиновая втулка Деталей в узле: 1 29 | Art.: 32-803755T10 Водяная труба (Long)Деталей в узле: 1 29 | Art.: 32-803755T11 TUBE, Water, Component of X-Long Extension Housing Kit (X-Long)Деталей в узле: 1 30 | Art.: 12-853701 шайба Деталей в узле: 4 цена по запросу
31 | Art.: 11-400212 Гайка (М6), нержавеющая сталь Деталей в узле: 4 - | редуктор в сборе (Long SN# USA-0R198975/BEL-0P513351 & Below)Деталей в узле: 1 цена по запросу - | Art.: 47-803748Q02 Ремкомплект водяной крыльчатки (Quicksilver Brand)Деталей в узле: 1 - | Art.: 47-803748K02 Ремкомплект водяной крыльчатки (Mercury Brand)Деталей в узле: 1 - | Art.: 46-803750A06 водяной насос Деталей в узле: 1 цена по запросу
- | Нижний набор прокладок Деталей в узле: 1 цена по запросу - | редуктор в сборе (X-Long SN# USA-0R198975/BEL-0P513351 & Below)Деталей в узле: 1 цена по запросу - | редуктор в сборе (X-Long SN# USA-0R198976/BEL-0P513352 & Up)Деталей в узле: 1 - | редуктор в сборе (Long SN# USA-0R198976/BEL-0P513352 & Up)Деталей в узле: 1 | |||||||||||||||||||||||||||||||||||||||||||||
