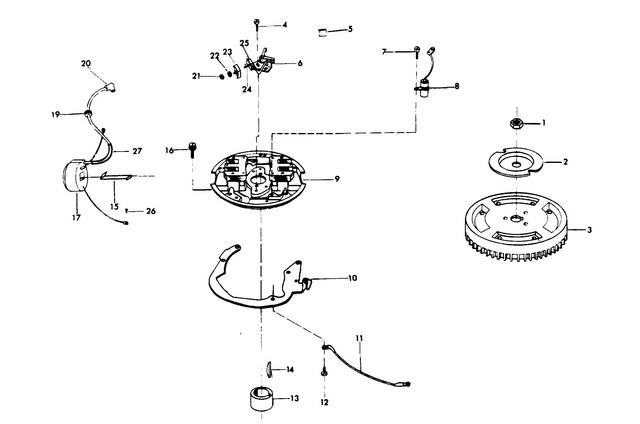
6 AND 8 H.P.
MAGNETO
MAGNETO
| № | Артикул | Наименование | Деталей в узле | Комментарий | Цена | |
| 1 | HEX NUT, 7/16 - 20 | 1 | снято с производства | |||
| 2 | EMERGENCY STARTER COLLAR | 1 | снято с производства | |||
| 3 | маховик | 1 | снято с производства | |||
| 4 | CONTACT SCREW W/LOCKWASHER | 4 | снято с производства | |||
| 5 | CAM WIPER FELT | 1 | снято с производства | |||
| 6 | BREAKER POINT SET | 2 | цена по запросу | |||
| 7 | CONDENSER SCREW W/LOCKWASHER | 2 | снято с производства | |||
| 8 | конденсатор | 2 | снято с производства | |||
| 9 | STATOR PLATE W/LAMINATIONS | 1 | снято с производства | |||
| 10 | THROTTLE CAM PLATE | 1 | снято с производства | |||
| 11 | WIRE, STATOR GROUND | 1 | снято с производства | |||
| 12 | FILL HD SCREW, 10 - 24 X 1/2 | 4 | снято с производства | |||
| 13 | MAGNETO BREAKER CAM, WICO 11417 | 1 | снято с производства | |||
| 14 | MAGNETO KEY | 1 | цена по запросу | |||
| 15 | COIL WEDGE SPRING | 2 | снято с производства | |||
| 16 | FILL HD SCREW W/LOCKWASHER, 10 - 24 X 9/16 | 4 | снято с производства | |||
| 17 | COIL W/LEAD WIRE | 2 | 24150 руб. | |||
| 19 | резиновая втулка | 4 | снято с производства | |||
| 20 | SPARKIE W/SPRING | 2 | цена по запросу | |||
| 21 | STUD NUT | 2 | снято с производства | |||
| 22 | стопорная шайба | 2 | цена по запросу | |||
| 23 | INSULATOR, OUTSIDE | 2 | снято с производства | |||
| 24 | CONNECTION STUD | 2 | снято с производства | |||
| 25 | INSULATOR, INSIDE | 2 | снято с производства | |||
| 26 | SCREW, COIL GROUND TERMINAL | 2 | снято с производства | |||
| 27 | SLEEVE, HIGH TENSION LEAD | 1 | снято с производства | |||
| - | LEAD WIRE MARKER, TOP (NOT SHOWN) | 1 | снято с производства | |||
| 1 | Art.: F1352 HEX NUT, 7/16 - 20 Деталей в узле: 1 снято с производства 2 | Art.: F901456-1 EMERGENCY STARTER COLLAR Деталей в узле: 1 снято с производства 3 | Art.: F318097 маховик Деталей в узле: 1 снято с производства 4 | Art.: F12170 CONTACT SCREW W/LOCKWASHER Деталей в узле: 4 снято с производства 5 | Art.: CAM WIPER FELT Деталей в узле: 1 снято с производства 6 | Art.: BREAKER POINT SET Деталей в узле: 2 цена по запросу 7 | Art.: CONDENSER SCREW W/LOCKWASHER Деталей в узле: 2 снято с производства 8 | Art.: F12181-1 конденсатор Деталей в узле: 2 снято с производства 9 | Art.: F12343 STATOR PLATE W/LAMINATIONS Деталей в узле: 1 снято с производства 10 | Art.: F516192 THROTTLE CAM PLATE Деталей в узле: 1 снято с производства 11 | Art.: F289664 WIRE, STATOR GROUND Деталей в узле: 1 снято с производства 12 | Art.: FILL HD SCREW, 10 - 24 X 1/2 Деталей в узле: 4 снято с производства 13 | Art.: F59002 MAGNETO BREAKER CAM, WICO 11417 Деталей в узле: 1 снято с производства 14 | Art.: MAGNETO KEY Деталей в узле: 1 цена по запросу 15 | Art.: F12146 COIL WEDGE SPRING Деталей в узле: 2 снято с производства 16 | Art.: F1090 FILL HD SCREW W/LOCKWASHER, 10 - 24 X 9/16 Деталей в узле: 4 снято с производства 17 | COIL W/LEAD WIRE Деталей в узле: 2 19 | Art.: F12088 резиновая втулка Деталей в узле: 4 снято с производства 20 | Art.: SPARKIE W/SPRING Деталей в узле: 2 цена по запросу 21 | Art.: STUD NUT Деталей в узле: 2 |
