7.5 /9.8 H.P.
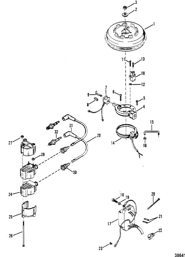
Маховик и компоненты зажигания
Маховик и компоненты зажигания
| № | Артикул | Наименование | Деталей в узле | Комментарий | Цена | |
| 1 | маховик в сборе | 1 | снято с производства | |||
| 2 | шайба гайки маховика | 1 | снято с производства | |||
| 3 | гайка маховика | 1 | снято с производства | |||
| 4 | статор в сборе | 1 | снято с производства | |||
| 5 | винт крепления статора к торцевой крышке (3/8") | 1 | снято с производства | |||
| 6 | винт крепления статора к торцевой крышке (7/8") | 3 | снято с производства | |||
| 7 | COIL ASSEMBLY (5-1/2" AND 6-3/8" LEADS) | 1 | снято с производства | |||
| 7 | COIL ASSEMBLY (1-3/4" AND 3-1/2" LEADS) | 1 | снято с производства | |||
| 8 | зажим фиксации катушки зажигания | 2 | снято с производства | |||
| 9 | зажим фиксации катушки зажигания | 2 | снято с производства | |||
| 10 | TERMINAL BLOCK, STATOR | 1 | снято с производства | |||
| 11 | SCREW, (.190-32 x .62), TERMINAL BLOCK TO STATOR | 1 | цена по запросу | |||
| 12 | NUT, (#10-32), TERMINAL BLOCK SCREW | 1 | 610 руб. | |||
| 13 | SCREW, (.190-32 x .38), LEADS TO TERMINAL BLOCK | 1 | снято с производства | |||
| 14 | HOUSING ASSEMBLY, Trigger | 1 | снято с производства | |||
| 15 | LINK, TRIGGER HOUSING TO THROTTLE LEVER | 1 | снято с производства | |||
| 16 | NUT, PUSH - LINK TO TRIGGER HOUSING | 1 | 200 руб. | |||
| 17 | блок управления в сборе | 1 | снято с производства | |||
| 18 | SCREW, (.190-32 x .75), SWITCH BOX ATTACHING | 2 | снято с производства | |||
| 19 | WASHER, (.203 x .500 x .032), SWITCH BOX ATTACHING SCREW | 2 | цена по запросу | |||
| 20 | ленточный хомут (14") | 5 | 150 руб. | |||
| 21 | SLEEVE, (10.00 Inches Bulk), SWITCH BOX LEADS | 2 | 1150 руб. | |||
| 22 | CLIP, SWITCH BOX LEADS | 1 | снято с производства | |||
| 23 | SCREW, (#10-32 x .380), GROUND LEAD TO CYLINDER BLOCK | 1 | снято с производства | |||
| 24 | катушка зажигания в сборе | 2 | цена по запросу | |||
| 25 | крышка катушки зажигания | 2 | снято с производства | |||
| 26 | SCREW, COIL COVER TO REAR BRACKET (4-5/8") | 3 | снято с производства | |||
| 27 | NUT, (#10-32), COIL COVER SCREW | 3 | 180 руб. | |||
| 28 | NUT, (#10-32) Brass, IGNITION COIL TERMINAL | 4 | 180 руб. | |||
| 29 | провод высокого напряжения в сборе | 2 | 3840 руб. | |||
| 30 | изолятор катушки зажигания | 2 | 380 руб. | |||
| 31 | BOOT/TERMINAL KIT, SPARK PLUG | 2 | 770 руб. | |||
| 32 | SPARK PLUG (NGK #B9HS-10) | 2 | цена по запросу | |||
| 32 | свеча зажигания | 2 | Belgium and Canada | 1170 руб. | ||
| 1 | Art.: 251-6105A9 маховик в сборе Деталей в узле: 1 снято с производства 2 | Art.: 12-36245 шайба гайки маховика Деталей в узле: 1 снято с производства 3 | Art.: 11-20696 гайка маховика Деталей в узле: 1 снято с производства 4 | Art.: статор в сборе Деталей в узле: 1 снято с производства 5 | Art.: 10-35400 винт крепления статора к торцевой крышке (3/8") Деталей в узле: 1 снято с производства 6 | Art.: 10-66707 винт крепления статора к торцевой крышке (7/8") Деталей в узле: 3 снято с производства 7 | Art.: 339-6119A1 COIL ASSEMBLY (5-1/2" AND 6-3/8" LEADS) Деталей в узле: 1 снято с производства 7 | Art.: 339-6120A1 COIL ASSEMBLY (1-3/4" AND 3-1/2" LEADS) Деталей в узле: 1 снято с производства 8 | Art.: 54-59538 зажим фиксации катушки зажигания Деталей в узле: 2 снято с производства 9 | Art.: 54-85446 зажим фиксации катушки зажигания Деталей в узле: 2 снято с производства 10 | Art.: 86-85365 TERMINAL BLOCK, STATOR Деталей в узле: 1 снято с производства 11 | Art.: SCREW, (.190-32 x .62), TERMINAL BLOCK TO STATOR Деталей в узле: 1 цена по запросу 12 | Art.: 11-46438 NUT, (#10-32), TERMINAL BLOCK SCREW Деталей в узле: 1 13 | Art.: 10-22654 SCREW, (.190-32 x .38), LEADS TO TERMINAL BLOCK Деталей в узле: 1 снято с производства 14 | Art.: HOUSING ASSEMBLY, Trigger Деталей в узле: 1 снято с производства 15 | Art.: 42501 LINK, TRIGGER HOUSING TO THROTTLE LEVER Деталей в узле: 1 снято с производства 16 | Art.: 11-65110 NUT, PUSH - LINK TO TRIGGER HOUSING Деталей в узле: 1 17 | Art.: 339-6222A10 блок управления в сборе Деталей в узле: 1 снято с производства 18 | Art.: 10-20189 SCREW, (.190-32 x .75), SWITCH BOX ATTACHING Деталей в узле: 2 снято с производства 19 | Art.: 12-56681 WASHER, (.203 x .500 x .032), SWITCH BOX ATTACHING SCREW Деталей в узле: 2 цена по запросу
20 | Art.: 61990 ленточный хомут (14") Деталей в узле: 5 21 | Art.: 5790811 SLEEVE, (10.00 Inches Bulk), SWITCH BOX LEADS Деталей в узле: 2 22 | Art.: 54-53883 CLIP, SWITCH BOX LEADS Деталей в узле: 1 снято с производства 23 | Art.: 10-45218 SCREW, (#10-32 x .380), GROUND LEAD TO CYLINDER BLOCK Деталей в узле: 1 снято с производства 24 | Art.: катушка зажигания в сборе Деталей в узле: 2 цена по запросу
25 | Art.: 66355 крышка катушки зажигания Деталей в узле: 2 снято с производства 26 | Art.: 10-72074 SCREW, COIL COVER TO REAR BRACKET (4-5/8") Деталей в узле: 3 снято с производства 27 | Art.: 11-20110 NUT, (#10-32), COIL COVER SCREW Деталей в узле: 3 28 | Art.: 11-45076 NUT, (#10-32) Brass, IGNITION COIL TERMINAL Деталей в узле: 4 29 | Art.: провод высокого напряжения в сборе Деталей в узле: 2 30 | Art.: изолятор катушки зажигания Деталей в узле: 2 31 | Art.: 85-63709A1 BOOT/TERMINAL KIT, SPARK PLUG Деталей в узле: 2 32 | Art.: SPARK PLUG (NGK #B9HS-10) Деталей в узле: 2 цена по запросу
32 | свеча зажигания (Belgium and Canada)Деталей в узле: 2 | |||||||||||||||||||||||||||||||||||
