MERC 3.4L EFI
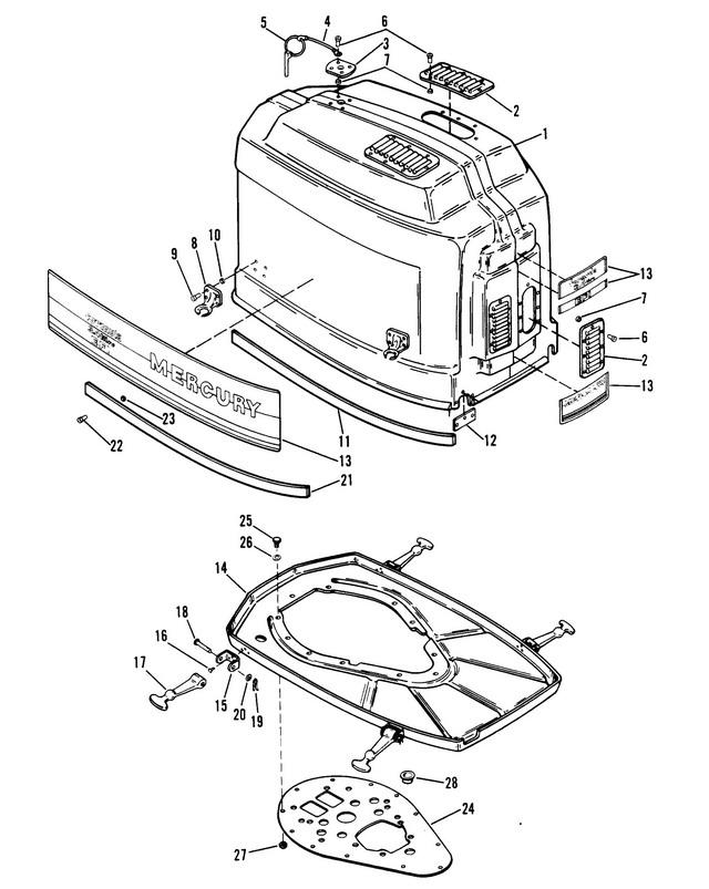
Колпаки
Колпаки
| № | Артикул | Наименование | Деталей в узле | Комментарий | Цена | |
| 1 | Верхняя часть колпака в сборе | 1 | снято с производства | |||
| 2 | защита воздушного впуска | 4 | снято с производства | |||
| 3 | PLATE, COWL HOLD DOWN | 2 | снято с производства | |||
| 4 | кабель в сборе (черный) | 1 | 750 руб. | |||
| 5 | зажим | 1 | цена по запросу | |||
| 6 | POP RIVET, SHIELD | 44 | 120 руб. | |||
| 7 | WASHER, SHIELD RIVET | 44 | цена по запросу | |||
| 8 | RETAINER, COWL HOLD DOWN | 5 | 11080 руб. | |||
| 9 | POP RIVET, RETAINER | 24 | цена по запросу | |||
| 10 | WASHER, RETAINER RIVET | 24 | 500 руб. | |||
| 11 | TRIM MOLDING | 1 | снято с производства | |||
| 12 | RUBBER STRIPPING, TOP COWL | 1 | снято с производства | |||
| 13 | набор наклеек | 1 | снято с производства | |||
| 14 | Нижняя часть колпака в сборе | 1 | снято с производства | |||
| 15 | YOKE, COWL HOLD DOWN | 5 | цена по запросу | |||
| 16 | RIVET, YOKE TO PAN | 15 | цена по запросу | |||
| 17 | HOLD DOWN, COWL (BUNGY CORD) | 5 | цена по запросу | |||
| 18 | CLEVIS PIN, HOLD DOWN | 5 | 3510 руб. | |||
| 19 | COTTER PIN, CLEVIS PIN | 5 | 410 руб. | |||
| 20 | WASHER, CLEVIS PIN | 5 | 500 руб. | |||
| 21 | RUBBER STRIPPING, BOTTOM COWL | 1 | снято с производства | |||
| 22 | POP RIVET, RUBBER STRIPPING | 28 | снято с производства | |||
| 23 | WASHER, POP RIVET | 28 | цена по запросу | |||
| 24 | PLATE, COWL BASE | 1 | снято с производства | |||
| 25 | Винт крепления пластины к нижней части колпака | 12 | 100 руб. | |||
| 26 | Шайба винта пластины | 12 | 270 руб. | |||
| 27 | Гайка винта пластины | 12 | 390 руб. | |||
| 28 | PLUG, SHIFT SHAFT HOLE (LHR) | 1 | цена по запросу | |||
| 1 | Art.: 2167-8183A8 Верхняя часть колпака в сборе Деталей в узле: 1 снято с производства 2 | Art.: защита воздушного впуска Деталей в узле: 4 снято с производства 3 | Art.: 99690 PLATE, COWL HOLD DOWN Деталей в узле: 2 снято с производства 4 | Art.: 84-88807A6 кабель в сборе (черный) Деталей в узле: 1 5 | Art.: зажим Деталей в узле: 1 цена по запросу
6 | Art.: 17-12147 POP RIVET, SHIELD Деталей в узле: 44 7 | Art.: 12-57238 WASHER, SHIELD RIVET Деталей в узле: 44 цена по запросу
8 | Art.: 61364 RETAINER, COWL HOLD DOWN Деталей в узле: 5 9 | Art.: POP RIVET, RETAINER Деталей в узле: 24 цена по запросу
10 | Art.: WASHER, RETAINER RIVET Деталей в узле: 24 11 | Art.: 588096 TRIM MOLDING Деталей в узле: 1 снято с производства 12 | Art.: 4161180 RUBBER STRIPPING, TOP COWL Деталей в узле: 1 снято с производства 13 | Art.: 37-14126A1 набор наклеек Деталей в узле: 1 снято с производства 14 | Art.: 94307A4 Нижняя часть колпака в сборе Деталей в узле: 1 снято с производства 15 | Art.: 71602 YOKE, COWL HOLD DOWN Деталей в узле: 5 цена по запросу
16 | Art.: RIVET, YOKE TO PAN Деталей в узле: 15 цена по запросу
17 | Art.: 58707 HOLD DOWN, COWL (BUNGY CORD) Деталей в узле: 5 цена по запросу
18 | Art.: 17-58712 CLEVIS PIN, HOLD DOWN Деталей в узле: 5 19 | Art.: COTTER PIN, CLEVIS PIN Деталей в узле: 5 20 | Art.: WASHER, CLEVIS PIN Деталей в узле: 5 21 | Art.: 4161180 RUBBER STRIPPING, BOTTOM COWL Деталей в узле: 1 снято с производства 22 | Art.: 17-86914 POP RIVET, RUBBER STRIPPING Деталей в узле: 28 снято с производства 23 | Art.: 12-57238 WASHER, POP RIVET Деталей в узле: 28 цена по запросу
24 | Art.: 94306 PLATE, COWL BASE Деталей в узле: 1 снято с производства 25 | Art.: 10-47277 Винт крепления пластины к нижней части колпака Деталей в узле: 12 26 | Art.: 12-22753 Шайба винта пластины Деталей в узле: 12 27 | Art.: Гайка винта пластины Деталей в узле: 12 28 | Art.: 19-37630 PLUG, SHIFT SHAFT HOLE (LHR) Деталей в узле: 1 цена по запросу
| |||||||||||||||||||||||||||||
