8/9.9 (209CC) 4-STROKE
корпус редуктора, вертикальный вал (не для BigFoot)
корпус редуктора, вертикальный вал (не для BigFoot)
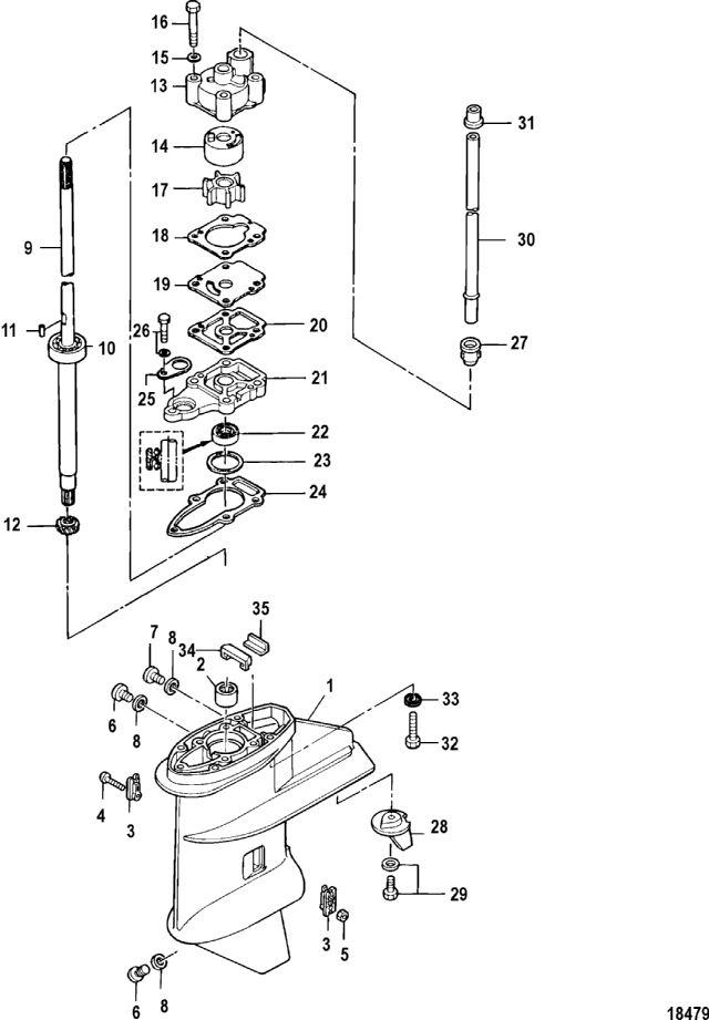
| № | Артикул | Наименование | Деталей в узле | Комментарий | Цена | |
| 1 | Корпус редуктора в сборе | 1 | цена по запросу | |||
| 2 | роликовый подшипник | 1 | цена по запросу | |||
| 3 | водяная сетка | 2 | 340 руб. | |||
| 4 | винт | 1 | 180 руб. | |||
| 5 | гайка | 1 | снято с производства | |||
| 6 | пробка | 2 | цена по запросу | |||
| 7 | водяная пробка | 1 | цена по запросу | |||
| 8 | Прокладка | 3 | 590 руб. | |||
| 9 | Вертикальный вал | 1 | Long | цена по запросу | ||
| 9 | Вертикальный вал | 1 | Short | цена по запросу | ||
| 10 | Шариковый подшипник | 1 | 2000 руб. | |||
| 11 | шпонка, нержавеющая сталь | 1 | 130 руб. | |||
| 12 | ведущая шестерня | 1 | цена по запросу | |||
| 13 | Верхняя часть корпуса водяного насоса в сборе | 1 | 2300 руб. | |||
| 14 | вставка водяного насоса, нержавеющая сталь | 1 | 850 руб. | |||
| 15 | Шайба, нержавеющая сталь | 4 | цена по запросу | |||
| 16 | Болт, нержавеющая сталь | 4 | 210 руб. | |||
| 17 | Крыльчатка | 1 | 2280 руб. | |||
| 18 | Прокладка | 1 | 280 руб. | |||
| 19 | Направляющая пластина, нержавеющая сталь | 1 | 340 руб. | |||
| 20 | Прокладка | 1 | 310 руб. | |||
| 21 | основание нижней части водяного насоса в сборе | 1 | 4600 руб. | |||
| 22 | Сальник | 1 | 490 руб. | |||
| 23 | регулировочная прокладка | AR | 370 руб. | |||
| 24 | прокладка нижняя | 1 | 450 руб. | |||
| 25 | фиксатор | 1 | 240 руб. | |||
| 26 | Болт, нержавеющая сталь | 1 | цена по запросу | |||
| 27 | резиновая втулка нижняя | 1 | 140 руб. | |||
| 28 | триммер | 1 | 2350 руб. | |||
| 29 | Болт (M6 x 20) | 1 | 260 руб. | |||
| 30 | Водяная труба | 1 | Long | 2110 руб. | ||
| 30 | Водяная труба | 1 | Short | 1220 руб. | ||
| 31 | Резиновая втулка верхняя | 1 | 260 руб. | |||
| 32 | болт | 4 | цена по запросу | |||
| 33 | Шайба, нержавеющая сталь | 4 | цена по запросу | |||
| 34 | Водяное уплотнение | 1 | 360 руб. | |||
| 35 | пластина водяного уплотнения | 1 | 250 руб. | |||
| - | Нижний набор прокладок | 1 | цена по запросу | |||
| - | редуктор в сборе | 1 | Long | цена по запросу | ||
| - | Ремкомплект водяной крыльчатки | 1 | Mercury Brand | 3180 руб. | ||
| - | Ремкомплект водяной крыльчатки | 1 | Quicksilver Brand | 3180 руб. | ||
| - | REPAIR KIT, Water Pump - Chrome | 1 | 17700 руб. | |||
| - | редуктор в сборе | 1 | Short | цена по запросу | ||
| - | водяной насос | 1 | 8980 руб. | |||
| 1 | Art.: 1668-895154T01 Корпус редуктора в сборе Деталей в узле: 1 цена по запросу
| ||||||||||||||||||||||||||||||||||||||||||||||||||||||||||||||||||||||||||||||||||||
| 2 | Art.: 31-803675004 роликовый подшипник Деталей в узле: 1 цена по запросу
| ||||||||||||||||||||||||||||||||||||||||||||||||||||||||||||||||||||||||||||||||||||
| 3 | Art.: 803730001 водяная сетка Деталей в узле: 2 4 | Art.: 10-17635 винт Деталей в узле: 1 5 | Art.: 11-85372216 гайка Деталей в узле: 1 снято с производства 6 | Art.: 22-953683 пробка Деталей в узле: 2 цена по запросу
7 | Art.: 22-953683 водяная пробка Деталей в узле: 1 цена по запросу
8 | Art.: Прокладка Деталей в узле: 3 9 | Art.: Вертикальный вал (Long)Деталей в узле: 1 цена по запросу
9 | Art.: Вертикальный вал (Short)Деталей в узле: 1 цена по запросу
10 | Art.: 30-161326 Шариковый подшипник Деталей в узле: 1 11 | Art.: 17-9521811 шпонка, нержавеющая сталь Деталей в узле: 1 12 | Art.: 43-8037401 ведущая шестерня Деталей в узле: 1 цена по запросу
13 | Art.: 46-803750A02 Верхняя часть корпуса водяного насоса в сборе Деталей в узле: 1 14 | Art.: 8037511 вставка водяного насоса, нержавеющая сталь Деталей в узле: 1 15 | Art.: Шайба, нержавеющая сталь Деталей в узле: 4 цена по запросу
16 | Art.: Болт, нержавеющая сталь Деталей в узле: 4 17 | Art.: Крыльчатка Деталей в узле: 1 18 | Прокладка Деталей в узле: 1 19 | Art.: 8037531 Направляющая пластина, нержавеющая сталь Деталей в узле: 1 20 | Прокладка Деталей в узле: 1 21 | Art.: 46-803750A01 основание нижней части водяного насоса в сборе Деталей в узле: 1 22 | Art.: 26-95348 Сальник Деталей в узле: 1 23 | Art.: 15-8537955 регулировочная прокладка Деталей в узле: AR 24 | Art.: прокладка нижняя Деталей в узле: 1 25 | Art.: 16165 фиксатор Деталей в узле: 1 26 | Art.: Болт, нержавеющая сталь Деталей в узле: 1 цена по запросу
27 | Art.: 25-804903 резиновая втулка нижняя Деталей в узле: 1 28 | Art.: 853762T01 триммер Деталей в узле: 1 29 | Art.: 10-167051 Болт (M6 x 20) Деталей в узле: 1 30 | Art.: 32-803755005 Водяная труба (Long)Деталей в узле: 1 30 | Art.: 32-803755004 Водяная труба (Short)Деталей в узле: 1 31 | Art.: 25-804899002 Резиновая втулка верхняя Деталей в узле: 1 32 | Art.: болт Деталей в узле: 4 цена по запросу
33 | Art.: Шайба, нержавеющая сталь Деталей в узле: 4 цена по запросу
34 | Art.: 895155 Водяное уплотнение Деталей в узле: 1 35 | Art.: 895156 пластина водяного уплотнения Деталей в узле: 1 - | Art.: Нижний набор прокладок Деталей в узле: 1 цена по запросу - | редуктор в сборе (Long)Деталей в узле: 1 цена по запросу
- | Art.: 47-803748K01 Ремкомплект водяной крыльчатки (Mercury Brand)Деталей в узле: 1 - | Art.: 47-803748Q01 Ремкомплект водяной крыльчатки (Quicksilver Brand)Деталей в узле: 1 - | Art.: REPAIR KIT, Water Pump - Chrome Деталей в узле: 1 - | редуктор в сборе (Short)Деталей в узле: 1 цена по запросу
- | Art.: 46-803750A03 водяной насос Деталей в узле: 1 | |||||||||||||||||||||||||||||||||||||||||||
