20/25/JET 20 SEAPRO/MARATHON 15XD SUPER 15/JET 20) (2-STROKE)
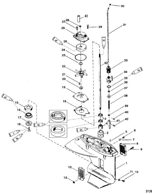
Gear Housing(Driveshaft) (2.25:1 Gear Ratio)
Gear Housing(Driveshaft) (2.25:1 Gear Ratio)
| № | Артикул | Наименование | Деталей в узле | Комментарий | Цена | |
| 1 | GEAR HOUSING ASSEMBLY, Basic-Black | 1 | (Black) | 137850 руб. | ||
| 2 | втулка | 1 | 6380 руб. | |||
| 3 | Уплотнение | 2 | 2230 руб. | |||
| 4 | роликовый подшипник | 1 | 3780 руб. | |||
| 5 | посадочный штифт (.187 x .530) | 2 | 500 руб. | |||
| 6 | комплект сливного винтов (0.375-16 x 0.250) | 1 | 760 руб. | |||
| 7 | шайба | 1 | цена по запросу | |||
| 8 | левый эран водяного впуска | 1 | 820 руб. | |||
| 9 | Винт (M5 x 40) | 1 | 350 руб. | |||
| 10 | FITTING KIT, Magnetic, Plug Fill/Drain | 1 | цена по запросу | |||
| 10 | комплект сливного винтов (0.375-16 x 0.250) | 1 | 760 руб. | |||
| 11 | шайба | 1 | цена по запросу | |||
| 12 | Экран | 1 | 820 руб. | |||
| 13 | Гайка (М5), нержавеющая сталь | 1 | 350 руб. | |||
| 14 | роликовый подшипник в сборе | 1 | 7160 руб. | |||
| 15 | NSS | ке продается по отдельности, крышка | 1 | |||
| 16 | винт (0.250-28 x 0.750) | 1 | цена по запросу | |||
| 17 | ведущая шестерня (12 зубьев) | 1 | 25060 руб. | |||
| 18 | Прокладка | 1 | 200 руб. | |||
| 19 | Пластина основания | 1 | 1790 руб. | |||
| 20 | шайба | 1 | снято с производства | |||
| 21 | шпонка | 1 | цена по запросу | |||
| 22 | Крыльчатка | 1 | 4100 руб. | |||
| 23 | шайба | 1 | снято с производства | |||
| 24 | уплотнительное кольцо | 1 | 500 руб. | |||
| 25 | Водяной насос в сборе | 1 | 8180 руб. | |||
| 26 | NSS | не продается по отдельности, впуск | 1 | |||
| 27 | Уплотнение | 1 | 640 руб. | |||
| 28 | резиновое уплотнительное кольцо | 1 | 180 руб. | |||
| 29 | Винт (M6 x 16) | 4 | 170 руб. | |||
| 30 | шайба (0.281 x 0.500 x 0.060) нержавеющая сталь | 1 | цена по запросу | |||
| 31 | вал механизма переключения передач | 1 | (Long Shaft) | снято с производства | ||
| 31 | вал механизма переключения передач | 1 | (Short Shaft) | снято с производства | ||
| 32 | Вертикальный вал | 1 | (Long Shaft) | цена по запросу | ||
| 32 | Вертикальный вал | 1 | (Short Shaft) | 65100 руб. | ||
| 33 | защитный чехол | 1 | 460 руб. | |||
| 34 | фиксатор | 1 | цена по запросу | |||
| 35 | уплотнительное кольцо (.734 x .139) | 1 | (.734 x .139) | 260 руб. | ||
| 36 | уплотнительное кольцо (.239 x .174) | 1 | (.239 x .174) | 330 руб. | ||
| 37 | шайба | 1 | 270 руб. | |||
| 38 | Пружина | 1 | 550 руб. | |||
| 39 | шайба (0.281 x 0.500 x 0.060) нержавеющая сталь | 1 | цена по запросу | |||
| 40 | стержень (.078 x .437) | 1 | 490 руб. | |||
| 41 | кулачок механизма переключения передач | 1 | 5070 руб. | |||
| 42 | PIN, Drive | 1 | 590 руб. | |||
| 43 | втулка | 1 | 850 руб. | |||
| - | Набор прокладок | 1 | 16960 руб. | |||
| - | Уплотнительный комплект | 1 | 13180 руб. | |||
| - | Корпус редуктора в сборе | 1 | (Short - Black) | снято с производства | ||
| - | Корпус редуктора в сборе | 1 | (Long - Black) | снято с производства | ||
| - | комплект водяного насоса | 1 | 13350 руб. | |||
| 1 | Art.: GEAR HOUSING ASSEMBLY, Basic-Black ((Black))Деталей в узле: 1 2 | Art.: 41121 втулка Деталей в узле: 1 3 | Art.: 26-99325 Уплотнение Деталей в узле: 2 4 | Art.: 31-41326 роликовый подшипник Деталей в узле: 1 5 | Art.: посадочный штифт (.187 x .530) Деталей в узле: 2 6 | Art.: комплект сливного винтов (0.375-16 x 0.250) Деталей в узле: 1 7 | Art.: шайба Деталей в узле: 1 цена по запросу
8 | Art.: 35-41133 левый эран водяного впуска Деталей в узле: 1 9 | Art.: 10-40031112 Винт (M5 x 40) Деталей в узле: 1 10 | FITTING KIT, Magnetic, Plug Fill/Drain Деталей в узле: 1 цена по запросу 10 | Art.: комплект сливного винтов (0.375-16 x 0.250) Деталей в узле: 1 11 | Art.: шайба Деталей в узле: 1 цена по запросу
12 | Art.: 35-41134 Экран Деталей в узле: 1 13 | Art.: 11-401365 Гайка (М5), нержавеющая сталь Деталей в узле: 1 14 | Art.: 31-98294A1 роликовый подшипник в сборе Деталей в узле: 1 15 | Art.: -NSS ке продается по отдельности, крышка Деталей в узле: 1 16 | Art.: 10-49908 винт (0.250-28 x 0.750) Деталей в узле: 1 цена по запросу
17 | Art.: 43-98302 ведущая шестерня (12 зубьев) Деталей в узле: 1 18 | Art.: 27-993261 Прокладка Деталей в узле: 1 19 | Art.: 85083 Пластина основания Деталей в узле: 1 20 | Art.: 12-866451 шайба Деталей в узле: 1 снято с производства 21 | Art.: шпонка Деталей в узле: 1 цена по запросу
22 | Art.: Крыльчатка Деталей в узле: 1 23 | Art.: 12-866451 шайба Деталей в узле: 1 снято с производства 24 | Art.: 25-69202 уплотнительное кольцо Деталей в узле: 1 25 | Art.: Водяной насос в сборе Деталей в узле: 1 26 | Art.: -NSS не продается по отдельности, впуск Деталей в узле: 1 27 | Art.: Уплотнение Деталей в узле: 1 28 | Art.: 25-86203 резиновое уплотнительное кольцо Деталей в узле: 1 29 | Art.: 10-8248324 Винт (M6 x 16) Деталей в узле: 4 30 | Art.: 12-29245 шайба (0.281 x 0.500 x 0.060) нержавеющая сталь Деталей в узле: 1 цена по запросу
31 | Art.: 862933 вал механизма переключения передач ((Long Shaft))Деталей в узле: 1 снято с производства 31 | Art.: вал механизма переключения передач ((Short Shaft))Деталей в узле: 1 снято с производства 32 | Art.: 45-99198 Вертикальный вал ((Long Shaft))Деталей в узле: 1 цена по запросу
32 | Art.: 45-99199 Вертикальный вал ((Short Shaft))Деталей в узле: 1 33 | Art.: защитный чехол Деталей в узле: 1 34 | Art.: 93878 фиксатор Деталей в узле: 1 цена по запросу
35 | Art.: 25-35276 уплотнительное кольцо (.734 x .139) ((.734 x .139))Деталей в узле: 1 36 | Art.: 25-85594 уплотнительное кольцо (.239 x .174) ((.239 x .174))Деталей в узле: 1 37 | Art.: 12-85091 шайба Деталей в узле: 1 38 | Art.: 24-93007 Пружина Деталей в узле: 1 39 | Art.: 12-29245 шайба (0.281 x 0.500 x 0.060) нержавеющая сталь Деталей в узле: 1 цена по запросу
40 | Art.: 17-85593 стержень (.078 x .437) Деталей в узле: 1 41 | Art.: 85562A2 кулачок механизма переключения передач Деталей в узле: 1 42 | Art.: 17-85096 PIN, Drive Деталей в узле: 1 43 | Art.: 23-29804T втулка Деталей в узле: 1 - | Art.: Набор прокладок Деталей в узле: 1 - | Art.: 26-85090A2 Уплотнительный комплект Деталей в узле: 1 - | Art.: 1665-8669T26 Корпус редуктора в сборе ((Short - Black))Деталей в узле: 1 снято с производства - | Art.: 1665-8669T28 Корпус редуктора в сборе ((Long - Black))Деталей в узле: 1 снято с производства - | Art.: 46-99157T2 комплект водяного насоса Деталей в узле: 1 | ||||||||||||||||||||||||||||||||||||||||||||||||||||
