2.5L (EFI) 2.5L (EFI-OFFSHORE)
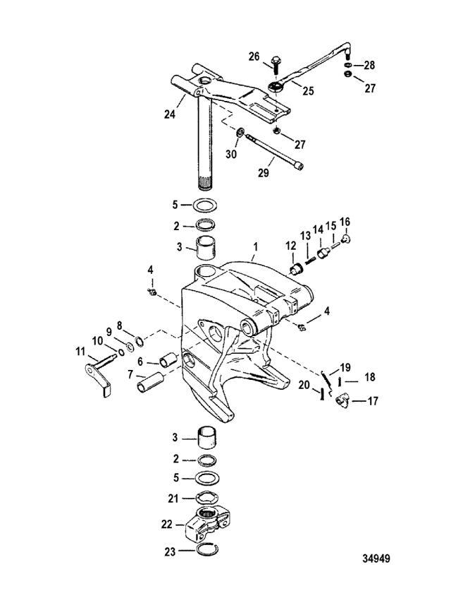
поворотный кронштейн и рычаг рулевого управления
поворотный кронштейн и рычаг рулевого управления
| № | Артикул | Наименование | Деталей в узле | Комментарий | Цена | |
| 1 | поворотный кронштейн в сборе | 1 | (BLACK) SHORT | цена по запросу | ||
| 1 | поворотный кронштейн в сборе | 1 | (GRAY) SHORT | снято с производства | ||
| 1 | поворотный кронштейн в сборе | 1 | (BLACK) LONG | цена по запросу | ||
| 1 | поворотный кронштейн в сборе | 1 | (GRAY) LONG | снято с производства | ||
| 2 | Сальник | 2 | 3620 руб. | |||
| 3 | Подшипник | 2 | 6490 руб. | |||
| 4 | пресс-масленка | 4 | цена по запросу | |||
| 5 | Подшипник | 2 | 2880 руб. | |||
| 6 | BEARING (1-1/2 IN.) | 2 | 5040 руб. | |||
| 7 | BEARING (2-1/2 IN.) | 2 | (SHORT MODELS) | 9670 руб. | ||
| 8 | Сальник | 2 | 2590 руб. | |||
| 9 | шайба | 2 | 200 руб. | |||
| 10 | уплотнительное кольцо (0.364. x 0.070) | 2 | 160 руб. | |||
| 11 | рычаг фиксатора наклона в сборе, левый | 1 | BLACK | цена по запросу | ||
| 11 | рычаг фиксатора наклона в сборе, правый | 1 | BLACK | снято с производства | ||
| 11 | рычаг фиксатора наклона в сборе, левый | 1 | GRAY | снято с производства | ||
| 11 | рычаг фиксатора наклона в сборе, правый | 1 | GRAY | снято с производства | ||
| 12 | вкладыш | 1 | 8530 руб. | |||
| 13 | Пружина | 1 | 1730 руб. | |||
| 14 | плунжер | 1 | 1690 руб. | |||
| 15 | шпилька | 1 | снято с производства | |||
| 16 | кнопка | 1 | цена по запросу | |||
| 17 | муфта | 1 | 3100 руб. | |||
| 18 | шпонка | 2 | 590 руб. | |||
| 19 | Пружина | 1 | 1970 руб. | |||
| 20 | шплинт | 1 | 550 руб. | |||
| 21 | пружинная шайба | 1 | 1540 руб. | |||
| 22 | YOKE, Bottom | 1 | (BLACK) | цена по запросу | ||
| 22 | YOKE, Bottom | 1 | (GRAY) | снято с производства | ||
| 23 | RING, Retaining - Spiral Lock | 2 | 3550 руб. | |||
| 24 | SWIVEL PIN ASSEMBLY, Steering Arm | (GRAY) | цена по запросу | |||
| 24 | SWIVEL PIN ASSEMBLY, Steering Arm | 1 | (BLACK) LONG | цена по запросу | ||
| 24 | SWIVEL PIN ASSEMBLY, Steering Arm | 1 | (GRAY) SHORT | цена по запросу | ||
| 24 | SWIVEL PIN ASSEMBLY, Steering Arm | 1 | (BLACK) SHORT | цена по запросу | ||
| 25 | привод рулевого управления в сборе | 1 | 14420 руб. | |||
| 26 | винт (.375-24 x 1.25) | 1 | 2230 руб. | |||
| 27 | гайка (.375-24) | 2 | цена по запросу | |||
| 28 | Шайба (0.390 x 0.625 x 0.062), нержавеющая сталь | 2 | 70 руб. | |||
| 29 | винт | 2 | 3020 руб. | |||
| 30 | шайба | 2 | 1120 руб. | |||
| 1 | поворотный кронштейн в сборе ((BLACK) SHORT)Деталей в узле: 1 цена по запросу 1 | Art.: 3521-818810A7 поворотный кронштейн в сборе ((GRAY) SHORT)Деталей в узле: 1 снято с производства 1 | Art.: 1491-847723A3 поворотный кронштейн в сборе ((BLACK) LONG)Деталей в узле: 1 цена по запросу
1 | Art.: 1491-847723A4 поворотный кронштейн в сборе ((GRAY) LONG)Деталей в узле: 1 снято с производства 2 | Art.: 26-847729 Сальник Деталей в узле: 2 3 | Art.: 23-847726 Подшипник Деталей в узле: 2 4 | Art.: 22-74036 пресс-масленка Деталей в узле: 4 цена по запросу
5 | Art.: 23-847728 Подшипник Деталей в узле: 2 6 | Art.: 23-82203524 BEARING (1-1/2 IN.) Деталей в узле: 2 7 | Art.: 23-82203540 BEARING (2-1/2 IN.) ((SHORT MODELS))Деталей в узле: 2 8 | Art.: 26-85023 Сальник Деталей в узле: 2 9 | Art.: 12-87161 шайба Деталей в узле: 2 10 | Art.: 25-48171 уплотнительное кольцо (0.364. x 0.070) Деталей в узле: 2 11 | Art.: 85030A2 рычаг фиксатора наклона в сборе, левый (BLACK)Деталей в узле: 1 цена по запросу
11 | Art.: 85028A2 рычаг фиксатора наклона в сборе, правый (BLACK)Деталей в узле: 1 снято с производства 11 | Art.: 85030A3 рычаг фиксатора наклона в сборе, левый (GRAY)Деталей в узле: 1 снято с производства 11 | Art.: 85028A3 рычаг фиксатора наклона в сборе, правый (GRAY)Деталей в узле: 1 снято с производства 12 | Art.: 23-86600 вкладыш Деталей в узле: 1 13 | Art.: 24-85367 Пружина Деталей в узле: 1 14 | Art.: 41052 плунжер Деталей в узле: 1 15 | Art.: 16-88876 шпилька Деталей в узле: 1 снято с производства 16 | Art.: 86603 кнопка Деталей в узле: 1 цена по запросу
17 | Art.: 864751 муфта Деталей в узле: 1 18 | Art.: 17-69745 шпонка Деталей в узле: 2 19 | Art.: 24-88049 Пружина Деталей в узле: 1 20 | Art.: 18-93861 шплинт Деталей в узле: 1 21 | Art.: 13-78854 пружинная шайба Деталей в узле: 1 22 | Art.: 86580F4 YOKE, Bottom ((BLACK))Деталей в узле: 1 цена по запросу
22 | Art.: 86580F5 YOKE, Bottom ((GRAY))Деталей в узле: 1 снято с производства 23 | Art.: 53-848125 RING, Retaining - Spiral Lock Деталей в узле: 2 24 | SWIVEL PIN ASSEMBLY, Steering Arm ((GRAY))Деталей в узле: цена по запросу 24 | SWIVEL PIN ASSEMBLY, Steering Arm ((BLACK) LONG)Деталей в узле: 1 цена по запросу 24 | SWIVEL PIN ASSEMBLY, Steering Arm ((GRAY) SHORT)Деталей в узле: 1 цена по запросу 24 | SWIVEL PIN ASSEMBLY, Steering Arm ((BLACK) SHORT)Деталей в узле: 1 цена по запросу 25 | привод рулевого управления в сборе Деталей в узле: 1 26 | Art.: винт (.375-24 x 1.25) Деталей в узле: 1 27 | Art.: гайка (.375-24) Деталей в узле: 2 цена по запросу
28 | Art.: 12-37828 Шайба (0.390 x 0.625 x 0.062), нержавеющая сталь Деталей в узле: 2 |
