75/80/90/100/115 EFI 4-STROKE
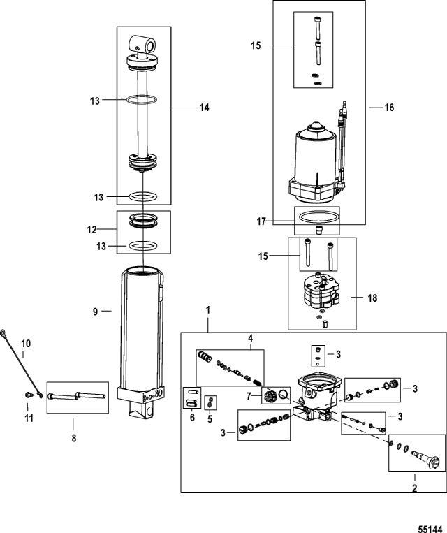
Power Trim Assembly - Components, Design II
Power Trim Assembly - Components, Design II
| № | Артикул | Наименование | Деталей в узле | Комментарий | Цена | |
| 1 | Комплект трубопровода | 1 | 75370 руб. | |||
| 2 | VALVE KIT, Relief | 1 | 7680 руб. | |||
| 3 | комплект клапана | 1 | 24180 руб. | |||
| 4 | VALVE KIT - (TRIM LIMIT) | 1 | 25210 руб. | |||
| 5 | уплотнительное кольцо | 2 | ||||
| 6 | DOWEL PINS | 3 | ||||
| 7 | пробка в сборе | 1 | 3660 руб. | |||
| 8 | SCREW, (.250-20 x 2.250) | 2 | 560 руб. | |||
| 9 | Цилиндр в сборе | 1 | 41760 руб. | |||
| 10 | Кабель в сборе | 1 | цена по запросу | |||
| 11 | винт | 1 | ||||
| 12 | Запоминающий поршень в сборе | 1 | цена по запросу | |||
| 13 | комплект уплотнительных колец | 1 | 2950 руб. | |||
| 14 | поршень-аммортизатор в сборе | 1 | цена по запросу | |||
| 15 | SCREW KIT (COMPLETE TRIM) | 1 | 4710 руб. | |||
| 16 | Комплект мотора | 1 | 73870 руб. | |||
| 17 | COUPLING / DRIVESHAFT KIT | 1 | 4400 руб. | |||
| 18 | Насос в сборе | 1 | 42620 руб. | |||
| - | O-RING KIT, Power Trim | 1 | цена по запросу | |||
| 1 | Art.: 8M0089943 Комплект трубопровода Деталей в узле: 1 2 | Art.: 893929A01 VALVE KIT, Relief Деталей в узле: 1 3 | Art.: 8M0089945 комплект клапана Деталей в узле: 1 4 | Art.: 8M0090404 VALVE KIT - (TRIM LIMIT) Деталей в узле: 1 5 | Art.: -833063 уплотнительное кольцо Деталей в узле: 2 6 | Art.: -8M0055260 DOWEL PINS Деталей в узле: 3 7 | Art.: 19-811613 пробка в сборе Деталей в узле: 1 8 | Art.: 10-833047 SCREW, (.250-20 x 2.250) Деталей в узле: 2 9 | Art.: 8M0089941 Цилиндр в сборе Деталей в узле: 1 10 | Art.: 88238A13 Кабель в сборе Деталей в узле: 1 цена по запросу
11 | Art.: 10-8M6002690 винт Деталей в узле: 1 12 | Art.: 810776A1 Запоминающий поршень в сборе Деталей в узле: 1 цена по запросу
13 | Art.: комплект уплотнительных колец Деталей в узле: 1 14 | Art.: 8M0089942 поршень-аммортизатор в сборе Деталей в узле: 1 цена по запросу
15 | Art.: 10-8M0089946 SCREW KIT (COMPLETE TRIM) Деталей в узле: 1 16 | Art.: Комплект мотора Деталей в узле: 1 17 | Art.: 8M0090403 COUPLING / DRIVESHAFT KIT Деталей в узле: 1 18 | Art.: 8M0089944 Насос в сборе Деталей в узле: 1 - | Art.: 25-8M0089947 O-RING KIT, Power Trim Деталей в узле: 1 цена по запросу
| ||||||||||||||||||||
