6/8/9.9/15 HP
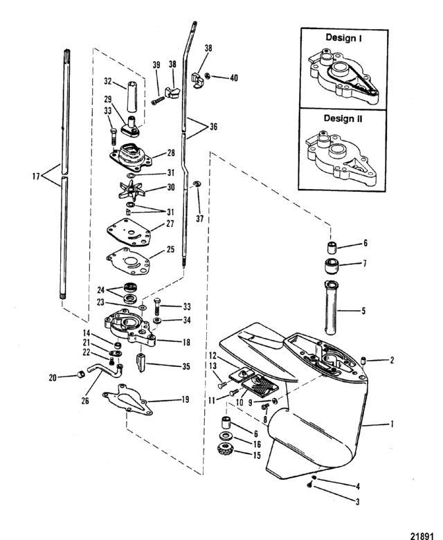
Gear Hsg(Driveshaft-Design I-Refer to Reference #17)
Gear Hsg(Driveshaft-Design I-Refer to Reference #17)
| № | Артикул | Наименование | Деталей в узле | Комментарий | Цена | |
| 1 | корпус редуктора в сборе (черный) | 1 | снято с производства | |||
| 1 | корпус редуктора в сборе (серый) | 1 | снято с производства | |||
| 2 | вкладыш (0.31 x 0.45 x 0.50) | 1 | 270 руб. | |||
| 3 | SCREW, Magnetic | 1 | цена по запросу | |||
| 4 | WASHER, Fiber | 1 | цена по запросу | |||
| 5 | SLEEVE KIT | 1 | снято с производства | |||
| 6 | втулка | 2 | 1260 руб. | |||
| 7 | втулка | 1 | снято с производства | |||
| 8 | винт (#10-32 x 0.25) | 1 | 270 руб. | |||
| 8 | винт (0.375-16 x 0.250) | 1 | цена по запросу | |||
| 9 | WASHER, Fiber (USE WITH .375-16 X .250 SCREW) | 1 | цена по запросу | |||
| 9 | SEAL (USE WITH 10-32 SCREW) | 1 | 100 руб. | |||
| 10 | Экран | 1 | 730 руб. | |||
| 11 | винт (0.250-14 x 0.88) | 1 | 510 руб. | |||
| 12 | анод в сборе | 1 | 1150 руб. | |||
| 13 | винт (0.250-14 x 0.88) | 1 | 510 руб. | |||
| 14 | Уплотнение | 1 | 150 руб. | |||
| 15 | ведущая шестерня | 1 | 22220 руб. | |||
| 16 | упорная шайба | 1 | 550 руб. | |||
| 17 | вертикальный вал (короткий) | 1 | 38970 руб. | |||
| 17 | DRIVESHAFT (X-LONG) | 1 | снято с производства | |||
| 17 | вертикальный вал (длинный) | 1 | снято с производства | |||
| 18 | основание водяного насоса в сборе | 1 | 5720 руб. | |||
| 19 | No Longer Available, GASKET (SEE DESIGN I DRAWING) | 1 | (DESIGN I WATER PUMP BASE WITH A RAISED RIB - REPLACEMENT GASKET IS NLA. ORDER COMPLETE WATER PUMP BASE ASSY 46-42040A3) | |||
| 19 | GASKET (SEE DESIGN II DRAWING) | 1 | (DESIGN II WATER PUMP BASE WITH A FLAT SURFACE - REPLACEMENT GASKET IS 27-19204--2) | снято с производства | ||
| 20 | Уплотнение | 1 | 590 руб. | |||
| 21 | фиксатор | 1 | 200 руб. | |||
| 22 | Винт (#10-16 x 0.500) | 1 | 220 руб. | |||
| 23 | кольцо с квадратным сечением | 1 | 270 руб. | |||
| 24 | Сальник | 2 | 1150 руб. | |||
| 25 | прокладка пластины водяного насоса | 1 | 550 руб. | |||
| 26 | Водяная труба в сборе | 1 | 3090 руб. | |||
| 27 | Пластина основания | 1 | 1720 руб. | |||
| 28 | крышка в сборе | 1 | 3960 руб. | |||
| 29 | Уплотнение | 1 | 770 руб. | |||
| 30 | Крыльчатка | 1 | 4460 руб. | |||
| 31 | шпонка в сборе | 1 | 510 руб. | |||
| 32 | Направляющая | 1 | снято с производства | |||
| 33 | SCREW, (M6 x 30), WATER PUMP | 5 | 360 руб. | |||
| 34 | шайба (0.281 x 0.500 x 0.060) нержавеющая сталь | 1 | цена по запросу | |||
| 35 | кулачок механизма переключения передач | 1 | 2050 руб. | |||
| 36 | вал механизма переключения передач (X-Long) | 1 | снято с производства | |||
| 36 | SHIFT SHAFT (LONG) | 1 | 13800 руб. | |||
| 36 | SHIFT SHAFT (SHORT) | 1 | 11180 руб. | |||
| 37 | Е-обазная стопорная шайба | 1 | 120 руб. | |||
| 38 | Направляющая | 2 | 7640 руб. | |||
| 39 | винт (M5 x 25) | 1 | 270 руб. | |||
| 40 | NUT, (M5), GUIDE SCREW | 1 | 550 руб. | |||
| - | комплект водяного насоса | 1 | 17850 руб. | |||
| - | Уплотнительный комплект | 1 | 9220 руб. | |||
| - | GEAR HOUSING ASSEMBLY, COMPLETE (SHORT) (BLACK) | 1 | 222410 руб. | |||
| - | GEAR HOUSING ASSEMBLY, COMPLETE (LONG) (BLACK) | 1 | 200880 руб. | |||
| - | GEAR HOUSING ASSEMBLY, COMPLETE (SHORT) (GRAY) | 1 | снято с производства | |||
| - | GEAR HOUSING ASSEMBLY, COMPLETE (LONG) (GRAY) | 1 | не посталяется заказывайте 8833T15 | |||
| - | Набор прокладок двигателя | 1 | 16450 руб. | |||
| 1 | Art.: 1666-8833A1 корпус редуктора в сборе (черный) Деталей в узле: 1 снято с производства 1 | Art.: 1666-8833A4 корпус редуктора в сборе (серый) Деталей в узле: 1 снято с производства 2 | Art.: 23-12009 вкладыш (0.31 x 0.45 x 0.50) Деталей в узле: 1 3 | SCREW, Magnetic Деталей в узле: 1 цена по запросу 4 | WASHER, Fiber Деталей в узле: 1 цена по запросу
5 | Art.: 42086A1 SLEEVE KIT Деталей в узле: 1 снято с производства 6 | Art.: 23-41345 втулка Деталей в узле: 2 7 | Art.: втулка Деталей в узле: 1 снято с производства 8 | Art.: 10-28653 винт (#10-32 x 0.25) Деталей в узле: 1 8 | винт (0.375-16 x 0.250) Деталей в узле: 1 цена по запросу 9 | WASHER, Fiber (USE WITH .375-16 X .250 SCREW) Деталей в узле: 1 цена по запросу
9 | Art.: 19643 SEAL (USE WITH 10-32 SCREW) Деталей в узле: 1 10 | Art.: 35-421991 Экран Деталей в узле: 1 11 | Art.: 10-13954 винт (0.250-14 x 0.88) Деталей в узле: 1 12 | Art.: анод в сборе Деталей в узле: 1 13 | Art.: 10-13954 винт (0.250-14 x 0.88) Деталей в узле: 1 14 | Art.: 26-42133 Уплотнение Деталей в узле: 1 15 | Art.: 43-420411 ведущая шестерня Деталей в узле: 1 16 | Art.: 12-41369 упорная шайба Деталей в узле: 1 17 | Art.: 45-42192 вертикальный вал (короткий) Деталей в узле: 1 17 | Art.: 45-12367 DRIVESHAFT (X-LONG) Деталей в узле: 1 снято с производства 17 | Art.: 45-42193 вертикальный вал (длинный) Деталей в узле: 1 снято с производства 18 | основание водяного насоса в сборе Деталей в узле: 1 19 | Art.: -NLA No Longer Available, GASKET (SEE DESIGN I DRAWING) ((DESIGN I WATER PUMP BASE WITH A RAISED RIB - REPLACEMENT GASKET IS NLA. ORDER COMPLETE WATER PUMP BASE ASSY 46-42040A3))Деталей в узле: 1 19 | Art.: 27-192041 GASKET (SEE DESIGN II DRAWING) ((DESIGN II WATER PUMP BASE WITH A FLAT SURFACE - REPLACEMENT GASKET IS 27-19204--2))Деталей в узле: 1 снято с производства 20 | Art.: 26-33613 Уплотнение Деталей в узле: 1 21 | Art.: 42375 фиксатор Деталей в узле: 1 22 | Art.: 10-48408 Винт (#10-16 x 0.500) Деталей в узле: 1 23 | Art.: 25-822236 кольцо с квадратным сечением Деталей в узле: 1 24 | Art.: Сальник Деталей в узле: 2 25 | Art.: прокладка пластины водяного насоса Деталей в узле: 1 26 | Art.: 32-42185A1 Водяная труба в сборе Деталей в узле: 1 27 | Art.: 42200 Пластина основания Деталей в узле: 1 28 | Art.: 46-42089A2 крышка в сборе Деталей в узле: 1 29 | Art.: 26-421021 Уплотнение Деталей в узле: 1 30 | Art.: Крыльчатка Деталей в узле: 1 31 | шпонка в сборе Деталей в узле: 1 32 | Art.: 44467 Направляющая Деталей в узле: 1 снято с производства 33 | Art.: 10-4000331 SCREW, (M6 x 30), WATER PUMP Деталей в узле: 5 34 | Art.: 12-29245 шайба (0.281 x 0.500 x 0.060) нержавеющая сталь Деталей в узле: 1 цена по запросу
35 | Art.: 42039 кулачок механизма переключения передач Деталей в узле: 1 36 | Art.: 12368 вал механизма переключения передач (X-Long) Деталей в узле: 1 снято с производства 36 | Art.: SHIFT SHAFT (LONG) Деталей в узле: 1 36 | Art.: SHIFT SHAFT (SHORT) Деталей в узле: 1 37 | Art.: 53-42389 Е-обазная стопорная шайба Деталей в узле: 1 38 | Art.: Направляющая Деталей в узле: 2 39 | Art.: винт (M5 x 25) Деталей в узле: 1 40 | Art.: NUT, (M5), GUIDE SCREW Деталей в узле: 1 - | Art.: 46-42089A5 комплект водяного насоса Деталей в узле: 1 - | Art.: 26-41365A3 Уплотнительный комплект Деталей в узле: 1 - | GEAR HOUSING ASSEMBLY, COMPLETE (SHORT) (BLACK) Деталей в узле: 1 - | GEAR HOUSING ASSEMBLY, COMPLETE (LONG) (BLACK) Деталей в узле: 1 - | GEAR HOUSING ASSEMBLY, COMPLETE (SHORT) (GRAY) Деталей в узле: 1 снято с производства - | GEAR HOUSING ASSEMBLY, COMPLETE (LONG) (GRAY) Деталей в узле: 1 не посталяется заказывайте 8833T15 - | Art.: 27-42364A92 Набор прокладок двигателя Деталей в узле: 1 | ||||||||||||||||||||||||||||||||||||||||||||||||||||||||
