FORCE 75/90
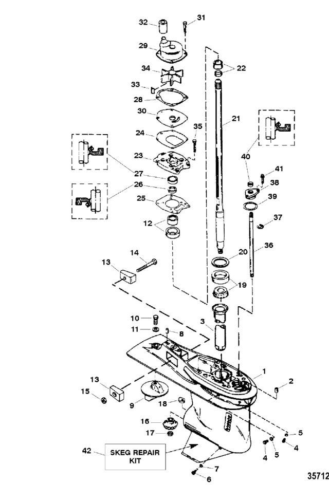
Корпус редуктора в сборе, вертикальный вал
Корпус редуктора в сборе, вертикальный вал
| № | Артикул | Наименование | Деталей в узле | Комментарий | Цена | |
| 1 | GEAR HOUSING ASSEMBLY, Complete (Painted) | 1 | (LONG MODELS) | цена по запросу | ||
| 1 | GEAR HOUSING ASSEMBLY, Complete (Painted) | 1 | (X-LONG MODELS) | цена по запросу | ||
| 1 | GEAR HOUSING ASSEMBLY, Basic (Painted) | 1 | не посталяется заказывайте 9011J42 | |||
| 2 | PIN, Dowel - With Hole (.375 x .625) (Front) | 1 | 310 руб. | |||
| 3 | Масляная трубка | 1 | 3460 руб. | |||
| 4 | SCREW KIT, (.375-16 x .250) , Drain | 2 | 760 руб. | |||
| 5 | WASHER, Fiber, Sealing | 2 | цена по запросу | |||
| 6 | FITTING KIT, Magnetic, Plug Fill/Drain | 1 | цена по запросу | |||
| 7 | WASHER, Fiber, Sealing | 1 | цена по запросу | |||
| 8 | PIN, Dowel - Without Hole (.375 x .625) (Rear) | 1 | 270 руб. | |||
| 9 | триммер | 1 | цена по запросу | |||
| 10 | винт (0.437-14 x 1.250), нержавеющая сталь | 1 | 750 руб. | |||
| 11 | шайба (0.453 x 0.812 x 0.105) нержавеющая сталь | 1 | 160 руб. | |||
| 12 | CARRIER ASSEMBLY (With Bearing) | 1 | 10680 руб. | |||
| 13 | анод | 2 | 1570 руб. | |||
| 14 | Винт (M6 x 40) | 1 | 390 руб. | |||
| 15 | Гайка (М6) | 1 | цена по запросу | |||
| 16 | GEAR, Pinion (13 Teeth) (2.31:1 Ratio) | 1 | 40420 руб. | |||
| 17 | гайка (0.625-18) | 1 | 800 руб. | |||
| 18 | Кулачок вала механизма переключения передач | 1 | 5510 руб. | |||
| 19 | BEARING ASSEMBLY, Tapered Roller (Cone And Cup) | 1 | 9490 руб. | |||
| 20 | набор регулировочных прокладок | 1 | снято с производства | |||
| 21 | Вертикальный вал в сборе | 1 | (X-LONG MODELS) | 65580 руб. | ||
| 21 | Вертикальный вал в сборе | 1 | (LONG MODELS) | 48690 руб. | ||
| 22 | втулка / комплект колец | 1 | 3310 руб. | |||
| 23 | крышка водяного насоса в сборе | 1 | снято с производства | |||
| 24 | Прокладка | 1 | 1230 руб. | |||
| 25 | Прокладка | 1 | 1480 руб. | |||
| 26 | Нижний сальник | 1 | 1950 руб. | |||
| 27 | верхний сальник | 1 | 2520 руб. | |||
| 28 | GASKET (Also Included With Water Pump Kit 817275A2) | 1 | 510 руб. | |||
| 29 | комплект корпуса, верхняя часть водяного насоса | 1 | 11890 руб. | |||
| 30 | Пластина основания | 1 | 1520 руб. | |||
| 31 | Винт (М6 х 30) | 4 | 270 руб. | |||
| 32 | Уплотнение водяной трубы | 1 | 1220 руб. | |||
| 33 | KEY, Impeller Drive | 1 | цена по запросу | |||
| 34 | Крыльчатка | 1 | 4410 руб. | |||
| 35 | Винт (M6 x 25) | 6 | 240 руб. | |||
| 36 | SHIFT SHAFT ASSEMBLY, Shift | 1 | (X-LONG MODELS) | 15330 руб. | ||
| 36 | SHIFT SHAFT ASSEMBLY, Shift | 1 | (LONG MODELS) | 12870 руб. | ||
| 37 | Е-обазная стопорная шайба | 1 | 180 руб. | |||
| 38 | вкладыш вала механизма переключения передач в сборе | 1 | 6180 руб. | |||
| 39 | уплотнительное кольцо (1.424 x 0.103) | 1 | 300 руб. | |||
| 40 | Сальник | 1 | 1910 руб. | |||
| 41 | Винт (M6 x 25) | 2 | 240 руб. | |||
| 42 | SKEG KIT, Gear Housing Repair | 1 | 28680 руб. | |||
| - | Ремкомплект водяной помпы | 1 | 26130 руб. | |||
| - | Набор уплотнений корпуса редуктора | 1 | 11770 руб. | |||
| 1 | GEAR HOUSING ASSEMBLY, Complete (Painted) ((LONG MODELS))Деталей в узле: 1 цена по запросу 1 | GEAR HOUSING ASSEMBLY, Complete (Painted) ((X-LONG MODELS))Деталей в узле: 1 цена по запросу 1 | Art.: GEAR HOUSING ASSEMBLY, Basic (Painted) Деталей в узле: 1 не посталяется заказывайте 9011J42 2 | Art.: PIN, Dowel - With Hole (.375 x .625) (Front) Деталей в узле: 1 3 | Art.: 43046 Масляная трубка Деталей в узле: 1 4 | SCREW KIT, (.375-16 x .250) , Drain Деталей в узле: 2 5 | WASHER, Fiber, Sealing Деталей в узле: 2 цена по запросу
6 | FITTING KIT, Magnetic, Plug Fill/Drain Деталей в узле: 1 цена по запросу 7 | WASHER, Fiber, Sealing Деталей в узле: 1 цена по запросу
8 | Art.: 17-43044 PIN, Dowel - Without Hole (.375 x .625) (Rear) Деталей в узле: 1 9 | триммер Деталей в узле: 1 цена по запросу
10 | Art.: 10-825427 винт (0.437-14 x 1.250), нержавеющая сталь Деталей в узле: 1 11 | Art.: 12-45176 шайба (0.453 x 0.812 x 0.105) нержавеющая сталь Деталей в узле: 1 12 | Art.: CARRIER ASSEMBLY (With Bearing) Деталей в узле: 1 13 | Art.: анод Деталей в узле: 2 14 | Art.: 10-4000333 Винт (M6 x 40) Деталей в узле: 1 15 | Art.: Гайка (М6) Деталей в узле: 1 цена по запросу 16 | Art.: GEAR, Pinion (13 Teeth) (2.31:1 Ratio) Деталей в узле: 1 17 | Art.: 11-35921 гайка (0.625-18) Деталей в узле: 1 18 | Art.: 850307 Кулачок вала механизма переключения передач Деталей в узле: 1 19 | Art.: 31-42677A1 BEARING ASSEMBLY, Tapered Roller (Cone And Cup) Деталей в узле: 1 20 | Art.: 15-44492A1 набор регулировочных прокладок Деталей в узле: 1 снято с производства 21 | Art.: 45-43032A4 Вертикальный вал в сборе ((X-LONG MODELS))Деталей в узле: 1 21 | Art.: 45-43031A1 Вертикальный вал в сборе ((LONG MODELS))Деталей в узле: 1 22 | Art.: 42461A1 втулка / комплект колец Деталей в узле: 1 23 | Art.: 43055A4 крышка водяного насоса в сборе Деталей в узле: 1 снято с производства 24 | Art.: 27-430331 Прокладка Деталей в узле: 1 25 | Art.: Прокладка Деталей в узле: 1 26 | Art.: 26-43036 Нижний сальник Деталей в узле: 1 27 | Art.: 26-43035 верхний сальник Деталей в узле: 1 28 | Art.: GASKET (Also Included With Water Pump Kit 817275A2) Деталей в узле: 1 29 | Art.: 817275A2 комплект корпуса, верхняя часть водяного насоса Деталей в узле: 1 30 | Art.: Пластина основания Деталей в узле: 1 31 | Art.: 10-82684430 Винт (М6 х 30) Деталей в узле: 4 32 | Art.: 430232 Уплотнение водяной трубы Деталей в узле: 1 33 | Art.: KEY, Impeller Drive Деталей в узле: 1 цена по запросу
34 | Крыльчатка Деталей в узле: 1 35 | Art.: 10-82684425 Винт (M6 x 25) Деталей в узле: 6 36 | Art.: 853908A1 SHIFT SHAFT ASSEMBLY, Shift ((X-LONG MODELS))Деталей в узле: 1 36 | Art.: 853906A1 SHIFT SHAFT ASSEMBLY, Shift ((LONG MODELS))Деталей в узле: 1 37 | Art.: 53-29641 Е-обазная стопорная шайба Деталей в узле: 1 38 | Art.: 23-43052A4 вкладыш вала механизма переключения передач в сборе Деталей в узле: 1 39 | уплотнительное кольцо (1.424 x 0.103) Деталей в узле: 1 40 | Art.: Сальник Деталей в узле: 1 41 | Art.: 10-82684425 Винт (M6 x 25) Деталей в узле: 2 42 | Art.: SKEG KIT, Gear Housing Repair Деталей в узле: 1 - | Art.: Ремкомплект водяной помпы Деталей в узле: 1 - | Art.: 26-43035A4 Набор уплотнений корпуса редуктора Деталей в узле: 1 | |||||||||||||||||||||||||||||||||||||||||||||||||
