6/8/9.9/15 HP
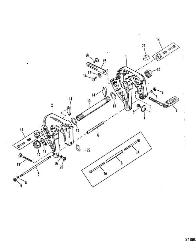
кронштейн крепления двигателя
кронштейн крепления двигателя
| № | Артикул | Наименование | Деталей в узле | Комментарий | Цена | |
| 1 | CLAMP BRACKET ASSEMBLY (PORT) (BLACK) | 1 | 46350 руб. | |||
| 1 | CLAMP BRACKET ASSEMBLY (PORT) (GRAY) | 1 | снято с производства | |||
| 2 | CLAMP BRACKET ASSEMBLY (STARBOARD) (BLACK) | 1 | снято с производства | |||
| 2 | CLAMP BRACKET ASSEMBLY (STARBOARD) (GRAY) | 1 | снято с производства | |||
| 3 | THUMB SCREW ASSEMBLY, (14 mm) | 2 | 8300 руб. | |||
| 3 | упорный винт в сборе (16 мм) | 2 | 6130 руб. | |||
| 4 | шайба струбцинного винта с откидной ручкой | 2 | снято с производства | |||
| 5 | винт присоединения шайбы | 2 | 340 руб. | |||
| 6 | проставка шпильки кронштейна крепления двигателя | 1 | (STUD ASSEMBLY) | снято с производства | ||
| 6 | проставка | 1 | (SCREW ASSEMBLY) | 1400 руб. | ||
| 7 | шпилька кронштейна крепления двигателя | 1 | (STUD ASSEMBLY) | снято с производства | ||
| 7A | Винт (M6 x 40) | 2 | (SCREW ASSEMBLY) | 390 руб. | ||
| 8 | LOCKWASHER, (M6), CLAMP BRACKET STUD | 2 | (STUD ASSEMBLY) | 200 руб. | ||
| 9 | NUT, (M6) Stainless Steel, CLAMP BRACKET STUD | 2 | (STUD ASSEMBLY) | 230 руб. | ||
| 10 | труба механизма наклона | 1 | (NOTE: USE 30664 ON ELECTRIC LONG W/REMOTE CONTROL.) | 7750 руб. | ||
| 11 | CLIP, SAFETY | 1 | 1000 руб. | |||
| 12 | NUT, (.875), TILT TUBE | 2 | 380 руб. | |||
| 13 | WASHER, Nylon, TILT TUBE | 2 | 230 руб. | |||
| 14 | LEVER ASSEMBLY, Tilt Return | 2 | 3000 руб. | |||
| 15 | прижимная пластина фиксатора наклона (левая сторона) | 1 | 1950 руб. | |||
| 16 | SCREW, (M6 x 1.0), STRAP TO CLAMP BRACKET | 2 | 760 руб. | |||
| 17 | WAVE WASHER, TILT STOP STRAT SCREW | 1 | 230 руб. | |||
| 18 | BOLT, (.250-20 x 3.50), CLAMP TO TRANSOM | 2 | 630 руб. | |||
| 19 | шайба болта кронштейна крепления двигателя | 2 | 360 руб. | |||
| 21 | SHUTTLE, TILT LOCK (NEW DESIGN) | 1 | 610 руб. | |||
| 22 | DECAL, Tilt Position | 1 | 400 руб. | |||
| 1 | Art.: CLAMP BRACKET ASSEMBLY (PORT) (BLACK) Деталей в узле: 1 1 | Art.: CLAMP BRACKET ASSEMBLY (PORT) (GRAY) Деталей в узле: 1 снято с производства 2 | Art.: 3403-8892A3 CLAMP BRACKET ASSEMBLY (STARBOARD) (BLACK) Деталей в узле: 1 снято с производства 2 | Art.: 3403-8892A4 CLAMP BRACKET ASSEMBLY (STARBOARD) (GRAY) Деталей в узле: 1 снято с производства 3 | Art.: 10-92767A1 THUMB SCREW ASSEMBLY, (14 mm) Деталей в узле: 2 3 | Art.: 10-92767A3 упорный винт в сборе (16 мм) Деталей в узле: 2 4 | Art.: 12-73719 шайба струбцинного винта с откидной ручкой Деталей в узле: 2 снято с производства 5 | Art.: винт присоединения шайбы Деталей в узле: 2 6 | Art.: 23-43431 проставка шпильки кронштейна крепления двигателя ((STUD ASSEMBLY))Деталей в узле: 1 снято с производства 6 | Art.: проставка ((SCREW ASSEMBLY))Деталей в узле: 1 7 | Art.: 16-42129 шпилька кронштейна крепления двигателя ((STUD ASSEMBLY))Деталей в узле: 1 снято с производства 7A | Art.: 10-4000333 Винт (M6 x 40) ((SCREW ASSEMBLY))Деталей в узле: 2 8 | Art.: 13-400256 LOCKWASHER, (M6), CLAMP BRACKET STUD ((STUD ASSEMBLY))Деталей в узле: 2 9 | Art.: 11-400212 NUT, (M6) Stainless Steel, CLAMP BRACKET STUD ((STUD ASSEMBLY))Деталей в узле: 2 10 | Art.: 42078 труба механизма наклона ((NOTE: USE 30664 ON ELECTRIC LONG W/REMOTE CONTROL.))Деталей в узле: 1 11 | Art.: CLIP, SAFETY Деталей в узле: 1 12 | Art.: 11-93164 NUT, (.875), TILT TUBE Деталей в узле: 2 13 | Art.: 12-71421 WASHER, Nylon, TILT TUBE Деталей в узле: 2 |
