2.5L (EFI) 2.5L (EFI-OFFSHORE)
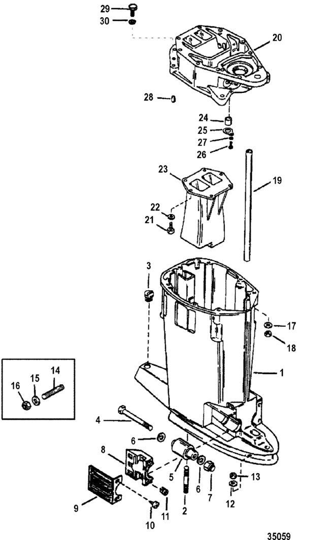
Driveshaft Housing, Long/X-Long-Standard
Driveshaft Housing, Long/X-Long-Standard
| № | Артикул | Наименование | Деталей в узле | Комментарий | Цена | |
| 1 | Корпус вертикального вала в сборе | 1 | (BLACK) | снято с производства | ||
| 1 | Корпус вертикального вала в сборе | 1 | (GRAY) | снято с производства | ||
| 2 | шпилька (0.437-14/0.437-20 x 2.812) | 2 | (LONG) | 1000 руб. | ||
| 2 | шпилька | 2 | (7-5/8 IN. - X-LONG) | снято с производства | ||
| 3 | пробка | 1 | 660 руб. | |||
| 4 | винт (0.500-20 x 6.00) | 2 | 2770 руб. | |||
| 5 | Крепление | 2 | цена по запросу | |||
| 6 | шайба | 4 | 1120 руб. | |||
| 7 | Гайка (0.500-20) | 2 | 350 руб. | |||
| 8 | зажим | 2 | 3530 руб. | |||
| 9 | крышка черная | 2 | 3610 руб. | |||
| 9 | COVER, Gray | 2 | снято с производства | |||
| 10 | винт (#12-24 x 0.620) | 4 | 230 руб. | |||
| 11 | гайка | 4 | 260 руб. | |||
| 12 | WASHER, (.445 x .805 x .108) | 3 | 640 руб. | |||
| 13 | гайка (0.4375-20) | 3 | 430 руб. | |||
| 14 | STUD, (.312-18/.312-24 x 1.690) | 4 | 1450 руб. | |||
| 15 | шайба | 4 | 270 руб. | |||
| 16 | гайка (0.312-24) | 4 | 530 руб. | |||
| 17 | WASHER, (.401 x .745 x .097) | 10 | 480 руб. | |||
| 18 | гайка (.375-24) | 8 | (FULL) | 450 руб. | ||
| 18 | гайка (.375-24) | 2 | (THIN) | цена по запросу | ||
| 19 | Водяная труба (длинная) | 1 | 37150 руб. | |||
| 19 | TUBE, Water (X-LONG) | 1 | 20390 руб. | |||
| 20 | выпускная плита в сборе | 1 | (BLACK) | снято с производства | ||
| 20 | выпускная плита в сборе | 1 | (GRAY) | снято с производства | ||
| 21 | винт (0.312-18 x 1.250) | 6 | 970 руб. | |||
| 22 | шайба | 6 | 2000 руб. | |||
| 23 | DIFFUSER | 1 | цена по запросу | |||
| 24 | Уплотнение | 1 | 680 руб. | |||
| 25 | фиксатор | 1 | 3160 руб. | |||
| 26 | винт (0.250-20 x 0.620) нержавеющая сталь | 1 | 220 руб. | |||
| 27 | стопорная шайба (0.250), нержавеющая сталь | 1 | 90 руб. | |||
| 28 | посадочный штифт без отверстия (0.375 x 0.625) | 2 | 270 руб. | |||
| 28 | PIN, Dowel (.825) | 2 | 300 руб. | |||
| 29 | винт (0.437-14 x 1.750) | 3 | 530 руб. | |||
| 30 | WASHER, (.445 x .805 x .108) | 5 | 640 руб. | |||
| 1 | Art.: Корпус вертикального вала в сборе ((BLACK))Деталей в узле: 1 снято с производства 1 | Art.: Корпус вертикального вала в сборе ((GRAY))Деталей в узле: 1 снято с производства 2 | Art.: 16-59579 шпилька (0.437-14/0.437-20 x 2.812) ((LONG))Деталей в узле: 2 2 | Art.: 16-74732 шпилька ((7-5/8 IN. - X-LONG))Деталей в узле: 2 снято с производства 3 | Art.: 19-64649 пробка Деталей в узле: 1 4 | Art.: винт (0.500-20 x 6.00) Деталей в узле: 2 5 | Крепление Деталей в узле: 2 цена по запросу
6 | Art.: 12-816056 шайба Деталей в узле: 4 7 | Гайка (0.500-20) Деталей в узле: 2 8 | Art.: зажим Деталей в узле: 2 9 | крышка черная Деталей в узле: 2 9 | Art.: 67077F1 COVER, Gray Деталей в узле: 2 снято с производства 10 | Art.: 10-88417 винт (#12-24 x 0.620) Деталей в узле: 4 11 | Art.: 11-35521 гайка Деталей в узле: 4 12 | Art.: 12-822836 WASHER, (.445 x .805 x .108) Деталей в узле: 3 13 | Art.: гайка (0.4375-20) Деталей в узле: 3 14 | Art.: STUD, (.312-18/.312-24 x 1.690) Деталей в узле: 4 15 | Art.: 12-22753 шайба Деталей в узле: 4 16 | Art.: гайка (0.312-24) Деталей в узле: 4 17 | Art.: 12-822838 WASHER, (.401 x .745 x .097) Деталей в узле: 10 18 | Art.: гайка (.375-24) ((FULL))Деталей в узле: 8 18 | Art.: гайка (.375-24) ((THIN))Деталей в узле: 2 цена по запросу
19 | Art.: 32-8476502 Водяная труба (длинная) Деталей в узле: 1 19 | Art.: 32-8476501 TUBE, Water (X-LONG) Деталей в узле: 1 20 | Art.: 848284A9 выпускная плита в сборе ((BLACK))Деталей в узле: 1 снято с производства 20 | Art.: выпускная плита в сборе ((GRAY))Деталей в узле: 1 снято с производства 21 | Art.: 10-823258 винт (0.312-18 x 1.250) Деталей в узле: 6 22 | Art.: 12-822714 шайба Деталей в узле: 6 23 | Art.: 8483081 DIFFUSER Деталей в узле: 1 цена по запросу
24 | Art.: 26-88397 Уплотнение Деталей в узле: 1 25 | Art.: фиксатор Деталей в узле: 1 26 | Art.: 10-28635 винт (0.250-20 x 0.620) нержавеющая сталь Деталей в узле: 1 27 | Art.: 13-26992 стопорная шайба (0.250), нержавеющая сталь Деталей в узле: 1 28 | Art.: 17-43044 посадочный штифт без отверстия (0.375 x 0.625) Деталей в узле: 2 28 | Art.: PIN, Dowel (.825) Деталей в узле: 2 |
