150 H.P. XR-2 MARATHON MAGNUM (V-6) (1978-1985 COMBINED BOOK)
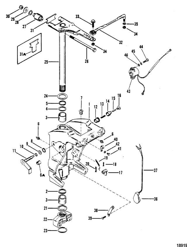
поворотный кронштейн и рычаг рулевого управления
поворотный кронштейн и рычаг рулевого управления
| № | Артикул | Наименование | Деталей в узле | Комментарий | Цена | |
| 1 | поворотный кронштейн в сборе | 1 | (Black) SN# ME-5503247/MA-5600162 THRU ME-6616990/MA-6616990 | снято с производства | ||
| 1 | поворотный кронштейн в сборе | 1 | (Gray) SN# ME-5503247/MA-5600162 THRU ME-6616990/MA-6616990 | снято с производства | ||
| 1 | поворотный кронштейн в сборе | 1 | (Black) SN# 6616991 & Up | 245880 руб. | ||
| 1 | поворотный кронштейн в сборе | 1 | (Gray) SN# 6616991 & Up | снято с производства | ||
| 2 | Сальник | 1 | 4340 руб. | |||
| 3 | вкладыш | 2 | 4010 руб. | |||
| 4 | уплотнительное кольцо | 1 | 290 руб. | |||
| 5 | проставка | 1 | цена по запросу | |||
| 6 | пресс-масленка | 4 | цена по запросу | |||
| 6A | вкладыш | 1 | SN# 6616991 & Up | 1020 руб. | ||
| 7 | резиновая втулка | 2 | SN# ME-5503247/MA-5600162 THRU ME-6616990/MA-6616990 | снято с производства | ||
| 8 | Сальник | 2 | SN# ME-5503247/MA-5600162 THRU ME-6616990/MA-6616990 | 2590 руб. | ||
| 9 | шайба | 2 | SN# ME-5503247/MA-5600162 THRU ME-6616990/MA-6616990 | 200 руб. | ||
| 10 | уплотнительное кольцо (0.364. x 0.070) | 2 | SN# ME-5503247/MA-5600162 THRU ME-6616990/MA-6616990 | 160 руб. | ||
| 11 | рычаг фиксатора наклона в сборе | 1 | (Port) SN# ME-5503247/MA-5600162 THRU ME-6616990/MA-6616990 | цена по запросу | ||
| 11 | рычаг фиксатора наклона в сборе | 1 | (Starboard) SN# ME-5503247/MA-5600162 THRU ME-6616990/MA-6616990 | снято с производства | ||
| 12 | вкладыш | 1 | SN# ME-5503247/MA-5600162 THRU ME-6616990/MA-6616990 | 8530 руб. | ||
| 13 | Пружина | 1 | SN# ME-5503247/MA-5600162 THRU ME-6616990/MA-6616990 | 1730 руб. | ||
| 14 | плунжер | 1 | SN# ME-5503247/MA-5600162 THRU ME-6616990/MA-6616990 | 1690 руб. | ||
| 15 | шпилька | 1 | SN# ME-5503247/MA-5600162 THRU ME-6616990/MA-6616990 | снято с производства | ||
| 16 | кнопка | 1 | SN# ME-5503247/MA-5600162 THRU ME-6616990/MA-6616990 | цена по запросу | ||
| 17 | муфта | 1 | SN# ME-5503247/MA-5600162 THRU ME-6616990/MA-6616990 | 3100 руб. | ||
| 18 | шплинт | 2 | SN# ME-5503247/MA-5600162 THRU ME-6616990/MA-6616990 | цена по запросу | ||
| 19 | Пружина | 1 | SN# ME-5503247/MA-5600162 THRU ME-6616990/MA-6616990 | 1970 руб. | ||
| 20 | шплинт | 1 | SN# ME-5503247/MA-5600162 THRU ME-6616990/MA-6616990 | 550 руб. | ||
| 21 | пружинная шайба | 1 | 1540 руб. | |||
| 22 | YOKE ASSEMBLY, Bottom | 1 | (BLACK) | снято с производства | ||
| 22 | YOKE ASSEMBLY, Bottom | 1 | (GRAY) | снято с производства | ||
| 23 | стопорное кольцо | 1 | 500 руб. | |||
| 24 | шайба | 1 | снято с производства | |||
| 25 | стержень поворотного кронштейна в сборе | 1 | (Gray) SN# 6616991 & Up | снято с производства | ||
| 25 | стержень поворотного кронштейна в сборе | 1 | (Black) SN# 6616991 & Up | снято с производства | ||
| 25 | стержень поворотного кронштейна в сборе | 1 | (Gray) SN# ME-5503247/MA-5600162 THRU ME-6616990/MA-6616990 | цена по запросу | ||
| 25 | стержень поворотного кронштейна в сборе | 1 | (Black) SN# ME-5503247/MA-5600162 THRU ME-6616990/MA-6616990 | снято с производства | ||
| 26 | винт (0.437-20 x 7.50) | 2 | цена по запросу | |||
| 27 | верхнее крепление | 2 | снято с производства | |||
| 28 | шайба | 2 | 660 руб. | |||
| 29 | шайба | 2 | цена по запросу | |||
| 30 | гайка (0.437-20) нержавеющая сталь | 2 | цена по запросу | |||
| 31 | буфер | 1 | SN# ME-5503247/MA-5600162 THRU ME-6616990/MA-6616990 | снято с производства | ||
| 31A | BUMPER, Top Yoke | 1 | SN# 6616991 & Up | 1210 руб. | ||
| 32 | привод рулевого управления в сборе | 1 | 14420 руб. | |||
| 33 | винт (.375-24 x 1.25) | 1 | 2230 руб. | |||
| 34 | гайка (.375-24) | 2 | цена по запросу | |||
| 35 | шайба (0.406 x 0.734 x 0.063) нержавеющая сталь | 2 | 210 руб. | |||
| 36 | переключатель наклона в сборе | 1 | (Male Terminals) SN# ME-5503247/MA-5600162 THRU ME-6616990/MA-6616990 | снято с производства | ||
| 36 | датчик трима в сборе | 1 | (Female Terminals) SN# ME-5503247/MA-5600162 & Up | снято с производства | ||
| 37 | жгут проводов | 1 | (Female Terminals) SN# ME-5503247/MA-5600162 THRU ME-6616990/MA-6616990 | снято с производства | ||
| 37 | жгут проводов | 1 | (Male Terminals) SN# ME-5503247/MA-5600162 THRU ME-6616990/MA-6616990 | 1230 руб. | ||
| 38 | прижимная пластина | 2 | SN# ME-5503247/MA-5600162 THRU ME-6616990/MA-6616990 | снято с производства | ||
| 39 | винт (#10-32 x 0.500) | 4 | SN# ME-5503247/MA-5600162 THRU ME-6616990/MA-6616990 | цена по запросу | ||
| 40 | J-образный зажим | 1 | SN# ME-5503247/MA-5600162 THRU ME-6616990/MA-6616990 | 480 руб. | ||
| 41 | Винт (0.250-28 x 0.500) | 1 | SN# ME-5503247/MA-5600162 THRU ME-6616990/MA-6616990 | цена по запросу | ||
| 42 | шайба (0.281 x 0.500 x 0.060) нержавеющая сталь | 1 | SN# ME-5503247/MA-5600162 THRU ME-6616990/MA-6616990 | цена по запросу | ||
| 43 | датчик трима в сборе | 1 | SN# 6616991 & Up | цена по запросу | ||
| 44 | Винт (#10-24 x 0.750) | 2 | SN# 6616991 & Up | 210 руб. | ||
| 45 | Стопорная шайба (#10), нержавеющая сталь | 2 | SN# 6616991 & Up | 120 руб. | ||
| 46 | Шайба (0.203 x 0.406 x 0.040) | 2 | SN# 6616991 & Up | 200 руб. | ||
| - | Набор прокладок | 1 | SN# ME-6042946/MA-6038681 & Up | цена по запросу | ||
| - | Набор прокладок | 1 | SN# 5866777 THRU 6042945 | снято с производства | ||
| - | больше не поставляется, набор прокладок | 1 | (Service Bulletin 81-8) SN# ME-5866776/MA-6038680 & Below | |||
| 1 | Art.: поворотный кронштейн в сборе ((Black) SN# ME-5503247/MA-5600162 THRU ME-6616990/MA-6616990)Деталей в узле: 1 снято с производства 1 | Art.: 1491-9225A4 поворотный кронштейн в сборе ((Gray) SN# ME-5503247/MA-5600162 THRU ME-6616990/MA-6616990)Деталей в узле: 1 снято с производства 1 | поворотный кронштейн в сборе ((Black) SN# 6616991 & Up)Деталей в узле: 1 1 | поворотный кронштейн в сборе ((Gray) SN# 6616991 & Up)Деталей в узле: 1 снято с производства 2 | Art.: 26-87735 Сальник Деталей в узле: 1 3 | Art.: вкладыш Деталей в узле: 2 4 | Art.: 25-33466 уплотнительное кольцо Деталей в узле: 1 5 | Art.: 23-67668 проставка Деталей в узле: 1 цена по запросу
6 | Art.: 22-74036 пресс-масленка Деталей в узле: 4 цена по запросу
6A | Art.: вкладыш (SN# 6616991 & Up)Деталей в узле: 1 7 | Art.: 25-88341 резиновая втулка (SN# ME-5503247/MA-5600162 THRU ME-6616990/MA-6616990)Деталей в узле: 2 снято с производства 8 | Art.: 26-85023 Сальник (SN# ME-5503247/MA-5600162 THRU ME-6616990/MA-6616990)Деталей в узле: 2 9 | Art.: 12-87161 шайба (SN# ME-5503247/MA-5600162 THRU ME-6616990/MA-6616990)Деталей в узле: 2 10 | Art.: 25-48171 уплотнительное кольцо (0.364. x 0.070) (SN# ME-5503247/MA-5600162 THRU ME-6616990/MA-6616990)Деталей в узле: 2 11 | Art.: 85030A2 рычаг фиксатора наклона в сборе ((Port) SN# ME-5503247/MA-5600162 THRU ME-6616990/MA-6616990)Деталей в узле: 1 цена по запросу
11 | Art.: 85028A2 рычаг фиксатора наклона в сборе ((Starboard) SN# ME-5503247/MA-5600162 THRU ME-6616990/MA-6616990)Деталей в узле: 1 снято с производства 12 | Art.: 23-86600 вкладыш (SN# ME-5503247/MA-5600162 THRU ME-6616990/MA-6616990)Деталей в узле: 1 13 | Art.: 24-85367 Пружина (SN# ME-5503247/MA-5600162 THRU ME-6616990/MA-6616990)Деталей в узле: 1 14 | Art.: 41052 плунжер (SN# ME-5503247/MA-5600162 THRU ME-6616990/MA-6616990)Деталей в узле: 1 15 | Art.: 16-88876 шпилька (SN# ME-5503247/MA-5600162 THRU ME-6616990/MA-6616990)Деталей в узле: 1 снято с производства 16 | Art.: 86603 кнопка (SN# ME-5503247/MA-5600162 THRU ME-6616990/MA-6616990)Деталей в узле: 1 цена по запросу
17 | Art.: 864751 муфта (SN# ME-5503247/MA-5600162 THRU ME-6616990/MA-6616990)Деталей в узле: 1 18 | Art.: 18-87200 шплинт (SN# ME-5503247/MA-5600162 THRU ME-6616990/MA-6616990)Деталей в узле: 2 цена по запросу
19 | Art.: 24-88049 Пружина (SN# ME-5503247/MA-5600162 THRU ME-6616990/MA-6616990)Деталей в узле: 1 20 | Art.: 18-93861 шплинт (SN# ME-5503247/MA-5600162 THRU ME-6616990/MA-6616990)Деталей в узле: 1 21 | Art.: 13-78854 пружинная шайба Деталей в узле: 1 22 | Art.: 86580A1 YOKE ASSEMBLY, Bottom ((BLACK))Деталей в узле: 1 снято с производства 22 | Art.: YOKE ASSEMBLY, Bottom ((GRAY))Деталей в узле: 1 снято с производства 23 | Art.: 53-67684 стопорное кольцо Деталей в узле: 1 24 | Art.: 12-67670 шайба Деталей в узле: 1 снято с производства 25 | стержень поворотного кронштейна в сборе ((Gray) SN# 6616991 & Up)Деталей в узле: 1 снято с производства 25 | Art.: стержень поворотного кронштейна в сборе ((Black) SN# 6616991 & Up)Деталей в узле: 1 снято с производства 25 | стержень поворотного кронштейна в сборе ((Gray) SN# ME-5503247/MA-5600162 THRU ME-6616990/MA-6616990)Деталей в узле: 1 цена по запросу 25 | стержень поворотного кронштейна в сборе ((Black) SN# ME-5503247/MA-5600162 THRU ME-6616990/MA-6616990)Деталей в узле: 1 снято с производства 26 | Art.: винт (0.437-20 x 7.50) Деталей в узле: 2 цена по запросу
27 | Art.: верхнее крепление Деталей в узле: 2 снято с производства 28 | Art.: 12-66921 шайба Деталей в узле: 2 29 | Art.: шайба Деталей в узле: 2 цена по запросу 30 | Art.: 11-34933 гайка (0.437-20) нержавеющая сталь Деталей в узле: 2 цена по запросу
31 | Art.: 67754 буфер (SN# ME-5503247/MA-5600162 THRU ME-6616990/MA-6616990)Деталей в узле: 1 снято с производства 31A | Art.: 88882 BUMPER, Top Yoke (SN# 6616991 & Up)Деталей в узле: 1 32 | привод рулевого управления в сборе Деталей в узле: 1 33 | Art.: винт (.375-24 x 1.25) Деталей в узле: 1 34 | Art.: гайка (.375-24) Деталей в узле: 2 цена по запросу
35 | Art.: 12-34931 шайба (0.406 x 0.734 x 0.063) нержавеющая сталь Деталей в узле: 2 36 | Art.: 86485A6 переключатель наклона в сборе ((Male Terminals) SN# ME-5503247/MA-5600162 THRU ME-6616990/MA-6616990)Деталей в узле: 1 снято с производства 36 | Art.: 86485A5 датчик трима в сборе ((Female Terminals) SN# ME-5503247/MA-5600162 & Up)Деталей в узле: 1 снято с производства 37 | Art.: 84-65017A15 жгут проводов ((Female Terminals) SN# ME-5503247/MA-5600162 THRU ME-6616990/MA-6616990)Деталей в узле: 1 снято с производства 37 | Art.: 84-65017A14 жгут проводов ((Male Terminals) SN# ME-5503247/MA-5600162 THRU ME-6616990/MA-6616990)Деталей в узле: 1 38 | Art.: 88342 прижимная пластина (SN# ME-5503247/MA-5600162 THRU ME-6616990/MA-6616990)Деталей в узле: 2 снято с производства 39 | Art.: 10-87926 винт (#10-32 x 0.500) (SN# ME-5503247/MA-5600162 THRU ME-6616990/MA-6616990)Деталей в узле: 4 цена по запросу
40 | Art.: 54-54457 J-образный зажим (SN# ME-5503247/MA-5600162 THRU ME-6616990/MA-6616990)Деталей в узле: 1 41 | Art.: 10-98256 Винт (0.250-28 x 0.500) (SN# ME-5503247/MA-5600162 THRU ME-6616990/MA-6616990)Деталей в узле: 1 цена по запросу
42 | Art.: 12-29245 шайба (0.281 x 0.500 x 0.060) нержавеющая сталь (SN# ME-5503247/MA-5600162 THRU ME-6616990/MA-6616990)Деталей в узле: 1 цена по запросу
43 | датчик трима в сборе (SN# 6616991 & Up)Деталей в узле: 1 цена по запросу 44 | Art.: Винт (#10-24 x 0.750) (SN# 6616991 & Up)Деталей в узле: 2 45 | Art.: 13-26996 Стопорная шайба (#10), нержавеющая сталь (SN# 6616991 & Up)Деталей в узле: 2 46 | Art.: 12-89302 Шайба (0.203 x 0.406 x 0.040) (SN# 6616991 & Up)Деталей в узле: 2 - | Art.: 27-90484A88 Набор прокладок (SN# ME-6042946/MA-6038681 & Up)Деталей в узле: 1 цена по запросу
- | Art.: 27-79583A81 Набор прокладок (SN# 5866777 THRU 6042945)Деталей в узле: 1 снято с производства - | Art.: -NLA больше не поставляется, набор прокладок ((Service Bulletin 81-8) SN# ME-5866776/MA-6038680 & Below)Деталей в узле: 1 | ||||||||||||||||||||||||||||||||||||||||||||||||||||||||||||||
