135/150/175/200/XR6/MAGNUM III
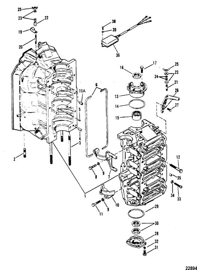
Блок цилиндров и торцевые крышки
Блок цилиндров и торцевые крышки
| № | Артикул | Наименование | Деталей в узле | Комментарий | Цена | |
| 1 | блок цилиндров (175) | 1 | снято с производства | |||
| 1 | блок цилиндров (135/150) | 1 | снято с производства | |||
| 1 | блок цилиндров (XR6/Magnum III) | 1 | SN# 0D284787 & Below | снято с производства | ||
| 1 | блок цилиндров (XR6/Magnum III) | 1 | SN# 0D284788 & Up | снято с производства | ||
| 1 | блок цилиндров (150 Tracker) | 1 | снято с производства | |||
| 1 | блок цилиндров (200) | 1 | снято с производства | |||
| 2 | шпилька (1-3/4") | 2 or 6 | цена по запросу | |||
| 2 | шпилька (1-7/8", старое исполнение) | 4 | 1170 руб. | |||
| 3 | шпилька (6-3/4") | 2 | цена по запросу | |||
| 3 | шпилька (5-1/2") | 2 | 1190 руб. | |||
| 4 | посадочный штифт без отверстия (0.375 x 0.625) | 2 | 270 руб. | |||
| 5 | стержень обоймы подшипника | 2 | 410 руб. | |||
| 6 | Прокладка | 2 | 210 руб. | |||
| 7 | крышка верхняя | 1 | цена по запросу | |||
| 8 | SCREW, (.312-18 x 1.500) Hex Flange | 2 | 180 руб. | |||
| 8 | винт (0.312-18 x 1.50, используется с шайбой 13-26993) | 2 | 310 руб. | |||
| 9 | стопорная шайба (0.31, используется с винтом 10-73657) | 4 | цена по запросу | |||
| 10 | крышка нижняя | 1 | 3730 руб. | |||
| 11 | SCREW, (.312-18 x 2.00) Hex Flange | 2 | 230 руб. | |||
| 11 | винт (.312-18 x 2.00) | 2 | 470 руб. | |||
| 11A | вкладыш | 1 | 460 руб. | |||
| 12 | винт (0.375-16 x 3.250) | 8 | 560 руб. | |||
| 12 | винт (0.312-18 x 1.250) | 6 | 200 руб. | |||
| 13 | Верхняя торцевая крышка в сборе | 1 | 51300 руб. | |||
| 14 | уплотнительное кольцо (2.800 x 0.103) | 1 | 620 руб. | |||
| 15 | комплект подшипника | 1 | 14700 руб. | |||
| 16 | Уплотнение | 1 | 2490 руб. | |||
| 17 | винт и стопорная шайба (.312-18 x 1.00) | 4 | цена по запросу | |||
| 19 | J-образный зажим | 1 | 70 руб. | |||
| 20 | шпилька (0.190-32 x 1.870) | 1 | цена по запросу | |||
| 21 | шпилька (#10-32 x 1.00) | 2 | 1190 руб. | |||
| 22 | проставка | 1 | 570 руб. | |||
| 23 | шайба (.187 x .500 x .062) неопрен | 3 | цена по запросу | |||
| 25 | барашковая гайка (#10-32) | 3 | 560 руб. | |||
| 26 | кронштейн | 1 | 7250 руб. | |||
| 27 | винт (0.250-20 x 0.750) | 2 | 120 руб. | |||
| 28 | торцевая крышка в сборе | 1 | 35600 руб. | |||
| 29 | уплотнительное кольцо (3.237 x 0.103) | 1 | 510 руб. | |||
| 30 | Уплотнение | 2 | 2490 руб. | |||
| 31 | винт (0.250-20 x 0.750) | 4 | 220 руб. | |||
| 32 | стопорная шайба (0.250), нержавеющая сталь | 4 | 90 руб. | |||
| 33 | винт (0.250-20 x 2.125) | 1 | 400 руб. | |||
| 34 | Гайка (0.250-20) | 1 | 240 руб. | |||
| 35 | нейлоновая крышка | 1 | 500 руб. | |||
| 36 | IDLE SPEED CONTROL | 1 | цена по запросу | |||
| 38 | винт (#10-32 x 0.875) | 3 | 270 руб. | |||
| 39 | шайба | 3 | 400 руб. | |||
| - | силовая головка в сборе | 1 | (175) | цена по запросу | ||
| - | силовая головка в сборе | 1 | (Tracker 150) | цена по запросу | ||
| - | силовая головка в сборе | 1 | (XR6/Magnum III) SN# 0D284788 & Up | цена по запросу | ||
| - | силовая головка в сборе | 1 | (XR6/Magnum III) SN# 0D284787 & Below | цена по запросу | ||
| - | силовая головка в сборе | 1 | (135/150) | цена по запросу | ||
| - | Набор прокладок двигателя | 1 | 29780 руб. | |||
| - | силовая головка в сборе | 1 | (200) | цена по запросу | ||
| 1 | Art.: блок цилиндров (175) Деталей в узле: 1 снято с производства 1 | блок цилиндров (135/150) Деталей в узле: 1 снято с производства 1 | Art.: блок цилиндров (XR6/Magnum III) (SN# 0D284787 & Below)Деталей в узле: 1 снято с производства 1 | Art.: блок цилиндров (XR6/Magnum III) (SN# 0D284788 & Up)Деталей в узле: 1 снято с производства 1 | Art.: блок цилиндров (150 Tracker) Деталей в узле: 1 снято с производства 1 | Art.: блок цилиндров (200) Деталей в узле: 1 снято с производства 2 | шпилька (1-3/4") Деталей в узле: 2 or 6 цена по запросу 2 | Art.: 16-76175 шпилька (1-7/8", старое исполнение) Деталей в узле: 4 3 | шпилька (6-3/4") Деталей в узле: 2 цена по запросу 3 | шпилька (5-1/2") Деталей в узле: 2 4 | Art.: 17-43044 посадочный штифт без отверстия (0.375 x 0.625) Деталей в узле: 2 5 | Art.: стержень обоймы подшипника Деталей в узле: 2 6 | Art.: 27-11338 Прокладка Деталей в узле: 2 7 | крышка верхняя Деталей в узле: 1 цена по запросу
8 | Art.: 10-828213 SCREW, (.312-18 x 1.500) Hex Flange Деталей в узле: 2 8 | Art.: 10-73657 винт (0.312-18 x 1.50, используется с шайбой 13-26993) Деталей в узле: 2 9 | Art.: 13-26993 стопорная шайба (0.31, используется с винтом 10-73657) Деталей в узле: 4 цена по запросу
10 | Art.: 76867 крышка нижняя Деталей в узле: 1 11 | Art.: 10-828214 SCREW, (.312-18 x 2.00) Hex Flange Деталей в узле: 2 11 | Art.: 10-815549 винт (.312-18 x 2.00) Деталей в узле: 2 11A | Art.: 23-99448 вкладыш Деталей в узле: 1 12 | Art.: 10-66717 винт (0.375-16 x 3.250) Деталей в узле: 8 12 | Art.: 10-74824 винт (0.312-18 x 1.250) Деталей в узле: 6 13 | Верхняя торцевая крышка в сборе Деталей в узле: 1 14 | Art.: 25-54029 уплотнительное кольцо (2.800 x 0.103) Деталей в узле: 1 15 | Art.: 31-16756A4 комплект подшипника Деталей в узле: 1 16 | Art.: 26-41953 Уплотнение Деталей в узле: 1 17 | Art.: винт и стопорная шайба (.312-18 x 1.00) Деталей в узле: 4 цена по запросу 19 | Art.: 54-63153 J-образный зажим Деталей в узле: 1 20 | Art.: 16-15094 шпилька (0.190-32 x 1.870) Деталей в узле: 1 цена по запросу
21 | Art.: шпилька (#10-32 x 1.00) Деталей в узле: 2 22 | Art.: 23-67269 проставка Деталей в узле: 1 23 | Art.: 12-49221 шайба (.187 x .500 x .062) неопрен Деталей в узле: 3 цена по запросу
25 | Art.: 11-816874 барашковая гайка (#10-32) Деталей в узле: 3 26 | Art.: кронштейн Деталей в узле: 1 27 | Art.: 10-49668 винт (0.250-20 x 0.750) Деталей в узле: 2 28 | Art.: торцевая крышка в сборе Деталей в узле: 1 29 | Art.: 25-62700 уплотнительное кольцо (3.237 x 0.103) Деталей в узле: 1 30 | Art.: 26-41953 Уплотнение Деталей в узле: 2 31 | Art.: 10-28636 винт (0.250-20 x 0.750) Деталей в узле: 4 32 | Art.: 13-26992 стопорная шайба (0.250), нержавеющая сталь Деталей в узле: 4 33 | Art.: 10-64022 винт (0.250-20 x 2.125) Деталей в узле: 1 34 | Art.: 11-64015 Гайка (0.250-20) Деталей в узле: 1 35 | Art.: 26852 нейлоновая крышка Деталей в узле: 1 36 | Art.: 87076A10 IDLE SPEED CONTROL Деталей в узле: 1 цена по запросу
38 | Art.: винт (#10-32 x 0.875) Деталей в узле: 3 39 | Art.: 12-38833 шайба Деталей в узле: 3 - | силовая головка в сборе ((175))Деталей в узле: 1 цена по запросу - | силовая головка в сборе ((Tracker 150))Деталей в узле: 1 цена по запросу - | силовая головка в сборе ((XR6/Magnum III) SN# 0D284788 & Up)Деталей в узле: 1 цена по запросу - | силовая головка в сборе ((XR6/Magnum III) SN# 0D284787 & Below)Деталей в узле: 1 цена по запросу - | силовая головка в сборе ((135/150))Деталей в узле: 1 цена по запросу - | Art.: 27-815791A92 Набор прокладок двигателя Деталей в узле: 1 - | силовая головка в сборе ((200))Деталей в узле: 1 цена по запросу | |||||||||||||||||||||||||||||||||||||||||||||||||||||||
