7.5 /9.8 H.P.
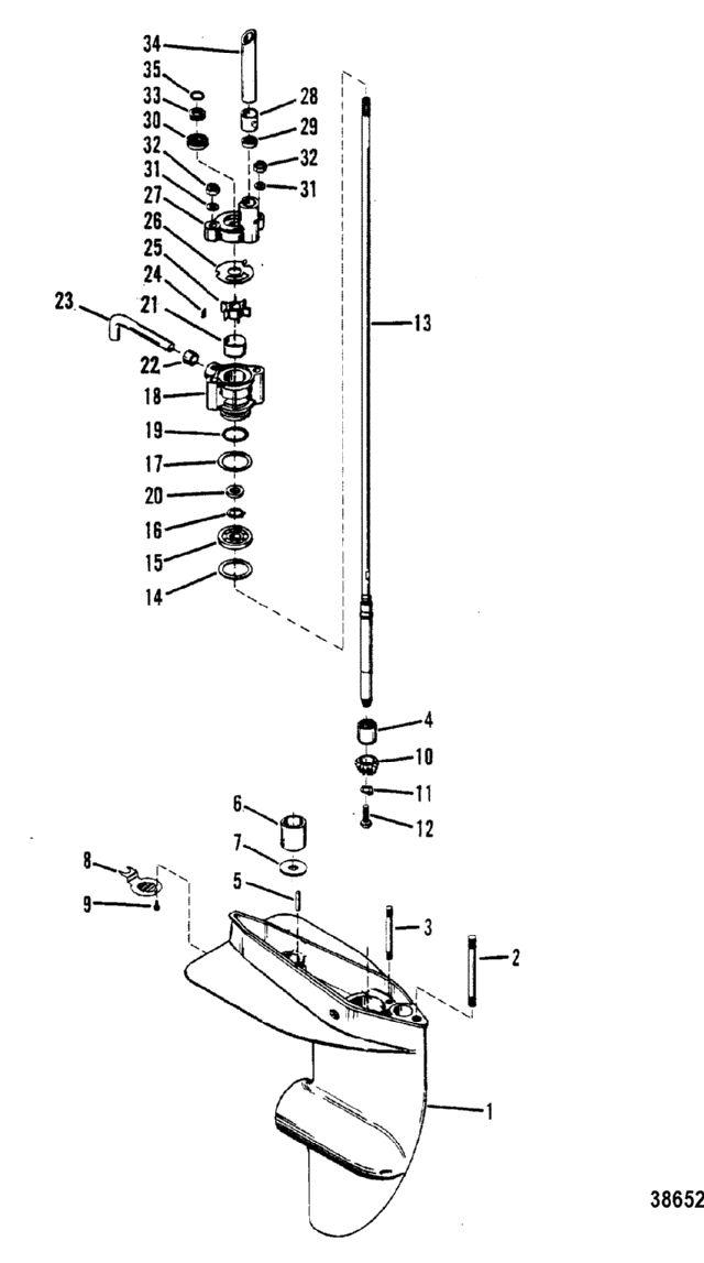
корпус редуктора, вертикальный вал
корпус редуктора, вертикальный вал
| № | Артикул | Наименование | Деталей в узле | Комментарий | Цена | |
| 1 | Корпус редуктора в сборе | 1 | снято с производства | |||
| 2 | STUD, GEAR HOUSING (3-7/16") | 1 | снято с производства | |||
| 3 | STUD, WATER PUMP (2-3/4") | 2 | снято с производства | |||
| 4 | роликовый подшипник | 1 | 3750 руб. | |||
| 5 | посадочный штифт | 1 | цена по запросу | |||
| 6 | Резиновое уплотнение | 1 | 590 руб. | |||
| 7 | BEARING, NYLON | 1 | 570 руб. | |||
| 8 | SCREEN, INTAKE | 1 | снято с производства | |||
| 9 | SCREW, (#2 x 0.25), INTAKE SCREEN | 1 | 130 руб. | |||
| 10 | ведущая шестерня | 1 | цена по запросу | |||
| 11 | стопорная шайба винта ведущей шестерни | 1 | снято с производства | |||
| 12 | SCREW, (#12-28 x .750), PINION GEAR TO DRIVE SHAFT | 1 | снято с производства | |||
| 13 | Вертикальный вал | 1 | (LONG) USE WITH 47-89981 IMPELLER SN# USA-5306000/Aus-8060794/Bel-9227030/Can-7134412 & Below | снято с производства | ||
| 13 | Вертикальный вал | 1 | (LONG) USE WITH 47-89980 IMPELLER SN# USA-5306001/Aus-8060795/Bel-9227031/Can-7134413 & Up | снято с производства | ||
| 13 | Вертикальный вал | 1 | (SHORT) USE WITH 47-89980 IMPELLER SN# USA-5306001/Aus-8060795/Bel-9227031/Can-7134413 & Up | снято с производства | ||
| 13 | Вертикальный вал | 1 | (SHORT) USE WITH 47-89981 IMPELLER SN# USA-5306000/Aus-8060794/Bel-9227030/Can-7134412 & Below | снято с производства | ||
| 14 | регулировочная прокладка шарикового подшипника в сборе (.002-3-5-10) | AR | снято с производства | |||
| 15 | BEARING, Ball, DRIVE SHAFT | 1 | 9120 руб. | |||
| 16 | RING, Retaining, BALL BEARING TO DRIVE SHAFT | 1 | цена по запросу | |||
| 17 | SHIM ASSEMBLY, BALL BEARING (.002-2-5-10) | AR | снято с производства | |||
| 18 | корпус водяного насоса в сборе | 1 | (USE WITH 47-89981 IMPELLER) | 9620 руб. | ||
| 18 | корпус водяного насоса в сборе | 1 | (USE WITH 47-89980 IMPELLER) | 7970 руб. | ||
| 19 | уплотнительное кольцо | 1 | 270 руб. | |||
| 20 | Сальник | 1 | (USE WITH 47-89981 IMPELLER) | 2300 руб. | ||
| 20 | Сальник | 1 | (USE WITH 47-89980 IMPELLER) | 1640 руб. | ||
| 21 | Палец-вкладыш | 1 | 1310 руб. | |||
| 22 | уплотнение впускной водяной трубы | 1 | 590 руб. | |||
| 23 | труба впуска воды | 1 | снято с производства | |||
| 24 | KEY, IMPELLER DRIVE | 1 | 620 руб. | |||
| 25 | Крыльчатка | 1 | (MOLDED 47-89980 - .438 I.D.) | 3760 руб. | ||
| 25 | Крыльчатка | 1 | (MOLDED 47-89981 - .456 I.D.) | 2770 руб. | ||
| 26 | Пластина основания водяного насоса | 1 | 580 руб. | |||
| 27 | крышка водяного насоса в сборе | 1 | 4410 руб. | |||
| 28 | уплотнение крышки водяного насоса | 1 | 640 руб. | |||
| 29 | BEARING, NYLON - WATER PUMP COVER | 1 | цена по запросу | |||
| 30 | SEAL, Oil, WATER PUMP COVER | 1 | 2860 руб. | |||
| 31 | Шайба шпильки водяного насоса | 2 | 160 руб. | |||
| 32 | NUT, (.250-28), WATER PUMP STUDS | 2 | 120 руб. | |||
| 33 | резиновое кольцо | 1 | 280 руб. | |||
| 34 | SLEEVE, GUIDE - WATER INLET TUBE | 1 | 1570 руб. | |||
| 35 | O-RING, (.362 x .103), DRIVE SHAFT | 1 | SN# USA-5306001/Aus-8060795/Bel-9227031/Can-7134413 & Up | 100 руб. | ||
| - | Ремкомплект водяной помпы | 1 | (Use with 47-89981 Impeller) | 13430 руб. | ||
| - | SEAL KIT, Water Pump | 1 | 9110 руб. | |||
| - | Набор прокладок | 1 | снято с производства | |||
| - | Корпус редуктора в сборе | 1 | (SHORT) SN# USA-5306000/Aus-8060794/Bel-9227030/Can-7134412 & Below | снято с производства | ||
| - | Корпус редуктора в сборе | 1 | (LONG) SN# USA-5306000/Aus-8060794/Bel-9227030/Can-7134412 & Below | снято с производства | ||
| - | Корпус редуктора в сборе | 1 | (SHORT) SN# USA-5306001/Aus-8060795/Bel-9227031/Can-7134413 & Up | снято с производства | ||
| - | Корпус редуктора в сборе | 1 | (LONG) SN# USA-5306001/Aus-8060795/Bel-9227031/Can-7134413 & Up | снято с производства | ||
| - | Ремкомплект водяной помпы | 1 | (Use with 47-89980 Impeller) | снято с производства | ||
| 1 | Art.: 1630-7360A11 Корпус редуктора в сборе Деталей в узле: 1 снято с производства 2 | Art.: 16-58138 STUD, GEAR HOUSING (3-7/16") Деталей в узле: 1 снято с производства 3 | Art.: 16-58136 STUD, WATER PUMP (2-3/4") Деталей в узле: 2 снято с производства 4 | Art.: 31-22756 роликовый подшипник Деталей в узле: 1 5 | Art.: 17-20032 посадочный штифт Деталей в узле: 1 цена по запросу
6 | Art.: 26-33613 Резиновое уплотнение Деталей в узле: 1 7 | Art.: 23-86215 BEARING, NYLON Деталей в узле: 1 8 | Art.: 35-33425 SCREEN, INTAKE Деталей в узле: 1 снято с производства 9 | Art.: 10-28642 SCREW, (#2 x 0.25), INTAKE SCREEN Деталей в узле: 1 10 | Art.: 43-98696 ведущая шестерня Деталей в узле: 1 цена по запросу
11 | Art.: 14-30377 стопорная шайба винта ведущей шестерни Деталей в узле: 1 снято с производства 12 | Art.: 10-30376 SCREW, (#12-28 x .750), PINION GEAR TO DRIVE SHAFT Деталей в узле: 1 снято с производства 13 | Art.: 45-75033 Вертикальный вал ((LONG) USE WITH 47-89981 IMPELLER SN# USA-5306000/Aus-8060794/Bel-9227030/Can-7134412 & Below)Деталей в узле: 1 снято с производства 13 | Art.: 45-95874A1 Вертикальный вал ((LONG) USE WITH 47-89980 IMPELLER SN# USA-5306001/Aus-8060795/Bel-9227031/Can-7134413 & Up)Деталей в узле: 1 снято с производства 13 | Art.: 45-95873A1 Вертикальный вал ((SHORT) USE WITH 47-89980 IMPELLER SN# USA-5306001/Aus-8060795/Bel-9227031/Can-7134413 & Up)Деталей в узле: 1 снято с производства 13 | Art.: 45-75034 Вертикальный вал ((SHORT) USE WITH 47-89981 IMPELLER SN# USA-5306000/Aus-8060794/Bel-9227030/Can-7134412 & Below)Деталей в узле: 1 снято с производства 14 | Art.: 15-30527A1 регулировочная прокладка шарикового подшипника в сборе (.002-3-5-10) Деталей в узле: AR снято с производства 15 | Art.: 30-70944 BEARING, Ball, DRIVE SHAFT Деталей в узле: 1 16 | Art.: 53-30523 RING, Retaining, BALL BEARING TO DRIVE SHAFT Деталей в узле: 1 цена по запросу
17 | Art.: 15-30527A1 SHIM ASSEMBLY, BALL BEARING (.002-2-5-10) Деталей в узле: AR снято с производства 18 | Art.: корпус водяного насоса в сборе ((USE WITH 47-89981 IMPELLER))Деталей в узле: 1 18 | Art.: 46-92970A1 корпус водяного насоса в сборе ((USE WITH 47-89980 IMPELLER))Деталей в узле: 1 19 | Art.: 25-29439 уплотнительное кольцо Деталей в узле: 1 20 | Art.: Сальник ((USE WITH 47-89981 IMPELLER))Деталей в узле: 1 20 | Art.: Сальник ((USE WITH 47-89980 IMPELLER))Деталей в узле: 1 21 | Art.: Палец-вкладыш Деталей в узле: 1 22 | Art.: 26-33613 уплотнение впускной водяной трубы Деталей в узле: 1 23 | Art.: 32-34293 труба впуска воды Деталей в узле: 1 снято с производства 24 | Art.: KEY, IMPELLER DRIVE Деталей в узле: 1 25 | Art.: 47-89980 Крыльчатка ((MOLDED 47-89980 - .438 I.D.))Деталей в узле: 1 25 | Art.: 47-89981 Крыльчатка ((MOLDED 47-89981 - .456 I.D.))Деталей в узле: 1 26 | Art.: 46895 Пластина основания водяного насоса Деталей в узле: 1 27 | Art.: 93224A1 крышка водяного насоса в сборе Деталей в узле: 1 28 | Art.: 26-36558 уплотнение крышки водяного насоса Деталей в узле: 1 29 | Art.: BEARING, NYLON - WATER PUMP COVER Деталей в узле: 1 цена по запросу 30 | Art.: 26-30913 SEAL, Oil, WATER PUMP COVER Деталей в узле: 1 31 | Art.: 12-20533 Шайба шпильки водяного насоса Деталей в узле: 2 32 | Art.: NUT, (.250-28), WATER PUMP STUDS Деталей в узле: 2 33 | Art.: 25-30526 резиновое кольцо Деталей в узле: 1 34 | Art.: SLEEVE, GUIDE - WATER INLET TUBE Деталей в узле: 1 35 | Art.: 25-62704 O-RING, (.362 x .103), DRIVE SHAFT (SN# USA-5306001/Aus-8060795/Bel-9227031/Can-7134413 & Up)Деталей в узле: 1 - | Art.: 46-70941A3 Ремкомплект водяной помпы ((Use with 47-89981 Impeller))Деталей в узле: 1 - | Art.: 26-77066A1 SEAL KIT, Water Pump Деталей в узле: 1 - | Art.: 27-89014A80 Набор прокладок Деталей в узле: 1 снято с производства - | Art.: 1630-7360A12 Корпус редуктора в сборе ((SHORT) SN# USA-5306000/Aus-8060794/Bel-9227030/Can-7134412 & Below)Деталей в узле: 1 снято с производства - | Art.: 1630-7360A13 Корпус редуктора в сборе ((LONG) SN# USA-5306000/Aus-8060794/Bel-9227030/Can-7134412 & Below)Деталей в узле: 1 снято с производства - | Art.: 1630-7360A29 Корпус редуктора в сборе ((SHORT) SN# USA-5306001/Aus-8060795/Bel-9227031/Can-7134413 & Up)Деталей в узле: 1 снято с производства - | Art.: 1630-7360A30 Корпус редуктора в сборе ((LONG) SN# USA-5306001/Aus-8060795/Bel-9227031/Can-7134413 & Up)Деталей в узле: 1 снято с производства - | Art.: 46-92970A5 Ремкомплект водяной помпы ((Use with 47-89980 Impeller))Деталей в узле: 1 снято с производства | ||||||||||||||||||||||||||||||||||||||||||||||||||
