150/175/200 (EFI)
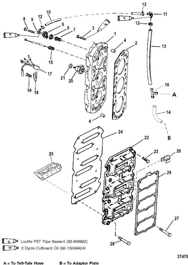
блок лепестковых клапанов и головка блока
блок лепестковых клапанов и головка блока
| № | Артикул | Наименование | Деталей в узле | Комментарий | Цена | |
| 1 | головка блока | 2 | цена по запросу | |||
| 2 | Прокладка | 2 | 6590 руб. | |||
| 3 | винт (.375-16 x 2.30) | 23 | (QTY. OF 24 ON 150/175) | цена по запросу | ||
| 3 | винт | 1 | (200) | цена по запросу | ||
| 4 | посадочный штифт (0.250 x 0.625) | 4 | 560 руб. | |||
| 5 | Прокладка | 2 | 270 руб. | |||
| 6 | комплект крышки | 2 | 5920 руб. | |||
| 7 | термостат | 2 | 2480 руб. | |||
| 8 | винт (0.312-18 x 1.00) | 4 | 100 руб. | |||
| 9 | латунный фиттинг - 90 градусов (0.250-18) | 1 | 4930 руб. | |||
| 10 | HOSE, (59.00 Inches Bulk) (Cut to 12-3/4 IN.) | 1 | 8200 руб. | |||
| 11 | фиттинг | 1 | цена по запросу | |||
| 12 | ленточный хомут (8") | AR | 30 руб. | |||
| 13 | HOSE, (59.00 Inches Bulk) (Cut to 11-1/2 IN.) | 1 | 8200 руб. | |||
| 14 | HOSE, (59.00 Inches Bulk) (Cut to 7-1/2 IN.) | 1 | 8200 руб. | |||
| 15 | SENDER, Temperature (Starboard) | 1 | 11910 руб. | |||
| 16 | Т-образный фиттинг | 1 | 2720 руб. | |||
| 17 | SENSOR ASSEMBLY, Temperature (Port) | 1 | 7530 руб. | |||
| 18 | фиксатор | 2 | 500 руб. | |||
| 19 | винт (0.312-18 x 0.500) | 2 | 130 руб. | |||
| 20 | SENSOR, Knock (200) | 1 | 70230 руб. | |||
| 21 | шайба (#10-32) латунь | 1 | 180 руб. | |||
| 22 | пластина переходника в сборе | 1 | снято с производства | |||
| 23 | винт (0.250-20 x 0.875) нержавеющая сталь | 8 | 180 руб. | |||
| 24 | Прокладка | 1 | 1530 руб. | |||
| 25 | блок лепестковых клапанов | 6 | цена по запросу | |||
| 26 | J-образный зажим | 1 | цена по запросу | |||
| 27 | винт (0.250-20 x 0.880) | 6 | 260 руб. | |||
| 28 | SCREW, (.250-20 x 1.125) | 6 | цена по запросу | |||
| 29 | Прокладка | 1 | 1210 руб. | |||
| - | Набор прокладок двигателя | 1 | 29780 руб. | |||
| - | силовая головка в сборе | 1 | (150) | снято с производства | ||
| - | силовая головка в сборе | 1 | (175) | снято с производства | ||
| - | силовая головка в сборе | 1 | (200) | снято с производства | ||
| 1 | Art.: 18488F1 головка блока Деталей в узле: 2 цена по запросу
| ||||||||||||||||||||||||||||||||||||||||||||||||||||||||||
| 2 | Прокладка Деталей в узле: 2 3 | Art.: 10-98534 винт (.375-16 x 2.30) ((QTY. OF 24 ON 150/175))Деталей в узле: 23 цена по запросу
3 | Art.: 10-827426 винт ((200))Деталей в узле: 1 цена по запросу
4 | Art.: 17-63779 посадочный штифт (0.250 x 0.625) Деталей в узле: 4 5 | Прокладка Деталей в узле: 2 6 | Art.: 90390A1 комплект крышки Деталей в узле: 2 7 | Art.: 75692 термостат Деталей в узле: 2 8 | Art.: 10-35386 винт (0.312-18 x 1.00) Деталей в узле: 4 9 | Art.: латунный фиттинг - 90 градусов (0.250-18) Деталей в узле: 1 10 | HOSE, (59.00 Inches Bulk) (Cut to 12-3/4 IN.) Деталей в узле: 1 11 | Art.: 22-68728 фиттинг Деталей в узле: 1 цена по запросу
12 | Art.: ленточный хомут (8") Деталей в узле: AR 13 | HOSE, (59.00 Inches Bulk) (Cut to 11-1/2 IN.) Деталей в узле: 1 14 | HOSE, (59.00 Inches Bulk) (Cut to 7-1/2 IN.) Деталей в узле: 1 15 | Art.: 97465 SENDER, Temperature (Starboard) Деталей в узле: 1 16 | Art.: 22-815914 Т-образный фиттинг Деталей в узле: 1 17 | Art.: 13536A6 SENSOR ASSEMBLY, Temperature (Port) Деталей в узле: 1 18 | Art.: 137151 фиксатор Деталей в узле: 2 19 | Art.: 10-98257 винт (0.312-18 x 0.500) Деталей в узле: 2 20 | Art.: 826858 SENSOR, Knock (200) Деталей в узле: 1 21 | Art.: 11-45076 шайба (#10-32) латунь Деталей в узле: 1 22 | Art.: 17735A2 пластина переходника в сборе Деталей в узле: 1 снято с производства 23 | Art.: 10-28668 винт (0.250-20 x 0.875) нержавеющая сталь Деталей в узле: 8 24 | Art.: 27-146972 Прокладка Деталей в узле: 1 25 | блок лепестковых клапанов Деталей в узле: 6 цена по запросу 26 | Art.: 54-55098 J-образный зажим Деталей в узле: 1 цена по запросу
27 | Art.: 10-55715 винт (0.250-20 x 0.880) Деталей в узле: 6 28 | Art.: 10-90197 SCREW, (.250-20 x 1.125) Деталей в узле: 6 цена по запросу
29 | Art.: 27-167371 Прокладка Деталей в узле: 1 - | Art.: 27-815791A92 Набор прокладок двигателя Деталей в узле: 1 |
