135/150/175/200/XR6/MAGNUM III
карбюратор (WMH-21/22/23/24/25/28)
карбюратор (WMH-21/22/23/24/25/28)
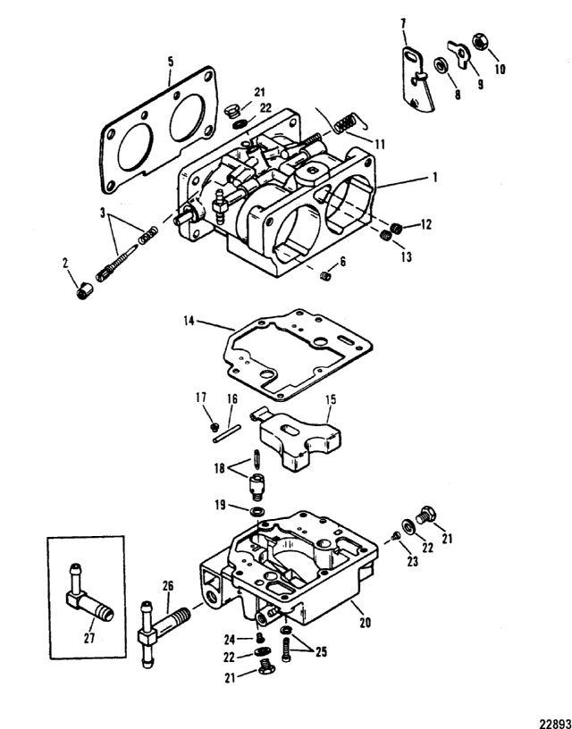
| № | Артикул | Наименование | Деталей в узле | Комментарий | Цена | |
| 1 | карбюратор верхний | 1 | 135 - WMH-28 | снято с производства | ||
| 1 | карбюратор средний | 1 | 200 - WMH-21 | снято с производства | ||
| 1 | карбюратор верхний | 1 | 200 - WMH-21 | снято с производства | ||
| 1 | карбюратор нижний | 1 | 175 - WMH-22 | снято с производства | ||
| 1 | карбюратор нижний | 1 | XR6/MAGNUM III-WMH-25 | снято с производства | ||
| 1 | карбюратор средний | 1 | XR6/MAGNUM III-WMH-25 | снято с производства | ||
| 1 | карбюратор верхний | 1 | XR6/MAGNUM III-WMH-25 | снято с производства | ||
| 1 | карбюратор нижний | 1 | 150 - WMH-23 | снято с производства | ||
| 1 | карбюратор средний | 1 | 150 - WMH-23 | снято с производства | ||
| 1 | карбюратор верхний | 1 | 150 - WMH-23 | снято с производства | ||
| 1 | карбюратор нижний | 1 | 135 - WMH-28 | снято с производства | ||
| 1 | карбюратор средний | 1 | 135 - WMH-28 | снято с производства | ||
| 1 | карбюратор средний | 1 | 175 - WMH-22 | снято с производства | ||
| 1 | карбюратор верхний | 1 | 175 - WMH-22 | снято с производства | ||
| 1 | карбюратор нижний | 1 | 200 - WMH-21 | снято с производства | ||
| 2 | Крышка | 6 | 2260 руб. | |||
| 3 | NSS | NOT SOLD SEPARATE, Idle Mixture Screw/Spring | 6 | |||
| 5 | Прокладка | 3 | 210 руб. | |||
| 6 | жиклер (0.060) (0.056 - 150/135 - WMH-24) | 6 | снято с производства | |||
| 6 | жиклер (0.070 - 135 - WMH-28) | 6 | снято с производства | |||
| 6 | жиклер (0.040) (175) | 6 | цена по запросу | |||
| 6 | жиклер (0.050) (XR6/MAGNUMIII/200) | 6 | цена по запросу | |||
| 7 | рычаг дросселя (нижний) | 1 | снято с производства | |||
| 7 | рычаг дросселя (верхний/средний) | 2 | снято с производства | |||
| 8 | проставка | 3 | снято с производства | |||
| 9 | шайба | 3 | снято с производства | |||
| 10 | гайка | 3 | снято с производства | |||
| 11 | NSS | Не продается по отдельности, пружина | 3 | |||
| 12 | главный жиклер (0.090) (200/135 - WMH-24) | 3 | 1480 руб. | |||
| 12 | жиклер (0.098) (175) | 3 | 1060 руб. | |||
| 12 | жиклер (0.086) (XR6/MAGNUM III) | 3 | 990 руб. | |||
| 12 | жиклер (0.094) (.094 -150) | 3 | цена по запросу | |||
| 13 | главный жиклер (0.060) (135 - WMH-24) | 3 | 1770 руб. | |||
| 13 | главный жиклер (0.056) (150/135 - WMH-28) | 3 | 1480 руб. | |||
| 13 | жиклер (0.048) (175) | 3 | 2160 руб. | |||
| 13 | жиклер (0.050) (XR6/MAGNUM III) | 3 | 1480 руб. | |||
| 13 | жиклер (0.046) (200) | 3 | 1250 руб. | |||
| 14 | NSS | не продается по отдельности, прокладка топливной камеры | 3 | |||
| 15 | поплавок в сборе | 3 | 3410 руб. | |||
| 16 | Вал | 3 | 500 руб. | |||
| 17 | NSS | не продается по отдельности: винт поплавка | 3 | |||
| 18 | комплект седла клапана | 3 | 3790 руб. | |||
| 19 | NSS | не продается по отдельности: прокладка седла клапана | 3 | |||
| 20 | камера топливной смеси (верхняя) | 1 | снято с производства | |||
| 20 | камера топливной смеси (центральная/нижняя) | 2 | снято с производства | |||
| 21 | пробка | 15 | цена по запросу | |||
| 22 | NSS | NOT SOLD SEPARATE, Gasket-Power/Progression Jet | AR | |||
| 23 | главный жиклер (0.060) (150/135 - WMH-24) | 6 | 1770 руб. | |||
| 23 | главный жиклер (0.062) (135 - WMH-28) | 6 | 1480 руб. | |||
| 23 | главный жиклер (0.054) (XR6/MAGNUM III) | 6 | 1480 руб. | |||
| 23 | жиклер (0.064) (175/200) | 6 | 1480 руб. | |||
| 24 | POWER JET (200) | 6 | снято с производства | |||
| 24 | POWER JET (175) | 6 | снято с производства | |||
| 24 | POWER JET (XR6/MAGNUM III) | 6 | снято с производства | |||
| 24 | POWER JET (135 - WMH-28) | 6 | снято с производства | |||
| 24 | POWER JET (150/135 - WMH-24) | 6 | снято с производства | |||
| 25 | NSS | не продается по отдельности винт камеры топливной смеси | 18 | |||
| 26 | TEE FITTING (TOP/CENTER) | 2 | цена по запросу | |||
| 27 | колено нижнее | 1 | 5890 руб. | |||
| - | комплект прокладок карбюратора | 1 | 1710 руб. | |||
| - | Ремкомплект карбюратора | 1 | 16050 руб. | |||
| - | Набор прокладок двигателя | 1 | 29780 руб. | |||
| 1 | Art.: карбюратор верхний (135 - WMH-28)Деталей в узле: 1 снято с производства 1 | Art.: карбюратор средний (200 - WMH-21)Деталей в узле: 1 снято с производства 1 | Art.: карбюратор верхний (200 - WMH-21)Деталей в узле: 1 снято с производства 1 | карбюратор нижний (175 - WMH-22)Деталей в узле: 1 снято с производства 1 | Art.: 3314-821684A3 карбюратор нижний (XR6/MAGNUM III-WMH-25)Деталей в узле: 1 снято с производства 1 | Art.: 3314-821684A2 карбюратор средний (XR6/MAGNUM III-WMH-25)Деталей в узле: 1 снято с производства 1 | Art.: 3314-821684A1 карбюратор верхний (XR6/MAGNUM III-WMH-25)Деталей в узле: 1 снято с производства 1 | карбюратор нижний (150 - WMH-23)Деталей в узле: 1 снято с производства 1 | Art.: карбюратор средний (150 - WMH-23)Деталей в узле: 1 снято с производства 1 | Art.: карбюратор верхний (150 - WMH-23)Деталей в узле: 1 снято с производства 1 | карбюратор нижний (135 - WMH-28)Деталей в узле: 1 снято с производства 1 | Art.: карбюратор средний (135 - WMH-28)Деталей в узле: 1 снято с производства 1 | Art.: карбюратор средний (175 - WMH-22)Деталей в узле: 1 снято с производства 1 | Art.: карбюратор верхний (175 - WMH-22)Деталей в узле: 1 снято с производства 1 | Art.: карбюратор нижний (200 - WMH-21)Деталей в узле: 1 снято с производства 2 | Art.: 810779 Крышка Деталей в узле: 6 3 | Art.: -NSS NOT SOLD SEPARATE, Idle Mixture Screw/Spring Деталей в узле: 6 5 | Art.: 27-677511 Прокладка Деталей в узле: 3 6 | Art.: 815633060 жиклер (0.060) (0.056 - 150/135 - WMH-24) Деталей в узле: 6 снято с производства 6 | Art.: 815633070 жиклер (0.070 - 135 - WMH-28) Деталей в узле: 6 снято с производства 6 | Art.: 1399-7570 жиклер (0.040) (175) Деталей в узле: 6 цена по запросу
6 | Art.: 815633050 жиклер (0.050) (XR6/MAGNUMIII/200) Деталей в узле: 6 цена по запросу
7 | Art.: 810722 рычаг дросселя (нижний) Деталей в узле: 1 снято с производства 7 | Art.: 810721 рычаг дросселя (верхний/средний) Деталей в узле: 2 снято с производства 8 | Art.: 1395-811284 проставка Деталей в узле: 3 снято с производства 9 | Art.: 12-810745 шайба Деталей в узле: 3 снято с производства 10 | Art.: 11-810744 гайка Деталей в узле: 3 снято с производства 11 | Art.: -NSS Не продается по отдельности, пружина Деталей в узле: 3 12 | Art.: 1395-6247 главный жиклер (0.090) (200/135 - WMH-24) Деталей в узле: 3 12 | Art.: 1395-7335 жиклер (0.098) (175) Деталей в узле: 3 12 | Art.: 1395-5815 жиклер (0.086) (XR6/MAGNUM III) Деталей в узле: 3 12 | Art.: 1395-8423 жиклер (0.094) (.094 -150) Деталей в узле: 3 цена по запросу
13 | Art.: 1395-6487 главный жиклер (0.060) (135 - WMH-24) Деталей в узле: 3 13 | Art.: 1399-5213 главный жиклер (0.056) (150/135 - WMH-28) Деталей в узле: 3 13 | Art.: 1395-6246 жиклер (0.048) (175) Деталей в узле: 3 13 | Art.: 1395-6028 жиклер (0.050) (XR6/MAGNUM III) Деталей в узле: 3 13 | Art.: 1399-5317 жиклер (0.046) (200) Деталей в узле: 3 14 | Art.: -NSS не продается по отдельности, прокладка топливной камеры Деталей в узле: 3 15 | Art.: 810738 поплавок в сборе Деталей в узле: 3 16 | Art.: F10064 Вал Деталей в узле: 3 17 | Art.: -NSS не продается по отдельности: винт поплавка Деталей в узле: 3 18 | Art.: комплект седла клапана Деталей в узле: 3 19 | Art.: -NSS не продается по отдельности: прокладка седла клапана Деталей в узле: 3 20 | Art.: 1395-823623 камера топливной смеси (верхняя) Деталей в узле: 1 снято с производства 20 | Art.: 1395-823624 камера топливной смеси (центральная/нижняя) Деталей в узле: 2 снято с производства 21 | Art.: пробка Деталей в узле: 15 цена по запросу 22 | Art.: -NSS NOT SOLD SEPARATE, Gasket-Power/Progression Jet Деталей в узле: AR 23 | Art.: 1395-6487 главный жиклер (0.060) (150/135 - WMH-24) Деталей в узле: 6 23 | Art.: 1399-4217 главный жиклер (0.062) (135 - WMH-28) Деталей в узле: 6 23 | Art.: 1399-5225 главный жиклер (0.054) (XR6/MAGNUM III) Деталей в узле: 6 23 | Art.: 1399-4216 жиклер (0.064) (175/200) Деталей в узле: 6 24 | Art.: 1395-823627 POWER JET (200) Деталей в узле: 6 снято с производства 24 | Art.: 1395-823626 POWER JET (175) Деталей в узле: 6 снято с производства 24 | Art.: 1395-823625 POWER JET (XR6/MAGNUM III) Деталей в узле: 6 снято с производства 24 | Art.: 1395-808584 POWER JET (135 - WMH-28) Деталей в узле: 6 снято с производства 24 | Art.: 1395-823629 POWER JET (150/135 - WMH-24) Деталей в узле: 6 снято с производства 25 | Art.: -NSS не продается по отдельности винт камеры топливной смеси Деталей в узле: 18 26 | Art.: 1395-7900 TEE FITTING (TOP/CENTER) Деталей в узле: 2 цена по запросу
27 | Art.: 1395-7901 колено нижнее Деталей в узле: 1 - | Art.: 8107492 комплект прокладок карбюратора Деталей в узле: 1 - | Art.: 1395-8116912 Ремкомплект карбюратора Деталей в узле: 1 - | Art.: 27-815791A92 Набор прокладок двигателя Деталей в узле: 1 | |||||||||||||||||||||||||||||||||||||||||||||||||||||||||||||||
