MERC 3.4L EFI
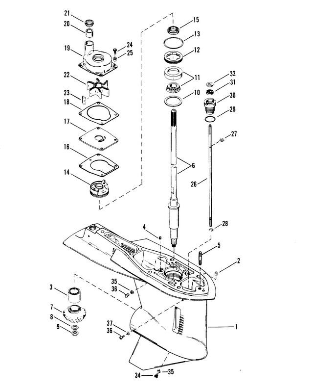
Корпус редуктора, вертикальный вал
Корпус редуктора, вертикальный вал
| № | Артикул | Наименование | Деталей в узле | Комментарий | Цена | |
| 1 | корпус редуктора в сборе (основа) | 1 | снято с производства | |||
| 2 | DOWELL PIN, GEAR HOUSING LOCATING | 2 | цена по запросу | |||
| 3 | роликовый подшипник вертикального вала | 1 | снято с производства | |||
| 4 | Пробка корпуса редуктора | 1 | 3650 руб. | |||
| 5 | шпилька корпуса редуктора | 1 | снято с производства | |||
| 6 | вертикальный вал в сборе (Long) | 1 | снято с производства | |||
| 6 | вертикальный вал в сборе (X-Long) | 1 | снято с производства | |||
| 7 | PINION GEAR (PART OF 43-99492A2/43-99492A3) | 1 | ||||
| 8 | шайба гайки ведущей шестерни | 1 | 150 руб. | |||
| 9 | гайка крепления ведущей шестерни к вертикальному валу | 1 | 800 руб. | |||
| 10 | SHIM ASSEMBLY, ROLER BEARING TO GEAR HOUSING | AR | снято с производства | |||
| 11 | роликовый подшипник вертикального вала | 1 | 8660 руб. | |||
| 12 | фиксирующая гайка роликового подшипника | 1 | снято с производства | |||
| 13 | "O" RING, WATER PUMP | 1 | 560 руб. | |||
| 14 | основание водяного насоса в сборе | 1 | снято с производства | |||
| 15 | сальник основы водяного насоса | 1 | 3920 руб. | |||
| 16 | Нижняя прокладка водяного насоса | 1 | 3810 руб. | |||
| 17 | ,PLATE, FACE-WATER PUMP | 1 | снято с производства | |||
| 18 | верхняя прокладка водяного насоса | 1 | 5150 руб. | |||
| 19 | Корпус водяной помпы в сборе | 1 | снято с производства | |||
| 20 | Резиновое уплотнение впускной водяной трубы | 1 | 680 руб. | |||
| 21 | Направляющая впускной водяной трубы | 1 | снято с производства | |||
| 22 | IMPELELR, WATER PUMP | 1 | 11960 руб. | |||
| 23 | KEY, IMPELLER DRIVE | 1 | снято с производства | |||
| 24 | Винт водяного насоса | 4 | цена по запросу | |||
| 25 | изолятор винта водяного насоса | 4 | снято с производства | |||
| 26 | SHAFT, SHIFT- LOWER | 1 | снято с производства | |||
| 27 | Е-образное кольцо фиксатора вала механизма переключения передач | 1 | 180 руб. | |||
| 28 | стопорное кольцо | 1 | снято с производства | |||
| 29 | "0" RING, SHIFT SHAFT BUSHING | 1 | 210 руб. | |||
| 30 | вкладыш вала механизма переключения передач в сборе | 1 | 3480 руб. | |||
| 31 | сальник вкладыша вала механизма переключения передач | 1 | цена по запросу | |||
| 32 | резиновая шайба вкладыша вала механизма переключения передач | 1 | 110 руб. | |||
| 33 | SCREW, GREASE FILLER | 1 | цена по запросу | |||
| 34 | сливной винт с магнитом | 1 | цена по запросу | |||
| 35 | WASHER, GREASE FILLER AND DRAIN SCREW | 4 | цена по запросу | |||
| 36 | Винт корпуса редуктора | 1 | 270 руб. | |||
| 37 | Шайба корпуса редуктора | 1 | 100 руб. | |||
| - | GEAR HOUSING ASSEMBLY (X-LONG) RHR | 1 | снято с производства | |||
| - | GEAR HOUSING ASSEMBLY (LONG) LHR | 1 | снято с производства | |||
| - | GEAR HOUSING ASSEMBLY (X-LONG) LHR | 1 | снято с производства | |||
| - | GEAR HOUSING ASSEMBLY (LONG) RHR | 1 | снято с производства | |||
| 1 | Art.: корпус редуктора в сборе (основа) Деталей в узле: 1 снято с производства 2 | Art.: DOWELL PIN, GEAR HOUSING LOCATING Деталей в узле: 2 цена по запросу 3 | Art.: роликовый подшипник вертикального вала Деталей в узле: 1 снято с производства 4 | Art.: 22-56800 Пробка корпуса редуктора Деталей в узле: 1 5 | Art.: 16-873441 шпилька корпуса редуктора Деталей в узле: 1 снято с производства 6 | Art.: 45-99775 вертикальный вал в сборе (Long) Деталей в узле: 1 снято с производства 6 | Art.: 45-99885 вертикальный вал в сборе (X-Long) Деталей в узле: 1 снято с производства 7 | Art.: -N.S.S. PINION GEAR (PART OF 43-99492A2/43-99492A3) Деталей в узле: 1 8 | Art.: 12-92721 шайба гайки ведущей шестерни Деталей в узле: 1 9 | Art.: 11-35921 гайка крепления ведущей шестерни к вертикальному валу Деталей в узле: 1 10 | Art.: 15-88655A1 SHIM ASSEMBLY, ROLER BEARING TO GEAR HOUSING Деталей в узле: AR снято с производства 11 | Art.: роликовый подшипник вертикального вала Деталей в узле: 1 12 | Art.: 11-88710 фиксирующая гайка роликового подшипника Деталей в узле: 1 снято с производства 13 | Art.: 25-88657 "O" RING, WATER PUMP Деталей в узле: 1 14 | Art.: 46-88776A5 основание водяного насоса в сборе Деталей в узле: 1 снято с производства 15 | Art.: 26-14381 сальник основы водяного насоса Деталей в узле: 1 16 | Art.: Нижняя прокладка водяного насоса Деталей в узле: 1 17 | Art.: 90755 ,PLATE, FACE-WATER PUMP Деталей в узле: 1 снято с производства 18 | Art.: верхняя прокладка водяного насоса Деталей в узле: 1 19 | Art.: 46-90530A1 Корпус водяной помпы в сборе Деталей в узле: 1 снято с производства 20 | Art.: 26-88397 Резиновое уплотнение впускной водяной трубы Деталей в узле: 1 21 | Art.: 88581 Направляющая впускной водяной трубы Деталей в узле: 1 снято с производства 22 | Art.: 85647 IMPELELR, WATER PUMP Деталей в узле: 1 23 | Art.: 28-88422 KEY, IMPELLER DRIVE Деталей в узле: 1 снято с производства 24 | Art.: 10-40011128 Винт водяного насоса Деталей в узле: 4 цена по запросу
25 | Art.: 90753 изолятор винта водяного насоса Деталей в узле: 4 снято с производства 26 | Art.: 44197A2 SHAFT, SHIFT- LOWER Деталей в узле: 1 снято с производства 27 | Art.: 53-29641 Е-образное кольцо фиксатора вала механизма переключения передач Деталей в узле: 1 28 | Art.: 53-78907 стопорное кольцо Деталей в узле: 1 снято с производства 29 | Art.: 25-25439 "0" RING, SHIFT SHAFT BUSHING Деталей в узле: 1 30 | Art.: 23-77631A2 вкладыш вала механизма переключения передач в сборе Деталей в узле: 1 31 | сальник вкладыша вала механизма переключения передач Деталей в узле: 1 цена по запросу 32 | Art.: 12-77674 резиновая шайба вкладыша вала механизма переключения передач Деталей в узле: 1 33 | SCREW, GREASE FILLER Деталей в узле: 1 цена по запросу 34 | сливной винт с магнитом Деталей в узле: 1 цена по запросу 35 | Art.: WASHER, GREASE FILLER AND DRAIN SCREW Деталей в узле: 4 цена по запросу 36 | Art.: 10-28653 Винт корпуса редуктора Деталей в узле: 1 37 | Art.: Шайба корпуса редуктора Деталей в узле: 1 - | Art.: GEAR HOUSING ASSEMBLY (X-LONG) RHR Деталей в узле: 1 снято с производства - | Art.: GEAR HOUSING ASSEMBLY (LONG) LHR Деталей в узле: 1 снято с производства - | Art.: GEAR HOUSING ASSEMBLY (X-LONG) LHR Деталей в узле: 1 снято с производства - | Art.: GEAR HOUSING ASSEMBLY (LONG) RHR Деталей в узле: 1 снято с производства | |||||||||||||||||||||||||||||||||||||||||||
