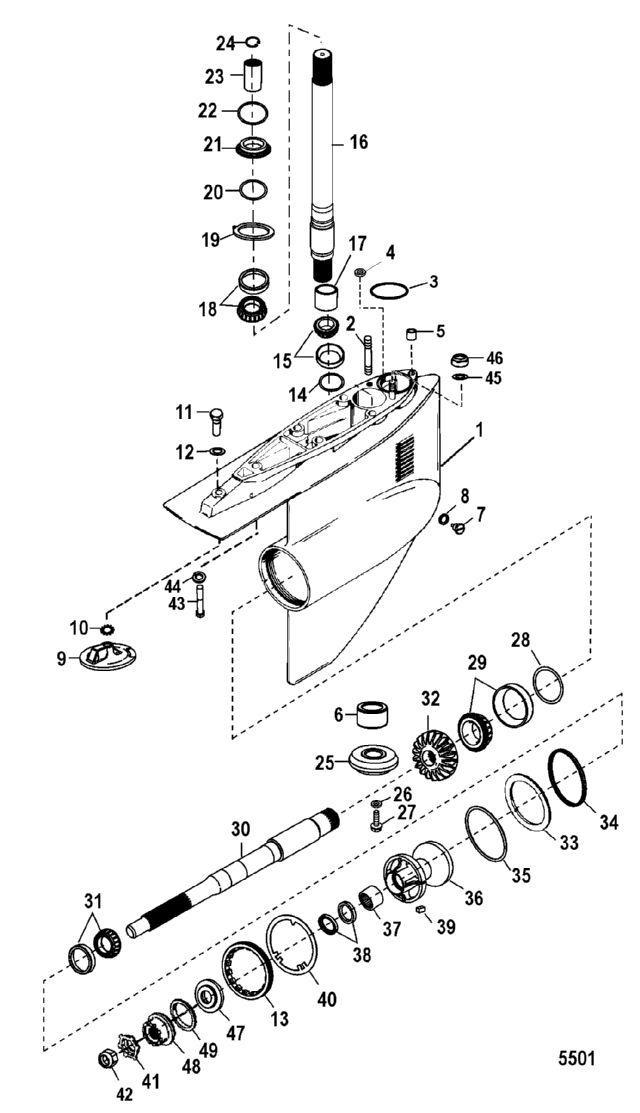
BRAVO I-II-III
Gear Housing(Bravo Two)
Gear Housing(Bravo Two)
| № | Артикул | Наименование | Деталей в узле | Комментарий | Цена | |
| 1 | Корпус редуктора в сборе | 1 | 464910 руб. | |||
| 1 | Корпус редуктора в сборе | 1 | (SEACORE) | 524000 руб. | ||
| 2 | шпилька (0.437-14/0.437-20 x 2.060) | 2 | цена по запросу | |||
| 3 | уплотнительное кольцо | 1 | цена по запросу | |||
| 4 | Уплотнение | 1 | цена по запросу | |||
| 5 | уплотнение (внешний диаметр .625) | 1 | 440 руб. | |||
| 6 | роликовый подшипник в сборе | 1 | 11810 руб. | |||
| 7 | PLUG KIT, Drain - Magnetic, Magnetic | 2 | 1280 руб. | |||
| 8 | Уплотнение | 1 | 670 руб. | |||
| 9 | комплект анода | 1 | 2730 руб. | |||
| 10 | стопорная шайба (0.437) | 1 | 230 руб. | |||
| 11 | винт (.437-14 x 1.500) | 1 | 420 руб. | |||
| 12 | шайба (.453 x .750 x .032) нержавеющая сталь | 1 | 440 руб. | |||
| 13 | фиксатор | 1 | цена по запросу | |||
| 13 | фиксатор | 1 | (SEACORE) | цена по запросу | ||
| 14 | комплект регулировочной прокладки | AR | 5700 руб. | |||
| 15 | конический роликовый подшипник в сборе | 1 | 6800 руб. | |||
| 16 | Вертикальный вал в сборе | 1 | 143310 руб. | |||
| 17 | обойма подшипника | 1 | 7780 руб. | |||
| 18 | конический роликовый подшипник в сборе | 1 | 6770 руб. | |||
| 19 | стопорная шайба | 1 | 2170 руб. | |||
| 20 | комплект регулировочной прокладки | AR | 6530 руб. | |||
| 21 | проставка | 1 | 1650 руб. | |||
| 22 | уплотнительное кольцо (2.230 x .139) | 1 | 510 руб. | |||
| 23 | муфта в сборе | 1 | 16730 руб. | |||
| 24 | стопорное кольцо | 1 | 140 руб. | |||
| 25 | GEAR, (16/27), Pinion | 1 | (1.81:1 - 2.00:1 - 2.20:1 Ratio) | 70130 руб. | ||
| 25 | GEAR, (18/25), Pinion | 1 | (1.50:1 - 1.65:1 Ratio) | 65240 руб. | ||
| 26 | шайба ведущей шестерни | 1 | 2130 руб. | |||
| 27 | винт ведущей шестерни | 1 | 640 руб. | |||
| 28 | регулировочная прокладка в сборе | AR | 3060 руб. | |||
| 29 | конический роликовый подшипник в сборе | 1 | 21460 руб. | |||
| 30 | вал гребного винта | 1 | 207170 руб. | |||
| 31 | конический роликовый подшипник в сборе | 1 | 13470 руб. | |||
| 32 | приводная шестерня | 1 | (1.50:1 - 1.65:1 Ratio) | 127750 руб. | ||
| 32 | приводная шестерня | 1 | (1.81:1 - 2.00:1 - 2.20:1 Ratio) | 126540 руб. | ||
| 33 | упорное кольцо | 1 | 17740 руб. | |||
| 34 | RING, Load | 1 | 5740 руб. | |||
| 35 | уплотнительное кольцо | 1 | 780 руб. | |||
| 36 | подшипник опоры в сборе | 1 | 82390 руб. | |||
| 36 | подшипник опоры в сборе | 1 | (SEACORE) | 92690 руб. | ||
| 37 | роликовый подшипник | 1 | 5640 руб. | |||
| 38 | Сальник | 1 | 5380 руб. | |||
| 38 | SEAL, Oil, Fish-Line Cutter | 1 | 6140 руб. | |||
| 39 | шпонка | 1 | 290 руб. | |||
| 40 | стопорная шайба | 1 | 2720 руб. | |||
| 41 | стопорная шайба | 1 | 1740 руб. | |||
| 42 | PROP NUT, (1.00-14) Brass | 1 | 2830 руб. | |||
| 43 | SCREW, (.4375-14 x 2.75) | 1 | 1420 руб. | |||
| 44 | стопорная шайба (0.437) | 1 | 230 руб. | |||
| 45 | шайба (.453 x .750 x .032) нержавеющая сталь | 2 | 440 руб. | |||
| 46 | гайка (0.437-20) | 2 | 1280 руб. | |||
| 47 | упорная втулка | 1 | 6210 руб. | |||
| 48 | WASHER ASSEMBLY | 1 | 11750 руб. | |||
| 49 | шайба | 1 | 1710 руб. | |||
| - | ANODE KIT, Aluminum (Bravo II) | AR | 8410 руб. | |||
| - | Набор уплотнений корпуса редуктора | 1 | 21020 руб. | |||
| - | редуктор в сборе | 1 | (1.50:1 - 1.65:1 Ratio) | 1087380 руб. | ||
| - | редуктор в сборе | 1 | (SEACORE)(1.50:1 - 1.65:1 Ratio) | 1051270 руб. | ||
| - | редуктор в сборе | 1 | (1.81:1 - 2.00:1 - 2.20:1 Ratio) | 1129580 руб. | ||
| - | редуктор в сборе | 1 | (SEACORE)(1.81:1 - 2.00:1 - 2.20:1 Ratio) | 1109640 руб. | ||
| - | ANODE KIT, Magnesium (Bravo II) | AR | цена по запросу | |||
| 1 | Art.: 1641-8294A14 Корпус редуктора в сборе Деталей в узле: 1 1 | Art.: 1641-8294J00 Корпус редуктора в сборе ((SEACORE))Деталей в узле: 1 2 | Art.: 16-579203 шпилька (0.437-14/0.437-20 x 2.060) Деталей в узле: 2 цена по запросу
3 | Art.: 25-33465 уплотнительное кольцо Деталей в узле: 1 цена по запросу
4 | Art.: 26-455771 Уплотнение Деталей в узле: 1 цена по запросу
5 | Art.: 26-805344 уплотнение (внешний диаметр .625) Деталей в узле: 1 6 | Art.: 31-86754T роликовый подшипник в сборе Деталей в узле: 1 7 | Art.: PLUG KIT, Drain - Magnetic, Magnetic Деталей в узле: 2 8 | Art.: Уплотнение Деталей в узле: 1 9 | Art.: 76214Q5 комплект анода Деталей в узле: 1 10 | Art.: 13-806210 стопорная шайба (0.437) Деталей в узле: 1 11 | Art.: 10-90084 винт (.437-14 x 1.500) Деталей в узле: 1 12 | Art.: 12-861854 шайба (.453 x .750 x .032) нержавеющая сталь Деталей в узле: 1 13 | Art.: 54163 фиксатор Деталей в узле: 1 цена по запросу
13 | Art.: 8M2000346 фиксатор ((SEACORE))Деталей в узле: 1 цена по запросу
14 | Art.: 15-92914A1 комплект регулировочной прокладки Деталей в узле: AR 15 | конический роликовый подшипник в сборе Деталей в узле: 1 16 | Art.: Вертикальный вал в сборе Деталей в узле: 1 17 | Art.: 31-815901 обойма подшипника Деталей в узле: 1 18 | Art.: конический роликовый подшипник в сборе Деталей в узле: 1 19 | Art.: 14-86739 стопорная шайба Деталей в узле: 1 20 | Art.: 15-86749A1 комплект регулировочной прокладки Деталей в узле: AR 21 | проставка Деталей в узле: 1 22 | Art.: 25-20826 уплотнительное кольцо (2.230 x .139) Деталей в узле: 1 23 | Art.: 88243A3 муфта в сборе Деталей в узле: 1 24 | Art.: 53-88242 стопорное кольцо Деталей в узле: 1 25 | Art.: 43-41656T GEAR, (16/27), Pinion ((1.81:1 - 2.00:1 - 2.20:1 Ratio))Деталей в узле: 1 25 | Art.: 43-827304T GEAR, (18/25), Pinion ((1.50:1 - 1.65:1 Ratio))Деталей в узле: 1 26 | Art.: 12-805068 шайба ведущей шестерни Деталей в узле: 1 27 | Art.: 10-808027 винт ведущей шестерни Деталей в узле: 1 28 | Art.: 15-55499A1 регулировочная прокладка в сборе Деталей в узле: AR 29 | Art.: конический роликовый подшипник в сборе Деталей в узле: 1 30 | Art.: 44-62820T1 вал гребного винта Деталей в узле: 1 31 | Art.: конический роликовый подшипник в сборе Деталей в узле: 1 32 | Art.: 43-827303 приводная шестерня ((1.50:1 - 1.65:1 Ratio))Деталей в узле: 1 32 | Art.: 43-41657T приводная шестерня ((1.81:1 - 2.00:1 - 2.20:1 Ratio))Деталей в узле: 1 33 | Art.: 860323 упорное кольцо Деталей в узле: 1 34 | Art.: 23-66093T RING, Load Деталей в узле: 1 35 | Art.: 25-34821 уплотнительное кольцо Деталей в узле: 1 36 | Art.: подшипник опоры в сборе Деталей в узле: 1 36 | Art.: 863913A14 подшипник опоры в сборе ((SEACORE))Деталей в узле: 1 37 | Art.: 31-54042T роликовый подшипник Деталей в узле: 1 38 | Art.: 26-821092 Сальник Деталей в узле: 1 38 | Art.: 26-814242 SEAL, Oil, Fish-Line Cutter Деталей в узле: 1 39 | Art.: 28-30281 шпонка Деталей в узле: 1 40 | Art.: 14-54167 стопорная шайба Деталей в узле: 1 41 | Art.: 14-34817 стопорная шайба Деталей в узле: 1 42 | Art.: 11-82671127 PROP NUT, (1.00-14) Brass Деталей в узле: 1 43 | Art.: 10-90085 SCREW, (.4375-14 x 2.75) Деталей в узле: 1 44 | Art.: 13-47659 стопорная шайба (0.437) Деталей в узле: 1 45 | Art.: 12-861854 шайба (.453 x .750 x .032) нержавеющая сталь Деталей в узле: 2 46 | Art.: гайка (0.437-20) Деталей в узле: 2 47 | Art.: 55074T упорная втулка Деталей в узле: 1 48 | Art.: 12-55073A2 WASHER ASSEMBLY Деталей в узле: 1 49 | Art.: 12-55072 шайба Деталей в узле: 1 - | ANODE KIT, Aluminum (Bravo II) Деталей в узле: AR - | Art.: Набор уплотнений корпуса редуктора Деталей в узле: 1 - | Art.: 1641-8294A19 редуктор в сборе ((1.50:1 - 1.65:1 Ratio))Деталей в узле: 1 - | Art.: 1641-8294J02 редуктор в сборе ((SEACORE)(1.50:1 - 1.65:1 Ratio))Деталей в узле: 1 - | Art.: 1641-8294A16 редуктор в сборе ((1.81:1 - 2.00:1 - 2.20:1 Ratio))Деталей в узле: 1 - | Art.: 1641-8294J01 редуктор в сборе ((SEACORE)(1.81:1 - 2.00:1 - 2.20:1 Ratio))Деталей в узле: 1 - | ANODE KIT, Magnesium (Bravo II) Деталей в узле: AR цена по запросу
| |||||||||||||||||||||||||||||||||||||||||||||||||||||||||||||||
