150/175/200 EFI
система управления топливом
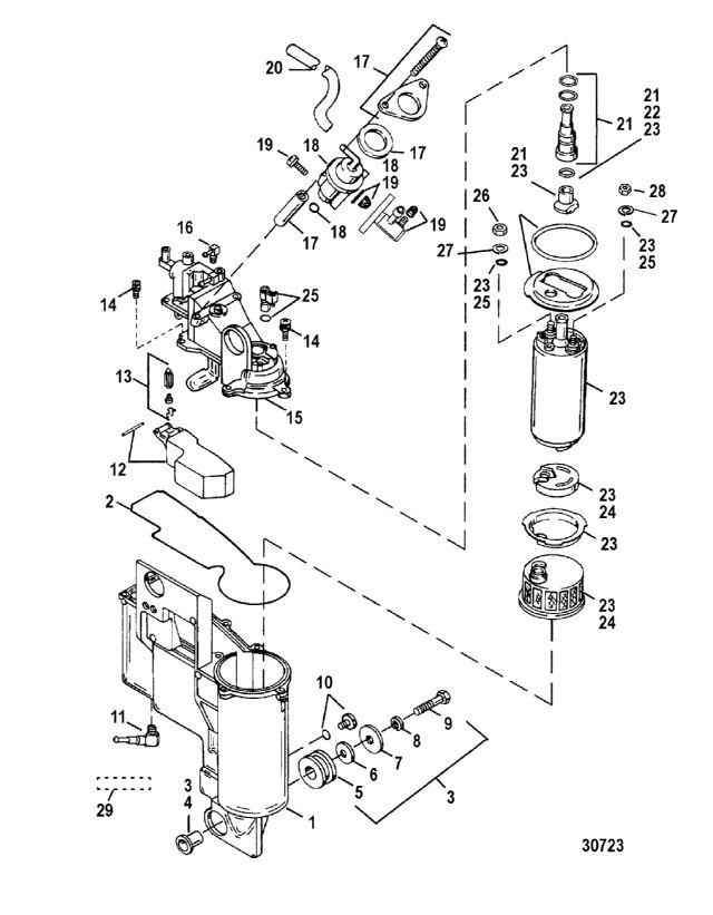
система управления топливом
| № | Артикул | Наименование | Деталей в узле | Комментарий | Цена | |
| 1 | BODY KIT | 1 | цена по запросу | |||
| 2 | уплотнительное кольцо | 1 | 7570 руб. | |||
| 3 | комплект винта крепления | 1 | снято с производства | |||
| 4 | манжет | 1 | снято с производства | |||
| 5 | резиновая втулка | 3 | цена по запросу | |||
| 6 | шайба | 3 | снято с производства | |||
| 7 | шайба | 3 | цена по запросу | |||
| 8 | стопорная шайба | 3 | 200 руб. | |||
| 9 | винт | 3 | цена по запросу | |||
| 10 | Комплект винтов | 1 | снято с производства | |||
| 11 | Клапан | 1 | 7970 руб. | |||
| 12 | комплект поплавка | 1 | цена по запросу | |||
| 13 | комплект поплавкового клапана | 1 | 6390 руб. | |||
| 14 | Комплект винтов | 1 | снято с производства | |||
| 15 | комплект крышки | 1 | снято с производства | |||
| 16 | комплект колена | 1 | цена по запросу | |||
| 17 | присоединительный комплект | 1 | снято с производства | |||
| 18 | комплект регулятора давления топлива | 1 | 33980 руб. | |||
| 19 | SCHRADER VALVE KIT | 1 | 66330 руб. | |||
| 20 | комплект трубы | 1 | цена по запросу | |||
| 21 | комплект фиттинга топливного насоса | 1 | снято с производства | |||
| 22 | O-RING AND SEAL KIT | 1 | снято с производства | |||
| 23 | Комплект топливного насоса | 1 | снято с производства | |||
| 24 | STRAINER KIT | 1 | снято с производства | |||
| 25 | CONNECTION KIT | 1 | 31060 руб. | |||
| 26 | гайка (М4) | 1 | 130 руб. | |||
| 27 | стопорная шайба (#8), нержавеющая сталь | 1 | 120 руб. | |||
| 28 | Гайка (М5), нержавеющая сталь | 1 | 280 руб. | |||
| 29 | наклейка - информация ассоциации ЕРА по вредным выбросам | 1 | (2000) (SEE NOTE) | снято с производства | ||
| - | MANAGEMENT ASSEMBLY, Fuel | 1 | снято с производства | |||
| 1 | Art.: 8140111 BODY KIT Деталей в узле: 1 цена по запросу
| ||||||||||||||||||||||||||||||||||||||||||||||||||||||||||
| 2 | Art.: 25-809086 уплотнительное кольцо Деталей в узле: 1 3 | Art.: 809092A1 комплект винта крепления Деталей в узле: 1 снято с производства 4 | Art.: 23-809078 манжет Деталей в узле: 1 снято с производства 5 | Art.: резиновая втулка Деталей в узле: 3 цена по запросу 6 | Art.: 12-8090622 шайба Деталей в узле: 3 снято с производства 7 | Art.: 12-8090621 шайба Деталей в узле: 3 цена по запросу
8 | Art.: стопорная шайба Деталей в узле: 3 9 | Art.: 10-8090611 винт Деталей в узле: 3 цена по запросу
10 | Art.: 10-809091 Комплект винтов Деталей в узле: 1 снято с производства 11 | Art.: 21-424811 Клапан Деталей в узле: 1 12 | Art.: 15445 комплект поплавка Деталей в узле: 1 цена по запросу
13 | Art.: 15446 комплект поплавкового клапана Деталей в узле: 1 14 | Art.: 10-8140762 Комплект винтов Деталей в узле: 1 снято с производства 15 | Art.: 8140102 комплект крышки Деталей в узле: 1 снято с производства 16 | Art.: 22-8090851 комплект колена Деталей в узле: 1 цена по запросу
17 | Art.: 809087 присоединительный комплект Деталей в узле: 1 снято с производства 18 | Art.: 8140122 комплект регулятора давления топлива Деталей в узле: 1 19 | Art.: SCHRADER VALVE KIT Деталей в узле: 1 20 | Art.: 32-8276943 комплект трубы Деталей в узле: 1 цена по запросу
21 | Art.: 809089 комплект фиттинга топливного насоса Деталей в узле: 1 снято с производства 22 | Art.: 15029 O-RING AND SEAL KIT Деталей в узле: 1 снято с производства 23 | Art.: 809088T1 Комплект топливного насоса Деталей в узле: 1 снято с производства 24 | Art.: 808504T1 STRAINER KIT Деталей в узле: 1 снято с производства 25 | Art.: 8090901 CONNECTION KIT Деталей в узле: 1 26 | Art.: 11-8237515 гайка (М4) Деталей в узле: 1 27 | Art.: 13-26995 стопорная шайба (#8), нержавеющая сталь Деталей в узле: 1 28 | Art.: 11-400211 Гайка (М5), нержавеющая сталь Деталей в узле: 1 29 | Art.: 37-80466900 наклейка - информация ассоциации ЕРА по вредным выбросам ((2000) (SEE NOTE))Деталей в узле: 1 снято с производства - | Art.: 14817A31 MANAGEMENT ASSEMBLY, Fuel Деталей в узле: 1 снято с производства | ||||||||||||||||||||||||||||||
