40/40 LIGHTNING XR/50
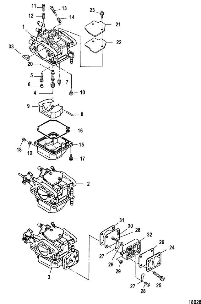
Карбюратор
Карбюратор
| № | Артикул | Наименование | Деталей в узле | Комментарий | Цена | |
| 1 | верхний карбюратор | 1 | (40) | 45950 руб. | ||
| 1 | верхний карбюратор | 1 | (40 Lightning XR/50) | 26360 руб. | ||
| 2 | карбюратор центральный | 1 | (40) | 45950 руб. | ||
| 2 | карбюратор центральный | 1 | (40 Lightning XR/50) | 25240 руб. | ||
| 3 | нижний карбюратор | 1 | (40) | 45950 руб. | ||
| 3 | нижний карбюратор | 1 | (40 Lightning XR/50) | 38630 руб. | ||
| 4 | JET, Main (#135) (Lower) | 1 | (40 Lightning XR/50) | 1020 руб. | ||
| 4 | главный жиклер (#122) | 3 | (40) | 1020 руб. | ||
| 4 | JET, Main (#132) (Upper/Center) | 2 | (40 Lightning XR/50) | 1020 руб. | ||
| 5 | JET, Pilot (#80) | 3 | (40 Lightning XR/50) | 1610 руб. | ||
| 5 | JET, Pilot (#66) | 3 | (40) | 1680 руб. | ||
| 6 | пробка | 3 | 390 руб. | |||
| 7 | FLOAT NEEDLE | 3 | 2280 руб. | |||
| 8 | стержень | 3 | 310 руб. | |||
| 9 | поплавок | 3 | 1510 руб. | |||
| 10 | винт | 3 | 90 руб. | |||
| 11 | винт верхнего карбюратора | 1 | 630 руб. | |||
| 12 | пружина верхнего карбюратора (11 мм) | 1 | снято с производства | |||
| 13 | винт регулировки холостого хода | 3 | 920 руб. | |||
| 14 | пружина (11 мм) | 3 | снято с производства | |||
| 15 | поплавковая камера нижнего карбюратора | 1 | 3970 руб. | |||
| 15 | поплавковая камера верхнего и центрального карбюратора | 2 | 3640 руб. | |||
| 16 | Прокладка | 3 | 550 руб. | |||
| 17 | винт | 12 | 540 руб. | |||
| 18 | сливной винт | 3 | 660 руб. | |||
| 19 | Прокладка | 3 | цена по запросу | |||
| 20 | главный распылитель | 3 | (40 Lightning XR/50) | 2190 руб. | ||
| 20 | главный распылитель | 3 | (40) | 2000 руб. | ||
| 21 | Крышка карбюратора | 3 | 770 руб. | |||
| 22 | Прокладка | 3 | 590 руб. | |||
| 23 | винт | 6 | 260 руб. | |||
| 24 | крышка нижнего карбюратора | 1 | 1060 руб. | |||
| 25 | винт нижнего карбюратора | 4 | 740 руб. | |||
| 26 | прокладка нижнего карбюратора | 1 | 690 руб. | |||
| 27 | обратный клапан нижнего карбюратора | 2 | 490 руб. | |||
| 28 | винт нижнего карбюратора | 2 | 430 руб. | |||
| 29 | гайка нижнего карбюратора | 2 | 430 руб. | |||
| 30 | диафрагма нижнего карбюратора | 1 | 2350 руб. | |||
| 31 | прокладка нижнего карбюратора | 1 | 670 руб. | |||
| 32 | корпус насоса нижнего карбюратора | 1 | 1730 руб. | |||
| 33 | резиновая втулка | 3 | 620 руб. | |||
| - | Ремкомплект карбюратора | 1 | 27710 руб. | |||
| 1 | Art.: 3303-853720A10 верхний карбюратор ((40))Деталей в узле: 1 1 | Art.: 3303-853720A09 верхний карбюратор ((40 Lightning XR/50))Деталей в узле: 1 2 | Art.: 3303-853720A11 карбюратор центральный ((40))Деталей в узле: 1 2 | Art.: 3303-853720A6 карбюратор центральный ((40 Lightning XR/50))Деталей в узле: 1 3 | Art.: 3303-853720A13 нижний карбюратор ((40))Деталей в узле: 1 3 | Art.: нижний карбюратор ((40 Lightning XR/50))Деталей в узле: 1 4 | Art.: 162504 JET, Main (#135) (Lower) ((40 Lightning XR/50))Деталей в узле: 1 4 | Art.: 162503 главный жиклер (#122) ((40))Деталей в узле: 3 4 | Art.: 803883 JET, Main (#132) (Upper/Center) ((40 Lightning XR/50))Деталей в узле: 2 5 | Art.: JET, Pilot (#80) ((40 Lightning XR/50))Деталей в узле: 3 5 | Art.: 162513 JET, Pilot (#66) ((40))Деталей в узле: 3 6 | Art.: 19-855566 пробка Деталей в узле: 3 7 | Art.: 162545 FLOAT NEEDLE Деталей в узле: 3 8 | Art.: 17-162561 стержень Деталей в узле: 3 9 | Art.: 162532 поплавок Деталей в узле: 3 10 | Art.: 10-8536981 винт Деталей в узле: 3 11 | Art.: винт верхнего карбюратора Деталей в узле: 1 12 | Art.: 24-162641 пружина верхнего карбюратора (11 мм) Деталей в узле: 1 снято с производства 13 | Art.: 10-8129355 винт регулировки холостого хода Деталей в узле: 3 14 | Art.: 24-162641 пружина (11 мм) Деталей в узле: 3 снято с производства 15 | Art.: 162584 поплавковая камера нижнего карбюратора Деталей в узле: 1 15 | Art.: 162583 поплавковая камера верхнего и центрального карбюратора Деталей в узле: 2 16 | Art.: 27-855567 Прокладка Деталей в узле: 3 17 | Art.: 10-162603 винт Деталей в узле: 12 18 | Art.: сливной винт Деталей в узле: 3 19 | Art.: 27-8555671 Прокладка Деталей в узле: 3 цена по запросу
20 | Art.: 812650018 главный распылитель ((40 Lightning XR/50))Деталей в узле: 3 20 | Art.: 8126502 главный распылитель ((40))Деталей в узле: 3 21 | Art.: 8555401 Крышка карбюратора Деталей в узле: 3 22 | Art.: 27-8555412 Прокладка Деталей в узле: 3 23 | Art.: винт Деталей в узле: 6 24 | Art.: 855568 крышка нижнего карбюратора Деталей в узле: 1 25 | винт нижнего карбюратора Деталей в узле: 4 26 | Art.: 27-855569 прокладка нижнего карбюратора Деталей в узле: 1 27 | Art.: 21-851812 обратный клапан нижнего карбюратора Деталей в узле: 2 28 | Art.: 10-851813 винт нижнего карбюратора Деталей в узле: 2 29 | Art.: 11-851814 гайка нижнего карбюратора Деталей в узле: 2 30 | Art.: 8537312 диафрагма нижнего карбюратора Деталей в узле: 1 31 | Art.: 27-8555691 прокладка нижнего карбюратора Деталей в узле: 1 32 | Art.: 8537291 корпус насоса нижнего карбюратора Деталей в узле: 1 33 | Art.: резиновая втулка Деталей в узле: 3 - | Art.: 853780A2 Ремкомплект карбюратора Деталей в узле: 1 | |||||||||||||||||||||||||||||||||||||||||||
