85 H.P.
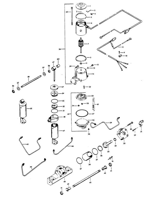
POWER TRIM UNIT
POWER TRIM UNIT
| № | Артикул | Наименование | Деталей в узле | Комментарий | Цена | |
| 1 | HEAD ASSEMBLY, COMMUTATOR END | 1 | 20020 руб. | |||
| 2 | Шарик | 1 | снято с производства | |||
| 3 | набор контактных щеток | 1 | цена по запросу | |||
| 4 | Набор пружин | 1 | цена по запросу | |||
| 5 | Прокладка | 2 | 1430 руб. | |||
| 6 | FIELD AND FRAME ASSEMBLY | 1 | снято с производства | |||
| 7 | сердечник | 1 | снято с производства | |||
| 8 | Кабель | 1 | снято с производства | |||
| 9 | THREAD FORMING SCREW, 8 X 3/4 | 2 | цена по запросу | |||
| 10 | зажим | 2 | снято с производства | |||
| 11 | упорная шайба | A/R | снято с производства | |||
| 12 | FILTER CAP | 1 | снято с производства | |||
| 13 | Уплотнительное кольцо | 1 | цена по запросу | |||
| 14 | RESERVOIR AND BRACKET W/SEAL | 1 | снято с производства | |||
| 15 | PLUG, SWIVEL BRACKET | 1 | снято с производства | |||
| 22 | HEX CAP SCREW, 1/4 - 20 X 7/8 | 1 | цена по запросу | |||
| 23 | VALVE BODY AND PUMP | 1 | снято с производства | |||
| 24 | IDLE GEAR | 1 | снято с производства | |||
| 25 | ведущая шестерня | 1 | снято с производства | |||
| 26 | MOTOR AND RESERVOIR | 1 | снято с производства | |||
| 27 | Уплотнительное кольцо | 1 | цена по запросу | |||
| 28 | ROUND HD SCREW, 10 - 24 X 5/8 | 4 | снято с производства | |||
| 29 | HYDRAULIC LINE, TRIM CYLINDER, UPPER | 1 | снято с производства | |||
| 30 | FERRY HD CAP SCREW, 1/4 - 20 X 1 3/4, STAINLESS STEEL | 5 | снято с производства | |||
| 31 | THRUST BRACKET | 1 | снято с производства | |||
| 32 | FILL HD MOUNTING SCREW AND LOCKWASHER, 1/4 - 20 X 1/2 | 2 | цена по запросу | |||
| 33 | COVER W/SEALS AND RETAINER | 1 | снято с производства | |||
| 34 | SEAL, PISTON SHAFT | 1 | 80 руб. | |||
| 35 | Поршень | 1 | цена по запросу | |||
| 36 | PISTON SEAL | 1 | 250 руб. | |||
| 37 | SEAL, CYLINDER | 2 | 270 руб. | |||
| 38 | цилиндр | 1 | 11320 руб. | |||
| 40 | CYLINDER HOUSING | 1 | снято с производства | |||
| 41 | ELASTIC STOP NUT, 5/8 - 18 | 2 | цена по запросу | |||
| 42 | Подшипник | 2 | 770 руб. | |||
| 43 | Вал | 1 | цена по запросу | |||
| 44 | HYDRAULIC LINE, TRIM CYLINDER, LOWER | 1 | цена по запросу | |||
| 45 | HYDRAULIC LINE, LIFT CYLINDER, UPPER | 1 | цена по запросу | |||
| 46 | HYDRAULIC LINE, LIFT CYLINDER, LOWER | 1 | снято с производства | |||
| 47 | LIFT CYLINDER COMPLETE | 1 | снято с производства | |||
| 48 | ADAPTER FITTING PACKAGE | 1 | 11140 руб. | |||
| 49 | ADAPTER FITTING PACKAGE | 1 | 11140 руб. | |||
| 50 | ADAPTER FITTING PACKAGE | 1 | 11140 руб. | |||
| 51 | Уплотнительное кольцо | 1 | 550 руб. | |||
| 52 | Поршень в сборе | 1 | снято с производства | |||
| 53 | Уплотнительное кольцо | 1 | снято с производства | |||
| 54 | HEAD ASSEMBLY | 1 | снято с производства | |||
| 55 | SHOCK ABSORBER W/BUSHING | 1 | снято с производства | |||
| 56 | STOP NUT, 1/2 - 20, STAINLESS STEEL | 2 | цена по запросу | |||
| 57 | PLAIN WASHER | 2 | снято с производства | |||
| 58 | вал верхний | 1 | снято с производства | |||
| 59 | HEX CAP SCREW, 5/16 - 18 X 7/8, STAINLESS STEEL | 3 | цена по запросу | |||
| 60 | THRU-BOLT PACKAGE | 1 | снято с производства | |||
| 61 | HYDRAULIC PUMP AND VALVE ASSEMBLY | 1 | снято с производства | |||
| 62 | BUSHING, SHOCK ABSORBER UPPER | 2 | снято с производства | |||
| - | TY-RAP (NOT SHOWN) | 2 | 30 руб. | |||
| 1 | Art.: HEAD ASSEMBLY, COMMUTATOR END Деталей в узле: 1 2 | Art.: F17539 Шарик Деталей в узле: 1 снято с производства 3 | Art.: набор контактных щеток Деталей в узле: 1 цена по запросу 4 | Art.: Набор пружин Деталей в узле: 1 цена по запросу 5 | Art.: F17557 Прокладка Деталей в узле: 2 6 | Art.: FIELD AND FRAME ASSEMBLY Деталей в узле: 1 снято с производства 7 | Art.: F17555 сердечник Деталей в узле: 1 снято с производства 8 | Art.: F500843 Кабель Деталей в узле: 1 снято с производства 9 | Art.: F1741 THREAD FORMING SCREW, 8 X 3/4 Деталей в узле: 2 цена по запросу
10 | Art.: F178446 зажим Деталей в узле: 2 снято с производства 11 | Art.: F17508 упорная шайба Деталей в узле: A/R снято с производства 12 | Art.: F17518 FILTER CAP Деталей в узле: 1 снято с производства 13 | Art.: Уплотнительное кольцо Деталей в узле: 1 цена по запросу 14 | Art.: F17505 RESERVOIR AND BRACKET W/SEAL Деталей в узле: 1 снято с производства 15 | Art.: F1966 PLUG, SWIVEL BRACKET Деталей в узле: 1 снято с производства 22 | Art.: HEX CAP SCREW, 1/4 - 20 X 7/8 Деталей в узле: 1 цена по запросу 23 | Art.: VALVE BODY AND PUMP Деталей в узле: 1 снято с производства 24 | Art.: F17566 IDLE GEAR Деталей в узле: 1 снято с производства 25 | Art.: F17565 ведущая шестерня Деталей в узле: 1 снято с производства 26 | Art.: MOTOR AND RESERVOIR Деталей в узле: 1 снято с производства 27 | Art.: Уплотнительное кольцо Деталей в узле: 1 цена по запросу 28 | Art.: F1310 ROUND HD SCREW, 10 - 24 X 5/8 Деталей в узле: 4 снято с производства 29 | Art.: F449254 HYDRAULIC LINE, TRIM CYLINDER, UPPER Деталей в узле: 1 снято с производства 30 | Art.: F1959 FERRY HD CAP SCREW, 1/4 - 20 X 1 3/4, STAINLESS STEEL Деталей в узле: 5 снято с производства 31 | Art.: F449354 THRUST BRACKET Деталей в узле: 1 снято с производства 32 | Art.: FILL HD MOUNTING SCREW AND LOCKWASHER, 1/4 - 20 X 1/2 Деталей в узле: 2 цена по запросу 33 | COVER W/SEALS AND RETAINER Деталей в узле: 1 снято с производства 34 | Art.: F449342 SEAL, PISTON SHAFT Деталей в узле: 1 35 | Art.: Поршень Деталей в узле: 1 цена по запросу
36 | Art.: F449278 PISTON SEAL Деталей в узле: 1 37 | Art.: F40278 SEAL, CYLINDER Деталей в узле: 2 38 | Art.: цилиндр Деталей в узле: 1 40 | Art.: CYLINDER HOUSING Деталей в узле: 1 снято с производства 41 | Art.: ELASTIC STOP NUT, 5/8 - 18 Деталей в узле: 2 цена по запросу
42 | Art.: Подшипник Деталей в узле: 2 43 | Art.: F449632 Вал Деталей в узле: 1 цена по запросу
44 | Art.: F449253-1 HYDRAULIC LINE, TRIM CYLINDER, LOWER Деталей в узле: 1 цена по запросу
45 | Art.: F449758 HYDRAULIC LINE, LIFT CYLINDER, UPPER Деталей в узле: 1 цена по запросу
46 | Art.: F449754-1 HYDRAULIC LINE, LIFT CYLINDER, LOWER Деталей в узле: 1 снято с производства 47 | LIFT CYLINDER COMPLETE Деталей в узле: 1 снято с производства 48 | Art.: ADAPTER FITTING PACKAGE Деталей в узле: 1 49 | Art.: ADAPTER FITTING PACKAGE Деталей в узле: 1 50 | Art.: ADAPTER FITTING PACKAGE Деталей в узле: 1 51 | Art.: Уплотнительное кольцо Деталей в узле: 1 52 | Art.: Поршень в сборе Деталей в узле: 1 снято с производства 53 | Art.: F17523 Уплотнительное кольцо Деталей в узле: 1 снято с производства 54 | Art.: HEAD ASSEMBLY Деталей в узле: 1 снято с производства 55 | SHOCK ABSORBER W/BUSHING Деталей в узле: 1 снято с производства 56 | Art.: STOP NUT, 1/2 - 20, STAINLESS STEEL Деталей в узле: 2 цена по запросу 57 | Art.: F1960 PLAIN WASHER Деталей в узле: 2 снято с производства 58 | Art.: F449889 вал верхний Деталей в узле: 1 снято с производства 59 | Art.: HEX CAP SCREW, 5/16 - 18 X 7/8, STAINLESS STEEL Деталей в узле: 3 |
