3.0L/LX ALPHA ONE
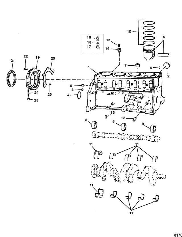
блок цилиндров, поршень и подшипники
блок цилиндров, поршень и подшипники
| № | Артикул | Наименование | Деталей в узле | Комментарий | Цена | |
| 1 | NSS | не продается по отдельности, блок цилиндров в сборе | 1 | (Order Long Block 855401A1) | ||
| 2 | EXPANSION PLUG, (1.625) | 2 | 940 руб. | |||
| 2 | EXPANSION PLUG, (2.00) | 1 | 2380 руб. | |||
| 3 | пробка | 1 | цена по запросу | |||
| 4 | PLUG, Expansion | 1 | снято с производства | |||
| 5 | PLUG, (.375-18 x .42), Pipe | 2 | цена по запросу | |||
| 6 | посадочный штифт (0.312) | 2 | 530 руб. | |||
| 7 | BEARING, Pilot | 1 | снято с производства | |||
| 8 | BEARING SET, Camshaft | 1 | 11850 руб. | |||
| 9 | поршень в сборе (стандарт) | 4 | 41560 руб. | |||
| 9 | PISTON ASSEMBLY (.020) Over Size | AR | 35370 руб. | |||
| 10 | RING SET, Piston (Standard), Standard | 4 | 5540 руб. | |||
| 10 | RING, Piston (.020) Over Size | AR | 4900 руб. | |||
| 11 | набор подшипников (стандарт) | 1 | 32290 руб. | |||
| 11 | BEARING SET (.001 USA) | AR | цена по запросу | |||
| 11 | BEARING SET (.010 USA) | AR | 27530 руб. | |||
| 11 | BEARING SET (.020 USA) | AR | цена по запросу | |||
| 12 | VALVE, Oil Bypass | 1 | 1550 руб. | |||
| 13 | PLUG, Core | 2 | снято с производства | |||
| 14 | BUSHING , Reducer (.250 To .125) | 1 | (Brass Drain Plug) | 970 руб. | ||
| 15 | заглушка трубки (0.125-27) | 1 | (Brass Drain Plug) | 710 руб. | ||
| 16 | вкладыш | 1 | (Plastic Drain Plug) | цена по запросу | ||
| 17 | PLUG KIT, (.500-13) Royal Blue | 1 | (Plastic Drain Plug) | 1090 руб. | ||
| 18 | кольцо с квадратным сечением | 1 | (Plastic Drain Plug) | цена по запросу | ||
| 19 | RETAINER, Oil Seal | 1 | 28360 руб. | |||
| 20 | Прокладка | 1 | 1620 руб. | |||
| 21 | Сальник | 1 | снято с производства | |||
| 22 | болт | 2 | 2800 руб. | |||
| 23 | PIN, Dowel, Dowel | 1 | 460 руб. | |||
| 24 | шпилька (0.312-18 x 1.6718) | 2 | 1720 руб. | |||
| 25 | гайка для шпильки масляного поддона | 2 | снято с производства | |||
| - | LONG BLOCK ASSEMBLY, See Note | 1 | цена по запросу | |||
| - | ремонтный набор прокладок | 1 | 74440 руб. | |||
| - | RTV SILICONE, (3 Ounce Tube) Metallic Blue | 1 | цена по запросу | |||
| - | SEALING COMPOUND, (16 Ounce) | 1 | цена по запросу | |||
| 1 | Art.: -NSS не продается по отдельности, блок цилиндров в сборе ((Order Long Block 855401A1))Деталей в узле: 1 2 | Art.: 19-34270 EXPANSION PLUG, (1.625) Деталей в узле: 2 2 | Art.: 19-34271 EXPANSION PLUG, (2.00) Деталей в узле: 1 3 | Art.: 19-37531 пробка Деталей в узле: 1 цена по запросу
4 | Art.: 19-34488 PLUG, Expansion Деталей в узле: 1 снято с производства 5 | Art.: PLUG, (.375-18 x .42), Pipe Деталей в узле: 2 цена по запросу 6 | Art.: 17-35465 посадочный штифт (0.312) Деталей в узле: 2 7 | Art.: 23-35168 BEARING, Pilot Деталей в узле: 1 снято с производства 8 | Art.: BEARING SET, Camshaft Деталей в узле: 1 9 | Art.: 733-810852 поршень в сборе (стандарт) Деталей в узле: 4 9 | Art.: PISTON ASSEMBLY (.020) Over Size Деталей в узле: AR 10 | Art.: 39-17464 RING SET, Piston (Standard), Standard Деталей в узле: 4 10 | Art.: 39-66217 RING, Piston (.020) Over Size Деталей в узле: AR 11 | Art.: набор подшипников (стандарт) Деталей в узле: 1 11 | Art.: BEARING SET (.001 USA) Деталей в узле: AR цена по запросу
11 | Art.: BEARING SET (.010 USA) Деталей в узле: AR 11 | Art.: 23-818472 BEARING SET (.020 USA) Деталей в узле: AR цена по запросу
12 | Art.: 34543 VALVE, Oil Bypass Деталей в узле: 1 13 | Art.: 19-34272 PLUG, Core Деталей в узле: 2 снято с производства 14 | Art.: 22-48556 BUSHING , Reducer (.250 To .125) ((Brass Drain Plug))Деталей в узле: 1 15 | Art.: заглушка трубки (0.125-27) ((Brass Drain Plug))Деталей в узле: 1 16 | Art.: 22-860088 вкладыш ((Plastic Drain Plug))Деталей в узле: 1 цена по запросу
17 | PLUG KIT, (.500-13) Royal Blue ((Plastic Drain Plug))Деталей в узле: 1 18 | Art.: кольцо с квадратным сечением ((Plastic Drain Plug))Деталей в узле: 1 цена по запросу 19 | Art.: 14239 RETAINER, Oil Seal Деталей в узле: 1 20 | Art.: Прокладка Деталей в узле: 1 21 | Art.: 26-14240 Сальник Деталей в узле: 1 снято с производства 22 | Art.: 10-810844 болт Деталей в узле: 2 23 | Art.: 17-14263 PIN, Dowel, Dowel Деталей в узле: 1 24 | Art.: 16-11989 шпилька (0.312-18 x 1.6718) Деталей в узле: 2 25 | Art.: 11-810847 гайка для шпильки масляного поддона Деталей в узле: 2 снято с производства - | LONG BLOCK ASSEMBLY, See Note Деталей в узле: 1 цена по запросу - | Art.: ремонтный набор прокладок Деталей в узле: 1 - | Art.: 92-809825 RTV SILICONE, (3 Ounce Tube) Metallic Blue Деталей в узле: 1 цена по запросу
- | Art.: SEALING COMPOUND, (16 Ounce) Деталей в узле: 1 цена по запросу
| ||||||||||||||||||||||||||||||||||||
