150/175/200 EFI
система управления топливом
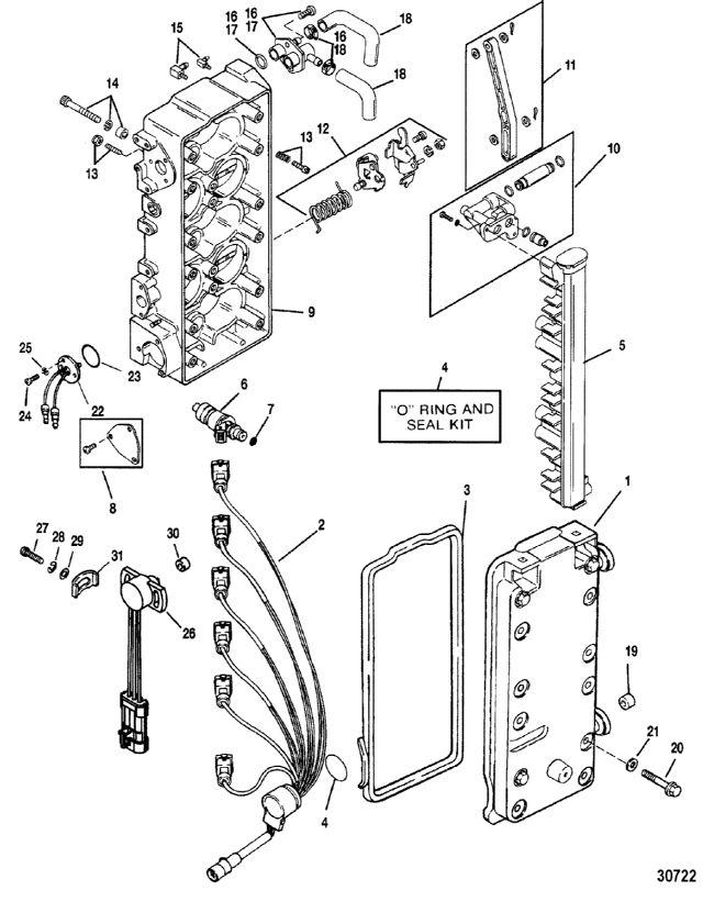
система управления топливом
| № | Артикул | Наименование | Деталей в узле | Комментарий | Цена | |
| 1 | крышка | 1 | снято с производства | |||
| 2 | HARNESS KIT | 1 | снято с производства | |||
| 3 | Уплотнение | 1 | 3780 руб. | |||
| 4 | O-RING AND SEAL KIT | 1 | снято с производства | |||
| 5 | топливная направляющая | 1 | снято с производства | |||
| 6 | форсунка в сборе | 6 | 120730 руб. | |||
| 7 | Фильтр | 1 | 3680 руб. | |||
| 8 | комплект фиксатора | 1 | снято с производства | |||
| 9 | Корпус блока дроссельной заслонки | 1 | снято с производства | |||
| 10 | JOINT KIT | 1 | снято с производства | |||
| 11 | LINK KIT | 1 | снято с производства | |||
| 12 | комплект рычага приводной штанги | 1 | снято с производства | |||
| 13 | Комплект винтов | 1 | цена по запросу | |||
| 14 | Комплект винтов | 1 | снято с производства | |||
| 15 | комплект колена | 1 | цена по запросу | |||
| 16 | SCHRADER VALVE KIT | 1 | 66330 руб. | |||
| 17 | FMA JOINT KIT | 1 | снято с производства | |||
| 18 | Комплект шлангов | 1 | 19810 руб. | |||
| 19 | ролик | 1 | 830 руб. | |||
| 20 | SCREW, (.250-20 x 4.00) | 12 | 750 руб. | |||
| 21 | шайба (0.281 x 0.500 x 0.060) нержавеющая сталь | 10 | цена по запросу | |||
| 22 | температурный датчик в сборе | 1 | 11010 руб. | |||
| 23 | уплотнительное кольцо (0.612 x 0.103) | 1 | 180 руб. | |||
| 24 | винт (#8-32 x 0.375) | 3 | 190 руб. | |||
| 25 | стопорная шайба (#8), нержавеющая сталь | 3 | 120 руб. | |||
| 26 | INDICATOR | 1 | 117740 руб. | |||
| 27 | винт (#8-32 x .625) | 2 | цена по запросу | |||
| 28 | стопорная шайба (#8), нержавеющая сталь | 1 | 120 руб. | |||
| 29 | шайба (0.192 x 0.375 x 0.0312), нержавеющая сталь | 2 | 220 руб. | |||
| 30 | втулка | 1 | 1610 руб. | |||
| 31 | Пластина | 2 | цена по запросу | |||
| - | MANAGEMENT ASSEMBLY, Fuel | 1 | снято с производства | |||
| - | Набор прокладок двигателя | 1 | 30730 руб. | |||
| 1 | Art.: 8276922 крышка Деталей в узле: 1 снято с производства 2 | Art.: 84-15443 HARNESS KIT Деталей в узле: 1 снято с производства 3 | Art.: 26-18792 Уплотнение Деталей в узле: 1 4 | Art.: 15029 O-RING AND SEAL KIT Деталей в узле: 1 снято с производства 5 | Art.: 827699T2 топливная направляющая Деталей в узле: 1 снято с производства 6 | Art.: 18715T форсунка в сборе Деталей в узле: 6 7 | Art.: 35-17422 Фильтр Деталей в узле: 1 8 | Art.: 827696 комплект фиксатора Деталей в узле: 1 снято с производства 9 | Art.: 8276933 Корпус блока дроссельной заслонки Деталей в узле: 1 снято с производства 10 | Art.: 8090572 JOINT KIT Деталей в узле: 1 снято с производства 11 | Art.: 8276891 LINK KIT Деталей в узле: 1 снято с производства 12 | Art.: 827697 комплект рычага приводной штанги Деталей в узле: 1 снято с производства 13 | Art.: 10-827698 Комплект винтов Деталей в узле: 1 цена по запросу
14 | Art.: 10-8276981 Комплект винтов Деталей в узле: 1 снято с производства 15 | Art.: 22-8090851 комплект колена Деталей в узле: 1 цена по запросу
16 | Art.: SCHRADER VALVE KIT Деталей в узле: 1 17 | Art.: 8142332 FMA JOINT KIT Деталей в узле: 1 снято с производства 18 | Art.: Комплект шлангов Деталей в узле: 1 19 | Art.: 67748 ролик Деталей в узле: 1 20 | Art.: 10-845674 SCREW, (.250-20 x 4.00) Деталей в узле: 12 21 | Art.: 12-29245 шайба (0.281 x 0.500 x 0.060) нержавеющая сталь Деталей в узле: 10 цена по запросу
22 | Art.: температурный датчик в сборе Деталей в узле: 1 23 | Art.: 25-45711 уплотнительное кольцо (0.612 x 0.103) Деталей в узле: 1 24 | Art.: винт (#8-32 x 0.375) Деталей в узле: 3 25 | Art.: 13-26995 стопорная шайба (#8), нержавеющая сталь Деталей в узле: 3 26 | Art.: INDICATOR Деталей в узле: 1 27 | Art.: 10-15150 винт (#8-32 x .625) Деталей в узле: 2 цена по запросу
28 | Art.: 13-26995 стопорная шайба (#8), нержавеющая сталь Деталей в узле: 1 29 | Art.: 12-30164 шайба (0.192 x 0.375 x 0.0312), нержавеющая сталь Деталей в узле: 2 30 | Art.: 23-15885 втулка Деталей в узле: 1 31 | Art.: 813501 Пластина Деталей в узле: 2 цена по запросу
- | Art.: 14817A31 MANAGEMENT ASSEMBLY, Fuel Деталей в узле: 1 снято с производства - | Art.: 27-815791A00 Набор прокладок двигателя Деталей в узле: 1 | ||||||||||||||||||||||||||||||||||
