2.5L (EFI) 2.5L (EFI-OFFSHORE)
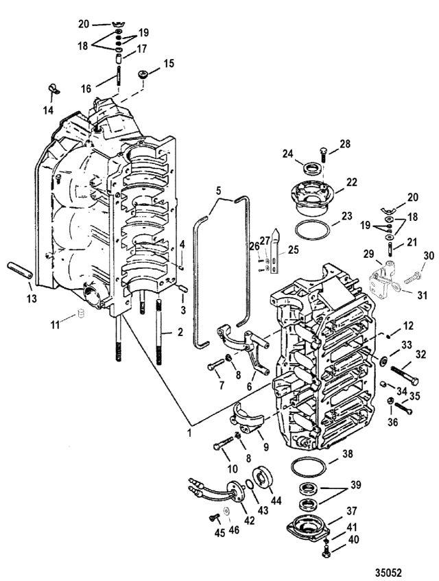
Блок цилиндров и торцевые крышки
Блок цилиндров и торцевые крышки
| № | Артикул | Наименование | Деталей в узле | Комментарий | Цена | |
| 1 | Блок цилиндров | 1 | снято с производства | |||
| 2 | STUD, (.375-16/.375-24 x 2.040) | 2 | 2730 руб. | |||
| 2 | STUD, (.375-16/.375-24 x 5.750) (SHORT/OFFSHORE) | 2/4 | 3970 руб. | |||
| 2 | STUD (7 IN.)(LONG) | 2 | 4310 руб. | |||
| 2 | STUD (2-3/4 IN.) | 2 | снято с производства | |||
| 2 | STUD, (.375-16/.375-24 x 2.490) | 2 | 4000 руб. | |||
| 3 | посадочный штифт без отверстия (0.375 x 0.625) | 3 | 270 руб. | |||
| 4 | стержень обоймы подшипника | 2 | 410 руб. | |||
| 5 | Прокладка | 2 | 210 руб. | |||
| 6 | крышка верхняя | 1 | цена по запросу | |||
| 7 | винт (.312-18 x 1.500) | 2 | 560 руб. | |||
| 8 | Стопорная шайба (0.312) | 4 | цена по запросу | |||
| 9 | крышка нижняя | 1 | 3730 руб. | |||
| 10 | винт (.312-18 x 2.00) | 2 | 470 руб. | |||
| 11 | заглушка трубки (0.0625-27) | 2 | снято с производства | |||
| 12 | обратный клапан | 3 | 980 руб. | |||
| 13 | HOSE, (57.00 Inches Bulk) (2 OF 1-1/2 IN.)(2 OF 1-1/4 IN.) | 4 | 7650 руб. | |||
| 14 | J-образный зажим | 1 | 70 руб. | |||
| 15 | PIPE PLUG (WATER JACKET) | 1 | снято с производства | |||
| 16 | шпилька (0.190-32 x 1.870) | 1 | цена по запросу | |||
| 17 | проставка | 1 | 570 руб. | |||
| 18 | шайба (.187 x .500 x .062) неопрен | 6 | цена по запросу | |||
| 19 | шайба (0.203 x 0.562 x 0.060) нержавеющая сталь | 3 | 150 руб. | |||
| 20 | барашковая гайка (#10-32) | 3 | 560 руб. | |||
| 21 | шпилька (#10-32 x 1.00) | 2 | 1190 руб. | |||
| 22 | Верхняя торцевая крышка в сборе | 1 | 66990 руб. | |||
| 23 | O-RING, (2.987 x .103) | 1 | 640 руб. | |||
| 24 | Уплотнение | 1 | 2490 руб. | |||
| 25 | кронштейн | 1 | 10430 руб. | |||
| 26 | винт (#10-32 x 0.500) | 2 | снято с производства | |||
| 27 | шайба (0.203 x 0.562 x 0.060) нержавеющая сталь | 2 | 150 руб. | |||
| 28 | винт и стопорная шайба (.312-18 x 1.00) | 4 | цена по запросу | |||
| 29 | кронштейн | 1 | 31140 руб. | |||
| 30 | SCREW, (.312-18 x 1.125) | 3 | 220 руб. | |||
| 31 | шайба (0.344 x 0.688 x 0.065), нержавеющая сталь | 3 | цена по запросу | |||
| 32 | винт (3/8-16 х 1 1/4") | 10 | 510 руб. | |||
| 32 | SCREW (3/8-16 X 3-1/2 IN.) | 2 | цена по запросу | |||
| 32 | винт (0.375-16 x 3.250) | 8 | 560 руб. | |||
| 33 | WASHER, (.401 x .745 x .097) | 20 | 480 руб. | |||
| 34 | нейлоновая крышка | 1 | 500 руб. | |||
| 35 | винт (0.250-20 x 2.125) | 1 | 400 руб. | |||
| 36 | Гайка (0.250-20) | 1 | 240 руб. | |||
| 37 | торцевая крышка в сборе | 1 | 35600 руб. | |||
| 38 | уплотнительное кольцо (3.237 x 0.103) | 1 | 510 руб. | |||
| 39 | Уплотнение | 2 | 2490 руб. | |||
| 40 | винт (0.250-20 x 0.750) | 4 | 220 руб. | |||
| 41 | стопорная шайба (0.250), нержавеющая сталь | 4 | 90 руб. | |||
| 42 | температурный датчик в сборе | 1 | 11010 руб. | |||
| 43 | уплотнительное кольцо (0.612 x 0.103) | 2 | 180 руб. | |||
| 44 | Переходник | 1 | 4150 руб. | |||
| 45 | SCREW, (#8-32 x .750) | 2 | 610 руб. | |||
| 46 | шайба | 2 | цена по запросу | |||
| - | Набор прокладок двигателя | 1 | цена по запросу | |||
| - | силовая головка в сборе | 1 | снято с производства | |||
| - | LINER ASSEMBLY, Cylinder (.020 O.S.) | 1 | 63950 руб. | |||
| 1 | Art.: Блок цилиндров Деталей в узле: 1 снято с производства 2 | Art.: STUD, (.375-16/.375-24 x 2.040) Деталей в узле: 2 2 | Art.: STUD, (.375-16/.375-24 x 5.750) (SHORT/OFFSHORE) Деталей в узле: 2/4 2 | Art.: 16-847533 STUD (7 IN.)(LONG) Деталей в узле: 2 2 | Art.: 16-822358 STUD (2-3/4 IN.) Деталей в узле: 2 снято с производства 2 | Art.: STUD, (.375-16/.375-24 x 2.490) Деталей в узле: 2 3 | Art.: 17-43044 посадочный штифт без отверстия (0.375 x 0.625) Деталей в узле: 3 4 | Art.: стержень обоймы подшипника Деталей в узле: 2 5 | Art.: 27-11338 Прокладка Деталей в узле: 2 6 | крышка верхняя Деталей в узле: 1 цена по запросу
7 | Art.: винт (.312-18 x 1.500) Деталей в узле: 2 8 | Art.: 13-26993 Стопорная шайба (0.312) Деталей в узле: 4 цена по запросу
9 | Art.: 76867 крышка нижняя Деталей в узле: 1 10 | Art.: 10-815549 винт (.312-18 x 2.00) Деталей в узле: 2 11 | Art.: 22-568002 заглушка трубки (0.0625-27) Деталей в узле: 2 снято с производства 12 | Art.: 21-42657A3 обратный клапан Деталей в узле: 3 13 | HOSE, (57.00 Inches Bulk) (2 OF 1-1/2 IN.)(2 OF 1-1/4 IN.) Деталей в узле: 4 14 | Art.: 54-63153 J-образный зажим Деталей в узле: 1 15 | Art.: 22-821881 PIPE PLUG (WATER JACKET) Деталей в узле: 1 снято с производства 16 | Art.: 16-15094 шпилька (0.190-32 x 1.870) Деталей в узле: 1 цена по запросу
17 | Art.: 23-67269 проставка Деталей в узле: 1 18 | Art.: 12-49221 шайба (.187 x .500 x .062) неопрен Деталей в узле: 6 цена по запросу
19 | Art.: 12-72761 шайба (0.203 x 0.562 x 0.060) нержавеющая сталь Деталей в узле: 3 20 | Art.: 11-816874 барашковая гайка (#10-32) Деталей в узле: 3 21 | Art.: шпилька (#10-32 x 1.00) Деталей в узле: 2 22 | Art.: Верхняя торцевая крышка в сборе Деталей в узле: 1 23 | Art.: 25-54030 O-RING, (2.987 x .103) Деталей в узле: 1 24 | Art.: 26-41953 Уплотнение Деталей в узле: 1 25 | Art.: 848465 кронштейн Деталей в узле: 1 26 | Art.: 10-90766 винт (#10-32 x 0.500) Деталей в узле: 2 снято с производства 27 | Art.: 12-72761 шайба (0.203 x 0.562 x 0.060) нержавеющая сталь Деталей в узле: 2 28 | Art.: винт и стопорная шайба (.312-18 x 1.00) Деталей в узле: 4 цена по запросу 29 | Art.: кронштейн Деталей в узле: 1 30 | Art.: 10-53576 SCREW, (.312-18 x 1.125) Деталей в узле: 3 31 | Art.: 12-814806 шайба (0.344 x 0.688 x 0.065), нержавеющая сталь Деталей в узле: 3 цена по запросу
32 | Art.: 10-8231991 винт (3/8-16 х 1 1/4") Деталей в узле: 10 32 | Art.: 10-823188 SCREW (3/8-16 X 3-1/2 IN.) Деталей в узле: 2 цена по запросу
32 | Art.: 10-66717 винт (0.375-16 x 3.250) Деталей в узле: 8 33 | Art.: 12-822838 WASHER, (.401 x .745 x .097) Деталей в узле: 20 34 | Art.: 26852 нейлоновая крышка Деталей в узле: 1 35 | Art.: 10-64022 винт (0.250-20 x 2.125) Деталей в узле: 1 36 | Art.: 11-64015 Гайка (0.250-20) Деталей в узле: 1 37 | Art.: торцевая крышка в сборе Деталей в узле: 1 38 | Art.: 25-62700 уплотнительное кольцо (3.237 x 0.103) Деталей в узле: 1 39 | Art.: 26-41953 Уплотнение Деталей в узле: 2 40 | Art.: 10-28636 винт (0.250-20 x 0.750) Деталей в узле: 4 41 | Art.: 13-26992 стопорная шайба (0.250), нержавеющая сталь Деталей в узле: 4 42 | Art.: температурный датчик в сборе Деталей в узле: 1 43 | Art.: 25-45711 уплотнительное кольцо (0.612 x 0.103) Деталей в узле: 2 44 | Art.: 816885 Переходник Деталей в узле: 1 45 | Art.: 10-34696 SCREW, (#8-32 x .750) Деталей в узле: 2 46 | Art.: 12-20670 шайба Деталей в узле: 2 цена по запросу
- | Art.: 27-814658A98 Набор прокладок двигателя Деталей в узле: 1 цена по запросу
- | силовая головка в сборе Деталей в узле: 1 снято с производства - | Art.: 51-18594A9 LINER ASSEMBLY, Cylinder (.020 O.S.) Деталей в узле: 1 | ||||||||||||||||||||||||||||||||||||||||||||||||||||||||
