45 H.P
MOTOR LEG
MOTOR LEG
| № | Артикул | Наименование | Деталей в узле | Комментарий | Цена | |
| 1 | CYLINDER EXHAUST GASKET UPPER | 1 | 550 руб. | |||
| 2 | SPACER PLATE | 1 | снято с производства | |||
| 3 | SEAL, KINGPIN PLATE | 1 | снято с производства | |||
| 4 | KINGPIN PLATE | 1 | снято с производства | |||
| 5 | DAMPENING PAD | 1 | снято с производства | |||
| 6 | CYLINDER EXHAUST GASKET LOWER | 1 | цена по запросу | |||
| 7 | зажим | 1 | снято с производства | |||
| 7A | SPRING LOCKWASHER | 4 | цена по запросу | |||
| 8 | FLANGED 12 POINT SCREW, 5/16 - 18 x 2 | 8 | снято с производства | |||
| 9 | SHOCK MOUNT UPPER | 1 | цена по запросу | |||
| 10 | SHOCK MOUNT SIDE LOWER | 2 | снято с производства | |||
| 11 | SHOCK MOUNT LOWER COVER - STARBOARD | 1 | снято с производства | |||
| 12 | ACORN NUT, S.S., 5/16 - 18 | 2 | снято с производства | |||
| 13 | GEAR SHIFT ROD UPPER | 1 | цена по запросу | |||
| 14 | PLAIN WASHER | 1 | цена по запросу | |||
| 15 | BOWED SPRING WASHER | 1 | снято с производства | |||
| 16 | стопорное кольцо | 1 | цена по запросу | |||
| 17 | HEX NUT, S.S., 5/16 - 18 | 1 | цена по запросу | |||
| 18 | GEAR SHIFT ROD COUPLING | 1 | 4920 руб. | |||
| 19 | FILL HD SCREW, S.S., 5/16 - 18 X 1/2 | 4 | снято с производства | |||
| 20 | SHOCK MOUNT LOWER | 1 | снято с производства | |||
| 21 | KINGPIN NUT | 1 | снято с производства | |||
| 22 | SWIVEL BRACKET WASHER | 1 | цена по запросу | |||
| 23 | пресс-масленка | 3 | снято с производства | |||
| 24 | SEAL, PIVOT TUBE | 1 | цена по запросу | |||
| 25 | SPACER, TILT STOP | 1 | цена по запросу | |||
| 26 | TILT STOP PIVOT | 4 | цена по запросу | |||
| 27 | TILT STOP, STARBOARD | 1 | цена по запросу | |||
| 28 | BOWED SPRING WASHER | 2 | цена по запросу | |||
| 29 | SPACER, TILT STOP | 1 | цена по запросу | |||
| 30 | STERN BRACKET - PORT | 1 | снято с производства | |||
| 31 | гайка | 4 | снято с производства | |||
| 32 | TUBE, PIVOT STEERING | 1 | цена по запросу | |||
| 33 | STERN BRACKET LOCK BAR | 1 | W/ILLUSTRATION 36, 94 & 95 | снято с производства | ||
| 34 | Подшипник | 1 | снято с производства | |||
| 35 | Винт зажима | 2 | снято с производства | |||
| 36 | SPRING PIN | 1 | цена по запросу | |||
| 37 | STERN BRACKET - STARBOARD | 1 | снято с производства | |||
| 38 | CLAMP SCREW FOOT | 2 | снято с производства | |||
| 39 | STERN BRACKET FRICTION WASHER | 2 | снято с производства | |||
| 40 | Рычаг-плечо | 1 | цена по запросу | |||
| 41 | Подшипник | 1 | снято с производства | |||
| 42 | HANDLE AND SHAFT | 1 | снято с производства | |||
| 43 | приводная штанга | 1 | снято с производства | |||
| 44 | фиксатор заднего хода | 1 | цена по запросу | |||
| 45 | стержень | 2 | 1910 руб. | |||
| 46 | RING, RETAINING-REV. LOCK SHAFT | 1 | снято с производства | |||
| 47 | PAN HD SCREW, 10 - 24 X 9/16 | 2 | 170 руб. | |||
| 48 | REVERSE LOCK SPRING | 2 | 680 руб. | |||
| 49 | HEX NUT, S.S., 3/8 - 16 | 2 | цена по запросу | |||
| 50 | PLAIN WASHER | 2 | снято с производства | |||
| 51 | HEX HD SCREW, S.S., 3/8 - 16 X 3 | 2 | снято с производства | |||
| 52 | PLASTIC PLUG, PIVOT TUBE | 1 | снято с производства | |||
| 53 | LOCK NUT, PIVOT TUBE | 2 | цена по запросу | |||
| 54 | SPACER, TILT STOP | 1 | цена по запросу | |||
| 55 | TILT STOP - PORT | 1 | цена по запросу | |||
| 56 | SPACER, TILT STOP | 1 | цена по запросу | |||
| 57 | поворотный кронштейн | 1 | W/ILLUSTRATION 23 & 58 | снято с производства | ||
| 58 | SWIVEL BRACKET BEARING | 2 | снято с производства | |||
| 59 | KINGPIN W/PLUG | 1 | снято с производства | |||
| 60 | STOP NUT | 1 | цена по запросу | |||
| 61 | HEX SOCKET HD CAP SCREW, S.S., 3/8 - 16 X 1 1/4 | 2 | снято с производства | |||
| 62 | HEX SOCKET HD CAP SCREW, S.S., 3/8 - 16 X 3 1/2 | 2 | снято с производства | |||
| 63 | SHOCK MOUNT LOWER COVER - PORT | 1 | снято с производства | |||
| 64 | HEX HD CAP SCREW, S.S., 3/8 - 16 X 1 1/8 | 4 | цена по запросу | |||
| 65 | MOTOR LEG FOR SHORT SHAFT MODELS | 1 | снято с производства | |||
| 66 | FILL HD SCREW, 1/4 - 20 X 3 7/16 | 1 | снято с производства | |||
| 67 | MOTOR LEG EXHAUST COVER GASKET | 1 | снято с производства | |||
| 68 | MOTOR LEG EXHAUST | 1 | W/ILLUSTRATIONS 69 & 77 | снято с производства | ||
| 69 | HEX HD SCREW, 1/4 - 20 X 1 | 1 | цена по запросу | |||
| 70 | GROMMET, MOTOR LEG | 1 | снято с производства | |||
| 71 | PACKING, LEG COVER - LOWER | 2 | снято с производства | |||
| 72 | LEG COVER - PORT - FOR SHORT SHAFT MODELS W/PACKING | 1 | снято с производства | |||
| 73 | HEX NUT, 10 - 24 | 6 | цена по запросу | |||
| 74 | PACKING, LEG COVER - UPPER | 2 | снято с производства | |||
| 75 | LEG COVER - STARBOARD - FOR SHORT SHAFT MODELS W/PACKING | 1 | снято с производства | |||
| 76 | FILL HD SCREW, 10 - 24 X 9/16 | 3 | 170 руб. | |||
| 76A | FILL HD SCREW, 10 - 24 X 3 | 1 | снято с производства | |||
| 76B | FILL HD SCREW, 10 - 24 X 1 3/8 FOR SHORT SHAFT MODELS | 3 | 220 руб. | |||
| 77 | HEX HD SCREW, S.S., 1/4 - 20 X 1 3/8 | 1 | 250 руб. | |||
| 78 | HEX NUT, 3/8 - 16 | 2 | цена по запросу | |||
| 79 | PLAIN WASHER | 2 | цена по запросу | |||
| 80 | SHOCK MOUNT - SIDE - UPPER | 2 | цена по запросу | |||
| 81 | PLAIN WASHER | 1 | цена по запросу | |||
| 82 | FLAT HD SCREW, 1/4 - 28 X 5/8 | 2 | снято с производства | |||
| 83 | LEG EXHAUST TUBE | 1 | снято с производства | |||
| 84 | FILL HD M. SCREW W/LOCKWASHER, 10 - 24 X 1/2 | 3 | снято с производства | |||
| 85 | шпилька | 2 | снято с производства | |||
| 86 | SPRING PIN | 2 | 50 руб. | |||
| 87 | SPRING LOCKWASHER | 2 | цена по запросу | |||
| 88 | SPRING PIN | 1 | цена по запросу | |||
| 90 | PLASTIC PLUG | 1 | снято с производства | |||
| 91 | SHOCK MOUNT UPPER COVER | 1 | цена по запросу | |||
| 92 | HEX CAP SCREW, 1/4 - 20 X 5/8 | 5 | снято с производства | |||
| 93 | HEX HD SCREW W/LOCKWASHER, 1/4 - 28 X 5/8 | 2 | снято с производства | |||
| 94 | HANDLE, LOCK BAR | 1 | цена по запросу | |||
| 95 | SPRING LOCK BAR HANDLE | 1 | цена по запросу | |||
| 96 | наклейка фиксатора наклона | 1 | снято с производства | |||
| 97 | PLASTIC CAP, PIVOT TUBE | 1 | снято с производства | |||
| 98 | SPACER, STEERING LINK | 1 | снято с производства | |||
| 99 | LINK, STEERING | 1 | снято с производства | |||
| 100 | HEX CAP SC 3/8 - 24 X 1-5/8 | 1 | цена по запросу | |||
| 101 | STOP NUT 3/8 - 24 | 2 | цена по запросу | |||
| 102 | PLAIN WASHER | 4 | цена по запросу | |||
| - | FILL HD SCREW, 10 - 24 X 1 3/8 FOR LONG SHAFT MODELS | 2 | 220 руб. | |||
| - | MOTOR LEG FOR LONG SHAFT MODELS | 1 | цена по запросу | |||
| - | LEG COVER - PORT - FOR LONG SHAFT MODELS W/PACKING | 1 | снято с производства | |||
| - | PACKING - LEG COVER - LOWR REAR (NOT SHWN) FOR SHRT SHFT MDL | 2 | снято с производства | |||
| - | LEG COVER - STARBOARD - FOR LONG SHAFT MODELS WITH PACKING | 1 | снято с производства | |||
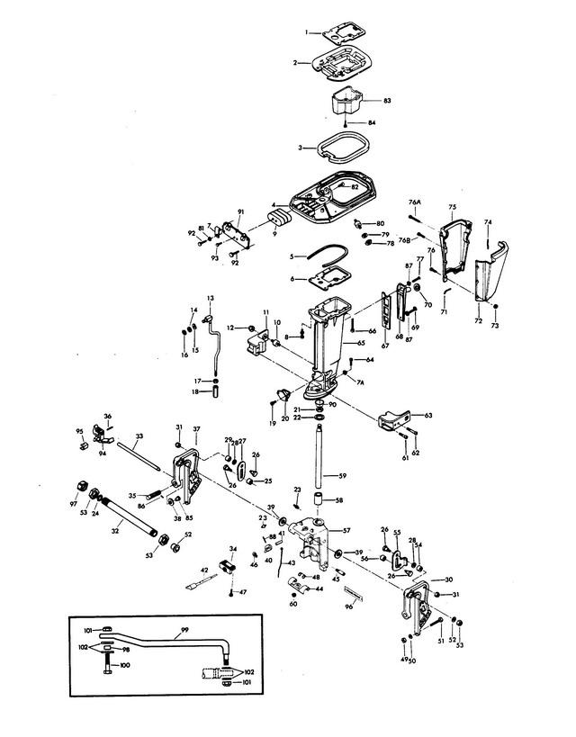
| 1 | Art.: F307279-2 CYLINDER EXHAUST GASKET UPPER Деталей в узле: 1 2 | Art.: F433680 SPACER PLATE Деталей в узле: 1 снято с производства 3 | Art.: SEAL, KINGPIN PLATE Деталей в узле: 1 снято с производства 4 | Art.: FS307940 KINGPIN PLATE Деталей в узле: 1 снято с производства 5 | Art.: F89025 DAMPENING PAD Деталей в узле: 1 снято с производства 6 | Art.: CYLINDER EXHAUST GASKET LOWER Деталей в узле: 1 цена по запросу 7 | Art.: F286772-1 зажим Деталей в узле: 1 снято с производства 7A | Art.: SPRING LOCKWASHER Деталей в узле: 4 цена по запросу 8 | Art.: FLANGED 12 POINT SCREW, 5/16 - 18 x 2 Деталей в узле: 8 снято с производства 9 | Art.: SHOCK MOUNT UPPER Деталей в узле: 1 цена по запросу 10 | Art.: SHOCK MOUNT SIDE LOWER Деталей в узле: 2 снято с производства 11 | Art.: F433972 SHOCK MOUNT LOWER COVER - STARBOARD Деталей в узле: 1 снято с производства 12 | Art.: ACORN NUT, S.S., 5/16 - 18 Деталей в узле: 2 снято с производства 13 | Art.: GEAR SHIFT ROD UPPER Деталей в узле: 1 цена по запросу 14 | Art.: PLAIN WASHER Деталей в узле: 1 цена по запросу 15 | Art.: F8049 BOWED SPRING WASHER Деталей в узле: 1 снято с производства 16 | Art.: стопорное кольцо Деталей в узле: 1 цена по запросу 17 | Art.: HEX NUT, S.S., 5/16 - 18 Деталей в узле: 1 цена по запросу 18 | Art.: F141704 GEAR SHIFT ROD COUPLING Деталей в узле: 1 19 | Art.: F1129 FILL HD SCREW, S.S., 5/16 - 18 X 1/2 Деталей в узле: 4 снято с производства 20 | Art.: F183346-1 SHOCK MOUNT LOWER Деталей в узле: 1 снято с производства 21 | Art.: F84280 KINGPIN NUT Деталей в узле: 1 снято с производства 22 | Art.: SWIVEL BRACKET WASHER Деталей в узле: 1 цена по запросу 23 | Art.: F213274 пресс-масленка Деталей в узле: 3 снято с производства 24 | Art.: SEAL, PIVOT TUBE Деталей в узле: 1 цена по запросу 25 | Art.: F269929 SPACER, TILT STOP Деталей в узле: 1 цена по запросу
26 | Art.: TILT STOP PIVOT Деталей в узле: 4 цена по запросу 27 | Art.: TILT STOP, STARBOARD Деталей в узле: 1 цена по запросу 28 | Art.: BOWED SPRING WASHER Деталей в узле: 2 цена по запросу 29 | Art.: F269929 SPACER, TILT STOP Деталей в узле: 1 цена по запросу
30 | Art.: STERN BRACKET - PORT Деталей в узле: 1 снято с производства 31 | Art.: гайка Деталей в узле: 4 снято с производства 32 | Art.: TUBE, PIVOT STEERING Деталей в узле: 1 цена по запросу 33 | Art.: STERN BRACKET LOCK BAR (W/ILLUSTRATION 36, 94 & 95)Деталей в узле: 1 снято с производства 34 | Art.: F522884 Подшипник Деталей в узле: 1 снято с производства 35 | Art.: Винт зажима Деталей в узле: 2 снято с производства 36 | Art.: SPRING PIN Деталей в узле: 1 цена по запросу 37 | Art.: STERN BRACKET - STARBOARD Деталей в узле: 1 снято с производства 38 | Art.: F24074 CLAMP SCREW FOOT Деталей в узле: 2 снято с производства 39 | Art.: F522286 STERN BRACKET FRICTION WASHER Деталей в узле: 2 снято с производства 40 | Art.: F366364 Рычаг-плечо Деталей в узле: 1 цена по запросу
41 | Art.: F483884 Подшипник Деталей в узле: 1 снято с производства 42 | Art.: HANDLE AND SHAFT Деталей в узле: 1 снято с производства 43 | Art.: F366510-1 приводная штанга Деталей в узле: 1 снято с производства 44 | Art.: фиксатор заднего хода Деталей в узле: 1 цена по запросу 45 | стержень Деталей в узле: 2 46 | Art.: F522741 RING, RETAINING-REV. LOCK SHAFT Деталей в узле: 1 снято с производства 47 | Art.: PAN HD SCREW, 10 - 24 X 9/16 Деталей в узле: 2 48 | Art.: F366300 REVERSE LOCK SPRING Деталей в узле: 2 49 | Art.: HEX NUT, S.S., 3/8 - 16 Деталей в узле: 2 цена по запросу 50 | Art.: F1904 PLAIN WASHER Деталей в узле: 2 снято с производства 51 | Art.: HEX HD SCREW, S.S., 3/8 - 16 X 3 Деталей в узле: 2 снято с производства 52 | Art.: F9052 PLASTIC PLUG, PIVOT TUBE Деталей в узле: 1 снято с производства 53 | Art.: LOCK NUT, PIVOT TUBE Деталей в узле: 2 цена по запросу 54 | Art.: F269929 SPACER, TILT STOP Деталей в узле: 1 цена по запросу
55 | Art.: TILT STOP - PORT Деталей в узле: 1 цена по запросу 56 | Art.: F269929 SPACER, TILT STOP Деталей в узле: 1 цена по запросу
57 | поворотный кронштейн (W/ILLUSTRATION 23 & 58)Деталей в узле: 1 снято с производства 58 | Art.: F191169-1 SWIVEL BRACKET BEARING Деталей в узле: 2 снято с производства 59 | Art.: KINGPIN W/PLUG Деталей в узле: 1 снято с производства 60 | Art.: F1669 STOP NUT Деталей в узле: 1 цена по запросу
61 | Art.: HEX SOCKET HD CAP SCREW, S.S., 3/8 - 16 X 1 1/4 Деталей в узле: 2 снято с производства 62 | Art.: F1635 HEX SOCKET HD CAP SCREW, S.S., 3/8 - 16 X 3 1/2 Деталей в узле: 2 снято с производства 63 | Art.: F433973 SHOCK MOUNT LOWER COVER - PORT Деталей в узле: 1 снято с производства 64 | Art.: HEX HD CAP SCREW, S.S., 3/8 - 16 X 1 1/8 Деталей в узле: 4 цена по запросу 65 | Art.: F366133-2 MOTOR LEG FOR SHORT SHAFT MODELS Деталей в узле: 1 снято с производства 66 | Art.: F1905 FILL HD SCREW, 1/4 - 20 X 3 7/16 Деталей в узле: 1 снято с производства 67 | Art.: F40833-4 MOTOR LEG EXHAUST COVER GASKET Деталей в узле: 1 снято с производства 68 | Art.: FA89832-2 MOTOR LEG EXHAUST (W/ILLUSTRATIONS 69 & 77)Деталей в узле: 1 снято с производства 69 | Art.: HEX HD SCREW, 1/4 - 20 X 1 Деталей в узле: 1 цена по запросу 70 | Art.: F89504 GROMMET, MOTOR LEG Деталей в узле: 1 снято с производства 71 | Art.: F435323 PACKING, LEG COVER - LOWER Деталей в узле: 2 снято с производства 72 | Art.: FA366135 LEG COVER - PORT - FOR SHORT SHAFT MODELS W/PACKING Деталей в узле: 1 снято с производства 73 | Art.: HEX NUT, 10 - 24 Деталей в узле: 6 цена по запросу 74 | Art.: F435323 PACKING, LEG COVER - UPPER Деталей в узле: 2 снято с производства 75 | Art.: FA366145 LEG COVER - STARBOARD - FOR SHORT SHAFT MODELS W/PACKING Деталей в узле: 1 снято с производства 76 | Art.: FILL HD SCREW, 10 - 24 X 9/16 Деталей в узле: 3 76A | Art.: F1767 FILL HD SCREW, 10 - 24 X 3 Деталей в узле: 1 снято с производства 76B | Art.: FILL HD SCREW, 10 - 24 X 1 3/8 FOR SHORT SHAFT MODELS Деталей в узле: 3 77 | Art.: F1849 HEX HD SCREW, S.S., 1/4 - 20 X 1 3/8 Деталей в узле: 1 78 | Art.: HEX NUT, 3/8 - 16 Деталей в узле: 2 цена по запросу 79 | Art.: PLAIN WASHER Деталей в узле: 2 |
