25HP SEAPRO 4-STROKE INTERNATIONAL
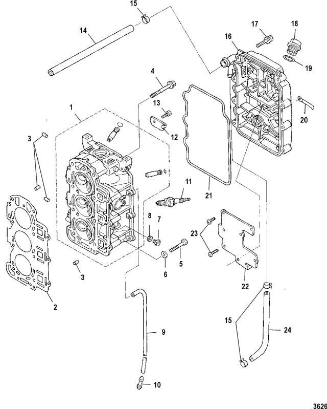
головка блока
головка блока
| № | Артикул | Наименование | Деталей в узле | Комментарий | Цена | |
| 1 | головка блока в сборе | 1 | цена по запросу | |||
| 2 | Прокладка | 1 | цена по запросу | |||
| 3 | посадочный штифт | 4 | 250 руб. | |||
| 4 | болт | 8 | 370 руб. | |||
| 5 | болт головки блока | 3 | 170 руб. | |||
| 6 | WASHER, Stainless Steel, Cylinder Head Cover | 3 | цена по запросу | |||
| 7 | пробка | 1 | цена по запросу | |||
| 8 | Прокладка | 1 | 590 руб. | |||
| 9 | TUBING, (450 mm) | 1 | снято с производства | |||
| 10 | нипель | 1 | 130 руб. | |||
| 11 | SPARK PLUG, NGK#DCPR6E (NGK#DCPR6E) | 3 | цена по запросу | |||
| 12 | Пластина | 1 | 240 руб. | |||
| 13 | болт | 1 | 140 руб. | |||
| 14 | PIPE, Oil (330 mm), To Air Silencer | 1 | снято с производства | |||
| 15 | зажим | 3 | 160 руб. | |||
| 16 | крышка головки блока | 1 | цена по запросу | |||
| 17 | Комплект винтов | 8 | 330 руб. | |||
| 18 | Крышка масляного фильтра в сборе | 1 | цена по запросу | |||
| 19 | уплотнительное кольцо | 1 | 120 руб. | |||
| 20 | зажим | 1 | цена по запросу | |||
| 21 | Прокладка | 1 | 2890 руб. | |||
| 22 | PLATE, Breather | 1 | 600 руб. | |||
| 23 | винт | 7 | цена по запросу | |||
| 24 | HOSE, Rubber (290 mm), To Engine Base | 1 | не посталяется заказывайте 8M0093642 | |||
| - | набор прокладок силового агрегата | 1 | 20460 руб. | |||
| - | силовая головка в сборе | 1 | цена по запросу | |||
| 1 | Art.: 900-835430A04 головка блока в сборе Деталей в узле: 1 цена по запросу
| ||||||||||||||||||||||||||||||||||||||||||||||||
| 2 | Art.: 27-850836002 Прокладка Деталей в узле: 1 цена по запросу
| ||||||||||||||||||||||||||||||||||||||||||||||||
| 3 | Art.: 17-16119 посадочный штифт Деталей в узле: 4 4 | Art.: 10-855677002 болт Деталей в узле: 8 5 | Art.: 10-853531001 болт головки блока Деталей в узле: 3 6 | Art.: WASHER, Stainless Steel, Cylinder Head Cover Деталей в узле: 3 цена по запросу
7 | Art.: 22-953683 пробка Деталей в узле: 1 цена по запросу
8 | Art.: Прокладка Деталей в узле: 1 9 | Art.: 32-851848009 TUBING, (450 mm) Деталей в узле: 1 снято с производства 10 | Art.: нипель Деталей в узле: 1 11 | Art.: 33-803507 SPARK PLUG, NGK#DCPR6E (NGK#DCPR6E) Деталей в узле: 3 цена по запросу
12 | Art.: 853756001 Пластина Деталей в узле: 1 13 | Art.: 10-16828 болт Деталей в узле: 1 14 | Art.: 32-812940006 PIPE, Oil (330 mm), To Air Silencer Деталей в узле: 1 снято с производства 15 | Art.: зажим Деталей в узле: 3 16 | Art.: 834954002 крышка головки блока Деталей в узле: 1 цена по запросу
17 | Art.: 10-16830A1 Комплект винтов Деталей в узле: 8 18 | Art.: 859578A02 Крышка масляного фильтра в сборе Деталей в узле: 1 цена по запросу
19 | Art.: 25-803513007 уплотнительное кольцо Деталей в узле: 1 20 | Art.: 54-95306 зажим Деталей в узле: 1 цена по запросу
21 | Art.: Прокладка Деталей в узле: 1 22 | Art.: 834974001 PLATE, Breather Деталей в узле: 1 23 | Art.: 10-823031016 винт Деталей в узле: 7 цена по запросу
24 | Art.: HOSE, Rubber (290 mm), To Engine Base Деталей в узле: 1 не посталяется заказывайте 8M0093642 - | Art.: 27-835427A05 набор прокладок силового агрегата Деталей в узле: 1 - | Art.: 895188A05 силовая головка в сборе Деталей в узле: 1 цена по запросу
| |||||||||||||||||||||||||
