150 H.P. XR-2 MARATHON MAGNUM (V-6) (1978-1985 COMBINED BOOK)
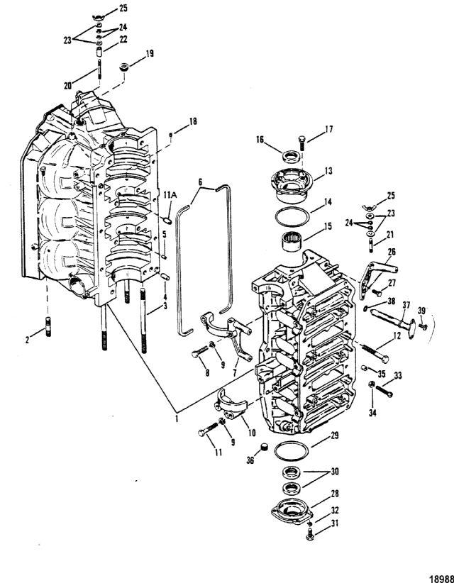
Блок цилиндров и торцевые крышки
Блок цилиндров и торцевые крышки
| № | Артикул | Наименование | Деталей в узле | Комментарий | Цена | |
| 1 | Блок цилиндров | 1 | SN# ME-6042945/MA-6038680 & Below | снято с производства | ||
| 1 | Блок цилиндров | 1 | SN# ME-6042946/MA-6038681 & Up | снято с производства | ||
| 2 | шпилька (1 7/8") | 6 | 1170 руб. | |||
| 3 | шпилька | 2 | (5-1/2") | 1190 руб. | ||
| 3 | шпилька | 2 | (6-3/4") | цена по запросу | ||
| 4 | посадочный штифт | 2 | цена по запросу | |||
| 5 | стержень обоймы подшипника | 2 | 410 руб. | |||
| 6 | Прокладка | 2 | 210 руб. | |||
| 7 | крышка стартера верхняя | 1 | цена по запросу | |||
| 8 | винт (.312-18 x 1.50) | 2 | 310 руб. | |||
| 9 | Стопорная шайба (0.312) | 4 | цена по запросу | |||
| 10 | крышка стартера нижняя | 1 | 3730 руб. | |||
| 11 | винт (.312-18 x 2) | 2 | 470 руб. | |||
| 11A | вкладыш | 1 | 460 руб. | |||
| 12 | винт крепления картера к блоку цилиндров (.375-16 x 3.250) | 8 | 560 руб. | |||
| 12 | винт крепления картера к блоку цилиндров (.312-18 x 1.250) | 6 | 200 руб. | |||
| 13 | END CAP ASSEMBLY (UPPER) | 1 | 48600 руб. | |||
| 14 | уплотнительное кольцо | 1 | (2.99 O.D.) | 430 руб. | ||
| 14 | уплотнительное кольцо (2.800 x 0.103) | 1 | (2.80 O.D.) | 620 руб. | ||
| 15 | роликовый подшипник | 1 | 13840 руб. | |||
| 16 | Уплотнение | 1 | 2490 руб. | |||
| 17 | винт и стопорная шайба (.312-18 x 1.00) | 4 | цена по запросу | |||
| 18 | винт (.190-24 x .190) | 2 | снято с производства | |||
| 19 | PLUG, (.500-14) (WATER JACKET) | 1 | 900 руб. | |||
| 20 | шпилька (1 7/8") | 1 | цена по запросу | |||
| 21 | шпилька (1") | 2 | цена по запросу | |||
| 22 | проставка | 1 | 570 руб. | |||
| 23 | шайба | 6 | цена по запросу | |||
| 24 | шайба | 6 | цена по запросу | |||
| 25 | гайка | 3 | 560 руб. | |||
| 26 | Кронштейн крышки маховика | 1 | 7250 руб. | |||
| 27 | винт (0.250-20 x 0.750) | 2 | 120 руб. | |||
| 28 | END CAP ASSEMBLY (LOWER) | 1 | 35600 руб. | |||
| 29 | уплотнительное кольцо (3.237 x 0.103) | 1 | 510 руб. | |||
| 29 | уплотнительное кольцо (3.489 x .070) | 1 | (3-1/2" I.D.) | 370 руб. | ||
| 30 | Уплотнение | 2 | 2490 руб. | |||
| 31 | винт (0.250-20 x 0.750) | 4 | 220 руб. | |||
| 32 | стопорная шайба (0.250), нержавеющая сталь | 4 | 90 руб. | |||
| 33 | винт (0.250-20 x 2.125) | 1 | 400 руб. | |||
| 34 | Гайка (0.250-20) | 1 | 240 руб. | |||
| 35 | нейлоновая крышка | 1 | 500 руб. | |||
| 36 | пробка картера (.250-18) | 1 | (NON OIL INJECTION) | цена по запросу | ||
| 37 | пробка | 1 | (NON OIL INJECTION) | 1680 руб. | ||
| 38 | уплотнительное кольцо пробки картера (.489 x .070) | 1 | (NON OIL INJECTION) | 210 руб. | ||
| 39 | винт крепления пробки к картеру (#10-32 x .440) | 2 | (NON OIL INJECTION) | 120 руб. | ||
| - | больше не поставляется, набор прокладок | 1 | (Service Bulletin 81-8) SN# ME-5855776/MA-6038680 & Below | |||
| - | Набор прокладок | 1 | SN# ME-6042946/MA-6038681 & Up | цена по запросу | ||
| - | Набор прокладок | 1 | SN# 5866777 THRU 6042945 | снято с производства | ||
| - | силовая головка в сборе | 1 | SN# ME-6042945/MA-6038680 & Below | снято с производства | ||
| - | силовая головка в сборе | 1 | SN# ME-6042946/MA-6038681 & Up | снято с производства | ||
| - | ограничитель | 2 | 360 руб. | |||
| 1 | Art.: 858-8133A3 Блок цилиндров (SN# ME-6042945/MA-6038680 & Below)Деталей в узле: 1 снято с производства 1 | Art.: Блок цилиндров (SN# ME-6042946/MA-6038681 & Up)Деталей в узле: 1 снято с производства 2 | Art.: 16-76175 шпилька (1 7/8") Деталей в узле: 6 3 | шпилька ((5-1/2"))Деталей в узле: 2 3 | шпилька ((6-3/4"))Деталей в узле: 2 цена по запросу 4 | Art.: посадочный штифт Деталей в узле: 2 цена по запросу 5 | Art.: стержень обоймы подшипника Деталей в узле: 2 6 | Art.: 27-11338 Прокладка Деталей в узле: 2 7 | крышка стартера верхняя Деталей в узле: 1 цена по запросу
8 | Art.: 10-73657 винт (.312-18 x 1.50) Деталей в узле: 2 9 | Art.: 13-26993 Стопорная шайба (0.312) Деталей в узле: 4 цена по запросу
10 | Art.: 76867 крышка стартера нижняя Деталей в узле: 1 11 | Art.: винт (.312-18 x 2) Деталей в узле: 2 11A | Art.: 23-99448 вкладыш Деталей в узле: 1 12 | Art.: 10-66717 винт крепления картера к блоку цилиндров (.375-16 x 3.250) Деталей в узле: 8 12 | Art.: 10-74824 винт крепления картера к блоку цилиндров (.312-18 x 1.250) Деталей в узле: 6 13 | Art.: END CAP ASSEMBLY (UPPER) Деталей в узле: 1 14 | Art.: 25-67206 уплотнительное кольцо ((2.99 O.D.))Деталей в узле: 1 14 | Art.: 25-54029 уплотнительное кольцо (2.800 x 0.103) ((2.80 O.D.))Деталей в узле: 1 15 | Art.: роликовый подшипник Деталей в узле: 1 16 | Art.: 26-41953 Уплотнение Деталей в узле: 1 17 | Art.: винт и стопорная шайба (.312-18 x 1.00) Деталей в узле: 4 цена по запросу 18 | Art.: 10-24220 винт (.190-24 x .190) Деталей в узле: 2 снято с производства 19 | Art.: 22-38407 PLUG, (.500-14) (WATER JACKET) Деталей в узле: 1 20 | Art.: шпилька (1 7/8") Деталей в узле: 1 цена по запросу 21 | Art.: шпилька (1") Деталей в узле: 2 цена по запросу 22 | Art.: 23-67269 проставка Деталей в узле: 1 23 | Art.: шайба Деталей в узле: 6 цена по запросу 24 | Art.: 12-22887 шайба Деталей в узле: 6 цена по запросу
25 | Art.: гайка Деталей в узле: 3 26 | Art.: Кронштейн крышки маховика Деталей в узле: 1 27 | Art.: 10-49668 винт (0.250-20 x 0.750) Деталей в узле: 2 28 | Art.: END CAP ASSEMBLY (LOWER) Деталей в узле: 1 29 | Art.: 25-62700 уплотнительное кольцо (3.237 x 0.103) Деталей в узле: 1 29 | Art.: 25-67207 уплотнительное кольцо (3.489 x .070) ((3-1/2" I.D.))Деталей в узле: 1 30 | Art.: 26-41953 Уплотнение Деталей в узле: 2 31 | Art.: 10-28636 винт (0.250-20 x 0.750) Деталей в узле: 4 32 | Art.: 13-26992 стопорная шайба (0.250), нержавеющая сталь Деталей в узле: 4 33 | Art.: 10-64022 винт (0.250-20 x 2.125) Деталей в узле: 1 34 | Art.: 11-64015 Гайка (0.250-20) Деталей в узле: 1 35 | Art.: 26852 нейлоновая крышка Деталей в узле: 1 36 | Art.: 22-73379 пробка картера (.250-18) ((NON OIL INJECTION))Деталей в узле: 1 цена по запросу
37 | Art.: пробка ((NON OIL INJECTION))Деталей в узле: 1 38 | Art.: 25-32509 уплотнительное кольцо пробки картера (.489 x .070) ((NON OIL INJECTION))Деталей в узле: 1 39 | Art.: 10-41506 винт крепления пробки к картеру (#10-32 x .440) ((NON OIL INJECTION))Деталей в узле: 2 - | Art.: -NLA больше не поставляется, набор прокладок ((Service Bulletin 81-8) SN# ME-5855776/MA-6038680 & Below)Деталей в узле: 1 - | Art.: 27-90484A88 Набор прокладок (SN# ME-6042946/MA-6038681 & Up)Деталей в узле: 1 цена по запросу
- | Art.: 27-79583A81 Набор прокладок (SN# 5866777 THRU 6042945)Деталей в узле: 1 |
